Система электропитания привязанного беспилотного летательного аппарата
- Авторы: Буркин Е.Ю.1, Свиридов В.В.1, Бомбизов А.А.1
-
Учреждения:
- Томский государственный университет систем управления и радиоэлектроники
- Выпуск: № 1 (2024)
- Страницы: 50-56
- Раздел: ЭЛЕКТРОНИКА И РАДИОТЕХНИКА
- URL: https://ogarev-online.ru/0032-8162/article/view/263940
- DOI: https://doi.org/10.31857/S0032816224010078
- EDN: https://elibrary.ru/fzlswv
- ID: 263940
Цитировать
Полный текст
Аннотация
Описана система электропитания беспилотного летательного аппарата (БПЛА) на основе кабельного соединения с первичным, расположенным на поверхности земли источником электрической энергии. Наземный источник питания от стандартной трехфазной сети формирует гальванически изолированное постоянное выходное напряжение, изменяющееся в диапазоне 350–435 В, со средней электрической мощностью до 10 кВт. Использована схема на основе импульсного стабилизатора тока понижающего типа с последующим звеном инвертора тока, согласующего трансформатора и выпрямителя. Напряжение наземного источника питания поступает по кабель-тросу на БПЛА. Источник питания БПЛА обеспечивает выходное напряжение 48±2 В и выходной ток до 135 А. Представлены экспериментальные данные работы системы на эквивалент нагрузки и БПЛА.
Полный текст
1. ВВЕДЕНИЕ
Существуют задачи, связанные с наблюдением и осуществлением связи в труднодоступной или удаленной местности. Одним из возможных решений подобных задач является использование беспилотных летательных аппаратов в качестве носителей необходимой сенсорной аппаратуры. Для увеличения времени автономной работы используются различные подходы. Один из них заключается в использовании специальных наземных автоматических базовых станций, в которых без участия человека производится смена аккумулятора БПЛА и осуществляется непрерывный заряд аккумуляторов, предназначенных для замены. Количество аккумуляторов в системе базовой зарядной станции определяется равенством средней энергии, расходуемой летательным аппаратом, и допустимой энергии заряда аккумулятора (по сути, отношением отбираемого и зарядного токов) [1, 2]. Второй подход заключается в использовании беспроводной зарядки с помощью лазерного пучка [3, 4]. В этом случае БПЛА должен постоянно находиться или периодически появляться в зоне действия лазерного излучения. Третий подход заключается в использовании так называемых привязанных БПЛА. Энергия поступает на аппарат от источника электропитания, расположенного на земле, при помощи электрического или оптического кабеля. Конечная длина кабель-троса вносит ограничения на области использования такой системы. Частичное решение этой проблемы заключается в использовании мобильного наземного источника электропитания, расположенного на автомобиле или корабле [5, 6].
Предлагаемая система электропитания относится к последнему типу и предназначена для питания привязанного БПЛА по электрическому кабель-тросу длиной до 200 м от наземного дизель-генератора.
2. СТРУКТУРНАЯ СХЕМА
Структурная схема блока питания показана на рис. 1. Вся система питается от стандартной трехфазной сети напряжением 380 В частотой 50 Гц. В мобильном исполнении сетевое напряжение формируется от вспомогательного дизель-генератора. Входное сетевое напряжение через входную коммутационную и защитную аппаратуру, а также входной фильтр, подавляющий помехи, поступает на модуль трехфазного мостового выпрямителя и далее на выходной Г-образный LC-фильтр. Практически постоянное нестабилизированное напряжение на выходе фильтра порядка 500 В поступает на стабилизатор тока (СТ) на основе транзисторного ключа и реактора L1, который обеспечивает стабилизацию и регулировку тока , поступающего на вход мостового инвертора тока (ИнТ). Величина этого тока определяет значение выходного напряжения, прикладываемого к нагрузке в виде кабель-троса и источника питания БПЛА. Инвертор тока работает с коэффициентом заполнения, равным 0.5, не участвуя в процессе регулирования и стабилизации выходного напряжения. Его функция заключается в формировании переменного тока для обеспечения трансформаторной развязки и согласования уровня выходного напряжения с уровнем входного. Таким образом, переменный ток инвертора поступает на первичную обмотку согласующего трансформатора (ТV), который обеспечивает также гальваническую развязку выходной цепи от питающей сети. Для формирования постоянного выходного напряжения используется блок В2-Сф на основе мостового выпрямителя В2 и емкостного фильтра Сф. Отсутствие выходного дросселя ограничивает выброс напряжения на выходных диодах, вызванный энергией индуктивности рассеяния трансформатора на уровне текущего выходного напряжения. Выходное напряжение наземного блока Uвых поступает через кабель-трос длиной 200 м на вход источника питания БПЛА, который представляет собой шестифазный преобразователь постоянного напряжения (ППН). Источник питания БПЛА формирует выходное стабилизированное напряжение 48 В с током нагрузки до 135 А для питания электроприводов и системы управления БПЛА.
Рис. 1. Основные структурные компоненты системы электропитания привязанного БПЛА.
Основу наземного блока составляют силовые транзисторные модули, которые управляются с помощью специализированных схем формирователей импульса. Для защиты силового транзистора стабилизатора тока от перенапряжения используется пассивная защитная RCD-цепь. Для ограничения пусковых токов в момент включения применяется вспомогательная схема предварительного заряда фильтрового конденсатора. Питание системы управления и других низковольтных вспомогательных систем осуществляется сетевым вспомогательным источником питания (ВИП).
Регулирование и стабилизация напряжения на выходе источника питания осуществляются по сигналам обратной связи Uо и Iо, величины которых пропорциональны выходному напряжению и току. Эти сигналы формируются с помощью блока измерения (БИ). Также используется сигнал обратной связи по току реактора , который поступает на систему управления (СУ) с датчика тока на эффекте Холла. Реализован подчиненный принцип управления, где в качестве внутренней координаты используется ток реактора , а в качестве внешней координаты – выходное напряжение. Для уменьшения массогабаритных параметров преобразователя постоянного напряжения, расположенного на БПЛА, необходимо поддерживать напряжение на входе ППН на постоянном уровне. Для этой цели в контур стабилизации выходного напряжения наземного преобразователя введен блок компенсации падения напряжения на кабель-тросе.
3. СОСТАВНЫЕ ЧАСТИ ИСТОЧНИКА ПИТАНИЯ
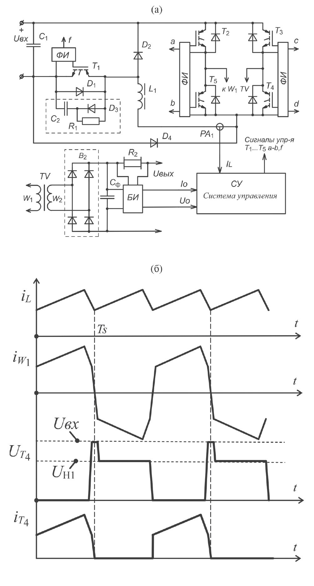
Принципиальная схема силовой части наземного источника питания и диаграммы тока и напряжения в ключевых точках показаны на рис. 2. Принцип действия входных цепей, формирующих нестабилизированную шину постоянного тока, известен, поэтому на рисунке эти цепи не изображены. Стабилизатор тока СТ выполнен по схеме понижающего преобразователя постоянного напряжения. Основные элементы: силовой транзистор Т1, диод обратного тока D2 и выходной реактор L1. Частота переключения транзистора T1 в два раза выше частоты работы транзисторов инвертора тока и составляет 32 кГц. Управление транзистором T1 осуществляется с помощью формирователя импульса ФИ по сигналу управления f, формируемому блоком системы управления. Основой ФИ является специализированная микросхема TLP250 (по такой же схеме сделаны ФИ управления транзисторами инвертора T2–T4). Мостовой инвертор тока, собранный на транзисторах T2–T4, работает на фиксированной частоте 16 кГц с максимальным коэффициентом заполнения, равным практически 0.5, ограниченным только паузой между переключением транзисторов инвертора (пары транзисторов T2, T5 и T3, T4). Во время паузы (160 нc) происходит заряд собственных емкостей транзисторов током дросселя СТ. Когда напряжение на транзисторах инвертора возрастает до величины, превышающей входное напряжение Uвх, открывается диод D4. В результате ток дросселя замыкается через открытый вентиль и источник питания, ограничивая величину напряжения на транзисторах инвертора на уровне напряжения Uвх (500 В). В момент окончания паузы происходит включение транзисторов другой диагонали моста, при этом напряжение на транзисторах практически равно нулю, и включение происходит с низким уровнем потерь. Низкое напряжение на транзисторах объясняется тем фактом, что в момент выключения транзисторов направление протекания тока первичной обмотки трансформатора таково, что во время паузы он заряжает емкости выключившихся транзисторов и разряжает емкости готовых к включению транзисторов. Необходимо учитывать также, что ток в первичной обмотке трансформатора не может измениться мгновенно в силу наличия индуктивности рассеяния. Управление транзисторами инвертора и стабилизатора тока синхронизировано таким образом, чтобы коммутация транзисторов инвертора происходила в точке минимума тока дросселя L1. Такой режим работы позволяет дополнительно снизить коммутационные потери в транзисторах инвертора тока (рис. 2б). Диод D3, резистор R1 и конденсатор C2 образуют схему снижения динамических потерь в транзисторе T1, а также защищают от перенапряжения при выключении.
Рис. 2. Принципиальная схема (а) и диаграммы работы (б) наземного источника питания: T1 – транзисторы, D2 – SKM100GAL12T4, Т2–Т5 – 2MBI75N-120, D4 – HFA90FA120, L1 = 0.45 мГн (Magnetics – 77715, 4 шт., W = 21), PA1 – CSNR161, TV – 4 сердечника R100-60-15 PC40, W1 = 37, W2 = 34, литцендрат – ЛЭЛО 075-0.071, В2 – IDH16G65CG, Сф – два последовательных конденсатора 450В – 1000 мкФ, R2 = 0.003 Ом.
Структурная схема системы управления показана на рис. 3. Основой является процессорное устройство, выполненное на цифровом сигнальном процессоре (ЦСП) TMS320F2808. Сигналы обратной связи по выходному напряжению (Uо), выходному току (Iо) и току дросселя импульсного стабилизатора тока (IL) поступают на систему управления с соответствующих измерительных устройств. Измерения выходного напряжения и тока осуществляются с помощью резистивного делителя и шунта. Выходные сигналы поступают на систему управления через изолирующий усилитель, выполненный на основе микросхемы HCPL788J. После входного фильтра эти сигналы поступают на аналого-цифровой преобразователь (АЦП) и блок защиты. В основной части программы обрабатываются сигналы с АЦП, и алгоритм управления формирует вспомогательные сигналы для аналогового регулятора и выходного усилителя. Также ЦСП обеспечивает интерфейс с внешним контроллером и индикатором.
Рис. 3. Структурная схема контура регулирования системы управления.
Контур стабилизации выходного напряжения реализован в виде двухкаскадного цифро-аналогового регулятора, работающего по подчиненному принципу с дополнительным блоком компенсации падения напряжения на кабель-тросе. Внешней, более медленной переменной выступает сигнал выходного напряжения Uо. Этот сигнал поступает на плату управления и после входной фильтрации на аналого-цифровой преобразователь сигнального процессора. Оцифрованный сигнал служит информационным потоком данных (отсчетов) для выполнения целого ряда функций, но в первую очередь это сигнал обратной связи для первого каскада регулятора выходного напряжения. Этот каскад выполнен в виде пропорционально-интегрального звена с интегрированием по методу трапеций G2(z). Сформированный цифровой сигнал управления поступает на цифро-аналоговый преобразователь, тем самым формируя аналоговый сигнал, являющийся опорным для второго каскада управления G1(s). Здесь в качестве сигналов обратной связи выступает сигнал, полученный с датчика тока, включенного в последовательную цепь с дросселем импульсного стабилизатора тока. Быстродействие этого каскада выше, чем у цифрового канала регулирования, и он выполнен в виде инерционно-форсирующего звена первого порядка на операционном усилителе. В качестве сигнала развертки используется сигнал с генератора пилообразных колебаний, который синхронизируется сигналами, поступающими с процессора. Для компенсации падения напряжения на кабель-тросе к основному опорному напряжению добавляется смещение. Сигнал с датчика выходного тока Io фильтруется с помощью передаточного звена первого порядка G1(z) и умножается на коэффициент Rc, который является сопротивлением кабеля. Таким образом, добавочное смещение опорного напряжения пропорционально падению напряжения на кабеле.
Питание системы управления осуществляется от вспомогательного гальванически развязанного блока питания, расположенного на плате управления. Логические сигналы управления инвертором формируются непосредственно сигнальным процессором (ШИМ1), в то время как сигнал управления стабилизатором тока формируется внешним модулятором (ШИМ2). Сигналы управления через буферную схему поступают через формирователи импульсов управления на транзисторы силовой части.
4. РЕЗУЛЬТАТЫ
Конструктивно система электропитания БПЛА размещается в двух блоках на рис. 4. В первом из них располагается наземный источник постоянного напряжения с функцией компенсации падения напряжения на кабель-тросе. Габариты блока – 600×440×180 мм3. Во втором блоке располагается понижающий преобразователь постоянного напряжения, формирующий силовую шину напряжением 48 В. Габариты блока 350×240×60 мм3. Масса блока 2 кг.
Рис. 4. Внешний вид наземного блока питания (1) и преобразователя постоянного напряжения БПЛА (2).
Система электропитания привязанного БПЛА была испытана при работе на эквивалент нагрузки и кабеля. На рис. 5–7 представлены кривые напряжения и тока в ключевых точках схемы.
Рис. 5. Осциллограммы напряжения на транзисторе стабилизатора тока T1 (верхняя кривая, 200 В/дел) и тока дросселя IL1 (нижняя кривая, 9.8 А/дел), 5 мкс/дел (а), тока первичной обмотки трансформатора (верхняя кривая, 18.5 А/дел) и тока дросселя IL1 (нижняя кривая, 9.8 А/дел), 10 мкс/дел (б).
Рис. 6. Осциллограммы напряжения на транзисторе инвертора тока T2 (верхняя кривая, 200 В/дел) и тока первичной обмотки трансформатора (нижняя кривая, 18.5 А/дел), 10 мкс/дел (а), те же осциллограммы с временной разверткой 1 мкс/дел (б).
Рис. 7. Осциллограммы напряжения на диоде выходного выпрямителя В2 (верхняя кривая, 200 В/дел) и тока первичной обмотки трансформатора (нижняя кривая, 18.5 А/дел), 10 мкс/дел (а), те же осциллограммы с временной разверткой 1 мкс/дел (б).
Из осциллограммы рис. 5а следует, что в момент выключения ток дросселя составляет Imax = 20 A. При этом за счет работы демпфирующей цепи и компактной конструкции длительность нарастающего фронта напряжения на транзисторе не превышает 1 мкс, а коммутационный выброс напряжения меньше 40 В. Такое решение обеспечивает надежную работу стабилизатора тока — как в номинальном режиме на частоте 32 кГц, так и в аварийном режиме при превышении максимального значения тока дросселя, составляющего 30 А. На осциллограмме рис. 5б показаны кривые токов дросселя и первичной обмотки трансформатора. Видно, что ток дросселя повторяет в каждый момент времени ток трансформатора, коммутация тока первичной обмотки происходит вблизи минимума тока дросселя, снижая уровень коммутационных потерь. Время перехода составляет примерно 0.5 мкс, что хорошо показано на осциллограмме напряжения на транзисторе инвертора (рис. 6). Можно наблюдать, что в течение статической фазы напряжение на транзисторе практически постоянно и равно текущему напряжению на нагрузке, пересчитанному в первичную цепь (коэффициент трансформации примерно равен 0.92), UTст = 410 В. В процессе выключения транзисторов на них наблюдается выброс напряжения, который ограничен значением напряжения Uвх в результате использования диода D4. Длительность выброса составляет 0.5 мкс.
Схема является источником тока, поэтому на выходе в качестве фильтра допускается устанавливать чисто емкостной фильтр. При этом не возникает неконтролируемого возрастания токов в элементах схемы. Также такое построение выходной части фиксирует напряжение на выходных диодах, не позволяя возникать выбросам напряжения, обусловленным энергией индуктивности рассеяния трансформатора. Осциллограмма напряжения на диоде выходного моста показана на рис. 7. Видно, что величина выброса напряжения не превышает 50 В.
5. ЗАКЛЮЧЕНИЕ
Разработана система электропитания привязанного БПЛА, состоящая из наземного блока питания, располагающегося на базовой станции, соединительного кабель-троса и источника питания БПЛА. Номинальная выходная мощность по шине с напряжением 48 В составляет 6.5 кВт. Блоки питания системы работают при принудительном воздушном охлаждении.
Примененное в работе схемное решение является простым и надежным. Заметим, что предложенное решение обеспечивает работу транзисторов и диодов силовой части с естественным ограничением выброса на них в широком диапазоне коммутируемых токов, что определяет повышенную надежность всей схемы. Также токовый режим работы исключает аварийность насыщения силового трансформатора в динамических режимах регулирования.
Полученные результаты могут быть успешно применены при создании, в том числе и более мощных систем электропитания привязанных БПЛА, также их можно использовать в других областях преобразовательной техники.
ФИНАНСИРОВАНИЕ РАБОТЫ
Работа выполнена при поддержке Министерства науки и высшего образования Российской Федерации (соглашение № 075-11-2021-035 от 24 июня 2021 г.).
Об авторах
Е. Ю. Буркин
Томский государственный университет систем управления и радиоэлектроники
Автор, ответственный за переписку.
Email: burkin@mail.ru
Россия, 634050, Томск, пр. Ленина, 40
В. В. Свиридов
Томский государственный университет систем управления и радиоэлектроники
Email: burkin@mail.ru
Россия, 634050, Томск, пр. Ленина, 40
А. А. Бомбизов
Томский государственный университет систем управления и радиоэлектроники
Email: burkin@mail.ru
Россия, 634050, Томск, пр. Ленина, 40
Список литературы
- Lee D., Zhou J., Lin W.T. // Conference on Unmanned Aircraft Systems (ICUAS). Denver, CO, USA, 2015. P. 118. http://doi.org/10.1109/ICUAS.2015.7152282.
- Boukoberine M.N., Zhou Z., Benbouzid M. // IECON 2019 – 45th Annual Conference of the IEEE Industrial Electronics Society. Lisbon, Portugal, 2019. P. 5826. http://doi.org/10.1109/IECON.2019.8927702
- Ouyang J., Che Y., Xu J., Wu K. // 2018 IEEE International Conference on Communications Workshops (ICC Workshops). Kansas City, MO, USA, 2018. P. 1. http://doi.org/10.1109/ICCW.2018.8403572
- Achtelik M.C., Stumpf J., D.Gurdan Doth K.-M. // 2011 IEEE/RSJ International Conference on Intelligent Robots and Systems. San Francisco, CA, USA, 2011. P. 5166. http://doi.org/10.1109/IROS.2011.6094731
- Muttin F. // Applied Ocean Research. 2011. V. 33. Iss. 4. P. 332. http://doi.org/10.1016/j.apor.2011.06.004
- Beom W. Gu, Su Y. Choi, Young Soo Choi, Guowei Cai, Lakmal Seneviratne, Chun T. Rim. // Nuclear Engineering and Technology. 2016. V. 48. Iss. 4. P. 982. ISSN 1738-5733. http://doi.org/10.1016/j.net.2016.02.014
Дополнительные файлы









