Interaction of Humic Acids with Naphthalene
- 作者: Yudina N.V.1, Petrenko T.V.1
-
隶属关系:
- Institute of Petroleum Chemistry, Siberian Branch of the Russian Academy of Sciences
- 期: 编号 2 (2024)
- 页面: 62-67
- 栏目: Articles
- URL: https://ogarev-online.ru/0023-1177/article/view/265449
- DOI: https://doi.org/10.31857/S0023117724020105
- EDN: https://elibrary.ru/OLQSOS
- ID: 265449
如何引用文章
全文:
详细
The interaction of humic acids (HA) isolated from oxidized brown coal with the polyaromatic hydrocarbon naphthalene has been studied. The electron-donating properties of HA were evaluated by the intensity of electronic transitions in the UV region and the calculated descriptors. The modification of the HA structure was carried out by the method of mechanical activation (MA) under alkaline and oxidative conditions. A significant increase in the proportion of aromatic and oxidized fragments in the HA structure after MA under oxidative conditions increased the intensity of binding of HA to naphthalene. A significant increase in the adsorption capacity of mechanoactivated HA in a dispersive aqueous medium with naphthalene has been shown.
全文:
ВВЕДЕНИЕ
Гуминовые кислоты (ГК) торфов, углей и почв проявляют сорбционные и детоксицирующие свойства по отношению к полиароматическим углеводородам (ПАУ) [1–3], биоцидам [4, 5] и тяжелым металлам [6–8]. Донорно-акцепторные и гидрофобные взаимодействия ГК с органическими соединениями и ионами металлов определяют формы существования различных экотоксикантов в водной и почвенной среде. По современным представлениям, взаимодействие между молекулами ГК и ПАУ обусловлено перекрыванием электронов ароматических колец в структуре этих веществ, π-π-сопряжением, которое не исключает, однако, образование комплексов с переносом заряда [9]. Степень связывания ПАУ с ГК тем выше, чем больше гидрофобность ПАУ. Также возможно дополнительное возникновение водородных связей между молекулами ПАУ и кислородом карбоксильных групп ГК.
Большинство исследований по взаимодействию ГК с ПАУ проводили с помощью метода тушения флуоресценции и определения константы связывания Кос путем измерения концентрации свободной и связанной форм ПАУ [10, 11]. При этом флуоресценция ПАУ тушится не полностью, определяемые Koc с использованием уравнения Штерна–Фольмера недооценивают реальное количество связанного углеводорода [1].
Гуминовые вещества, по мнению авторов работ [12, 13], представляют собой неупорядоченную систему, состоящую из цепочки взаимодействующих хромофоров/флуорофоров с переносом заряда в основном состоянии. Реакционную способность ГК и их взаимодействие с другими веществами можно оценивать в УФ- и видимой части электронных спектров поглощения [14]. Кривые поглощения характеризуют легкость перехода электронов электроноизбыточных атомных группировок в молекулах ГК. Поэтому существует взаимосвязь между оптическими характеристиками ГК и их строением.
Цель работы – установить взаимосвязь между структурой ГК, их оптическими свойствами и взаимодействием с нафталином.
ЭКСПЕРИМЕНТАЛЬНАЯ ЧАСТЬ
Объект исследования – гуминовые кислоты, выделенные из окисленного бурого угля месторождения Чуй-Кэнул (Китай). Уголь предварительно измельчался в дезинтеграторе Nossen 8255 до размера частиц 1–3 мм (частота вращения измельчающих частей 3000 об./мин). Механоактивацию (МА) угля проводили в мельнице планетарного типа АГО-2 в присутствии 8 мас. % NaOH (ГК1) и 5% NaOH, 3 % Na4P2O7, 3% Na2CO3∙1.5H2O2 (ГК2): частота вращения барабанов – 1820 об./мин, центробежное ускорение – 600 м/с2, время – 2 мин. Гуминовые кислоты выделяли из угля 0.1 н. NaOH при температуре 20°С и перемешивании в течение 1 ч.
Для исследования взаимодействия нафталина (Н) с ГК были приготовлены их растворы. Навеску ГК растворяли в 0.1 н NaOH. 2 мл полученного раствора переносили в мерный стакан объемом 50 мл, разбавляли бидистиллированной водой и подкисляли раствор 0.1 н HCl на рН-метре Мультитест ИПЛ-103 до значений рН 6.5. Нафталин растворяли в бидистиллированной воде путем выдерживания в ультразвуковой ванне в течение 30 мин, а затем в темноте при комнатной температуре в течение 1 сут. Насыщенные растворы нафталина были отфильтрованы и разбавлены бидистиллированной водой. На основании анализа литературных данных производился выбор концентраций ГК и нафталина. Концентрация ГК должна быть ниже критической концентрации мицеллообразования. В первой серии экспериментов концентрации составляли: нафталин Н – 1.5 × 10–5 моль/л, ГК1, ГК11, ГК21 – 0.025 г/л. Во второй серии экспериментов: Н – 1.5 × 10–5 моль/л, ГК2, ГК12, ГК22 – 0.035 г/л. Спектры поглощения снимали на спектрофотометре Uvikon 943 в области 200–700 нм.
Фрагментный состав ГК получен методом ЯМР13С-спектрометрии на радиоспектрометре Bruker 300 (Германия) при рабочей частоте 100 МГц с использованием методики Фурье-преобразования с накоплением. Ширина развертки спектра составляла около 26000 Гц, время регистрации сигнала спада свободной индукции (ССИ) – 0.6 с, интервал между импульсами (Td) 8 с при ширине импульса – 90°, длительность накопления спектра – 24 ч. Навеску препарата 50–70 мг растворяли в 0.7 см3 0.5 н NaOD.
Для анализа сорбционной способности ГК использовали образцы порошков, размеры частиц которых составляли 80–100 мкм. В качестве адсорбата применяли водный нафталина. Растворы нафталина готовили разведением. Раствор нафталина и частицы ГК перемешивали 2 ч. Гетерогенное равновесие в системе устанавливалось в течение 24 ч в термостате при температуре 20°С. После этого центрифугированием из раствора нафталина отделяли частицы ГК. Спектры поглощения регистрировали на спектрофотометре Uvikon 943. Оптическую плотность раствора нафталина определяли при длине волны 214 нм. Величину адсорбции АС (мг/г) рассчитывали по формуле:
,
где D0 – оптическая плотность раствора нафталина; D – оптическая плотность испытуемого раствора нафталина; С1 – концентрация раствора нафталина, мг/мл; С – навеска ГК, г; V – объем раствора нафталина, мл.
РЕЗУЛЬТАТЫ И ОБСУЖДЕНИЕ
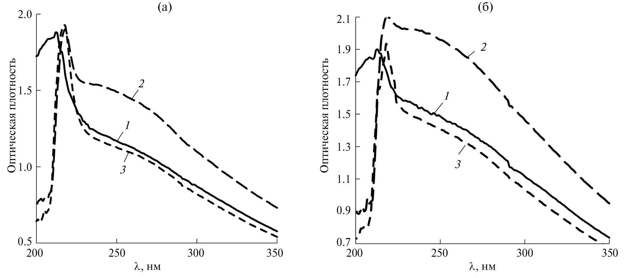
На рис. 1 и 2 приведены электронные спектры нафталина и гуминовых кислот, выделенных из необработанного (ГК) и механоактивированных углей (ГК1 и ГК2). Значения длин волн, с максимумами поглощения в УФ-спектре нафталина, соответствуют 214, 266, 274, 282 нм (рис. 1, а).
Рис. 1. Спектры поглощения: (а) нафталин; (б) 1 – ГК, 2 – ГК1, 3 – ГК2
Рис. 2. Спектры поглощения: (а) 1 – ГК1Н, 2 – ГК11Н, 3 – ГК21Н; (б) 2 – ГК2Н, 2 – ГК12Н, 3 – ГК22Н
В спектрах поглощения ГК наблюдаются три характерные области: коротковолновая область 200–240 нм, характеризуемая резким ростом оптической плотности; область с характеристической полосой в районе 260–280 нм и дескриптором E250/E365; область длинноволновой части спектра 465 и 665 нм, характеризуемая дескриптором Е4/Е6 (рис. 1, б). Согласно современным представлениям о механизме формирования спектров поглощения гуминовых кислот, длинноволновая часть полосы связана с межмолекулярным взаимодействием между хромофорами, в частности, переносом электрона. Замена одного из С-атомов С=С связи на гетероатомы, имеющие неподеленные пары электронов, вызывает смещение полосы поглощения, обусловленной π-π* переходами. В спектре поглощения ГК2 возрастает интенсивность полосы в области 220–280 нм по сравнению со спектрами ГК и ГК1 (рис. 1, б). Судя по форме спектральной кривой ГК2, выделенных из угля после МО с реагентами (5% NaOH, 3% Na4P2O7, 3% Na2CO3∙1.5H2O2), увеличение интенсивности в указанной области связано с электронными переходами n-электронов неподеленных электронных пар, принадлежащих гетероатомам. Поскольку изменений в области π-π* переходов не наблюдалось, можно предположить, что в молекулах ГК2 происходило замещение функциональных групп в боковых цепях.
При добавке нафталина в концентрации Н – 1.5 × 10–5 моль/л в раствор ГК1, ГК11, ГК21 с концентрацией 0.025 г/л в спектрах отмечается батохромный сдвиг полосы в области 200–220 нм и увеличение интенсивности полосы в области 220–280 нм (рис. 2, а). Длина волны полосы и ее интенсивность возрастают по мере увеличения числа сопряженных групп. Изменение спектра поглощения гуминовых кислот в присутствии нафталина Н указывает на то, что, возможно, между ними образуется комплекс.
Увеличение концентрации ГК2, ГК12, ГК22 до 0.035 г/л при неизменной концентрации в растворах нафталина Н 1.5 × 10–5 моль/л приводит в спектрах поглощения к батохромному сдвигу полосы в области 200–220 нм (рис. 2, б). Однако в спектрах не происходит увеличение интенсивности полосы в области 220–280 нм. Известно [15], что при повышении концентрации гуминовых кислот в растворе образуются более крупные агрегаты, затрудняющие доступ молекул нафталина к ароматическим фрагментам ГК, проявляющим активность до критической концентрации мицеллообразования.
Существуют разные точки зрения на механизм связывания ГК и полиароматических углеводородов. Связывание ГК и ПАУ может быть следствием гидрофобного или донорно-акцепторного взаимодействия с образованием комплексов с переносом заряда. В таких комплексах донорами выступают электронно-обогащенные π-системы ПАУ, в качестве акцепторных центров служат карбоксилзамещенные ароматические кольца ГК. Величина оптических дескрипторов характеризует особенности углеродного строения молекул ГК [16–18]. Изменение величин E253/E220 и SUVA280, SUVA254 указывает на увеличение степени замещения полярными функциональными группами в ароматических фрагментах в структуре ГК. Величина E4/E6 коррелирует с такими структурными характеристиками ГК, как содержание карбоксильных групп и степень окисленности. В связи с достаточно низким значением показателя поглощения при длине 665 нм данный дескриптор не использовали. Высокие значения Е253/Е220 являются индикатором присутствия кислородсодержащих функциональных групп (гидроксильных, карбонильных, карбоксильных и эфирных) в ароматических кольцах.
На рис. 1, б приведены спектры поглощения ГК и ГК1, их оптические дескрипторы идентичны (табл. 1). Существенные изменения произошли в состоянии электронной системы молекул ГК2, связанных с повышением электронной плотности в области 250–365 нм (рис. 1, б). Об этом также свидетельствует увеличение значений дескрипторов, отражающих степень замещения полярными функциональными группами в структуре гуминовых кислот (табл. 1).
Таблица 1. Значения оптических дескрипторов гуматов, рассчитанных из спектров поглощения
Образец | SUVA254, л/мгС см | SUVA280, л/мгС см | E250/E365 | Е253/Е220 |
ГК | 0.046 | 0.042 | 2.34 | 0.81 |
ГК1 | 0.044 | 0.039 | 2.35 | 0.80 |
ГК2 | 0.055 | 0,048 | 2.39 | 0.86 |
ГК1Н | 0.048 | 0.040 | 2.39 | 0.84 |
ГК11Н | 0.047 | 0.040 | 2.37 | 0.82 |
ГК21Н | 0.059 | 0.052 | 2.41 | 0.93 |
ГК2Н | 0.041 | 0.040 | 2.23 | 0.65 |
ГК12Н | 0.047 | 0.041 | 2.04 | 0.63 |
ГК22Н | 0.045 | 0.043 | 2.07 | 0.82 |
Характеристика образцов гуминовых кислот дана на основании результатов 13С ЯМР-спектроскопии. В образцах ГК1 и ГК2, выделенных из угля после МА, возросло содержание ароматических фрагментов СAr/CAlk, окисленных алкильных CAlk-O/CAlk и окисленных ароматических CAr-O/CAr фрагментов. В результате МА угля с комплексом реагентов происходит окислительно-восстановительный процесс, сопровождаемый увеличением в структуре ГК2 содержания кислых ионогенных групп. Восстановителем в данном процессе являются функциональные группы гуминовых кислот, в качестве окислителя при МО выступает кислород воздуха и Na2CO3∙1.5H2O2.
Значения дескрипторов для электронной системы гуминовых кислот после взаимодействия с нафталином приведены в табл. 1. Увеличение значений SUVA254 и SUVA280, E250/E365, Е253/Е220 для образцов ГК1Н, ГК11Н и ГК21Н, по сравнению с исходными образцами ГК, ГК1 и ГК2, характеризует повышение степени конденсированности ароматических фрагментов в образованном комплексе ГК-нафталин. При увеличении концентрации ГК2, ГК12 и постоянной концентрации нафталина значения дескрипторов SUVA254 и SUVA280 для образованных комплексов не изменяются по сравнению с исходными гуминовыми кислотами. При этом повышение интенсивности и батохромный сдвиг полосы в области 200–220 нм, уменьшение значений E250/E365, Е253/Е220 могут свидетельствовать о частичном связывании в системе ГК2Н, ГК12Н и ГК22Н.
Исследование поверхностных свойств гуминовых кислот проведено в дисперсионной водной среде с нафталином. Концентрацию нафталина варьировали в пределах 0.05–0.3 мг/мл. Навеска гуминовых кислот оставалась постоянной 0.1 г. На рис. 3 приведены изотермы адсорбции нафталина на частицах гуминовых кислот. Минимальная адсорбция 12.5 мг/г для ГК отмечается при концентрации нафталина 0.05 мг/мл. Предельная адсорбция 26 мг/г наступает при концентрации нафталина 0.15 мг/мл. При дальнейшем увеличении концентрации нафталина до 0.25 мг/мл адсорбция остается на прежнем уровне, происходит насыщение поверхности адсорбента-ГК молекулами адсорбата-нафталина.
Рис. 3. Изотермы адсорбции нафталина гуминовыми кислотами в дисперсионной водной среде: 1 – ГК, 2 – ГК1, 3 – ГК2
Для механоактивированных образцов ГК1 и ГК2 адсорбция нафталина возросла в 2 раза в исследуемом интервале концентраций по сравнению с адсорбцией на образце ГК и насыщение поверхности ГК1 и ГК2 в исследуемом интервале концентраций нафталина не происходит. Изотермы, особенно на начальном участке для ГК, хорошо описываются уравнением Люнгмюра, параметры которого получали линеаризацией экспериментальных данных в обратных координатах [19]. Для модели Лэнгмюра определены величины предельной адсорбции Гmax и константы адсорбционного равновесия К (табл. 2). Кривые изотерм сорбции механоактивированных образцов ГК1 и ГК2 характеризуются наибольшими значениями Гmax и меньшими значениями констант адсорбционного равновесия по сравнению с образцом ГК. Это приводит к выраженной линейности соответствующих изотерм (рис. 3). С увеличением значений СAr/CAlk в ряду ГК2 ˃ ГК1 ˃ ГК константы адсорбционного равновесия для них снижаются, Гmax – возрастает, что также подтверждается результатами работы [20].
Таблица 2. Распределение углерода в структуре гуминовых кислот по данным 13С ЯМР спектроскопии и параметры уравнения Лэнгмюра
Показатель | Образцы | ||
ГК | ГК1 | ГК2 | |
СAr/CAlk | 1.87 | 2.00 | 2.37 |
CAlk-O/CAlk | 0.67 | 0.78 | 0.92 |
CAr-O/CAr | 0.32 | 0.34 | 0.35 |
Уравнение Лэнгмюра | |||
Гmax, мг/г | 50.0 | 90.9 | 125.0 |
К × 103, л/мг | 6.7 | 3.7 | 4.0 |
ЗАКЛЮЧЕНИЕ
При изучении связывания ГК с нафталином использованы оптические дескрипторы E250/E365, Е253/Е220, увеличение значений которых в структуре механоактивированного образца ГК2 отражают степень замещения полярными функциональными группами, что подтверждается результатами 13С ЯМР-спектроскопии. В УФ-спектрах образцов гуминовых кислот с нафталином отмечается батохромный сдвиг полосы поглощения в области 200–220 нм и увеличение интенсивности полосы в области 220–280 нм, что свидетельствует об их связывании.
Изучение адсорбции нафталина гуминовыми кислотами в дисперсионной водной среде показало зависимость величины предельной адсорбции от состава и структуры гуминовых кислот.
ФИНАНСИРОВАНИЕ РАБОТЫ
Работа финансировалась за счет средств бюджета Федерального государственного бюджетного учреждения науки Института химии нефти Сибирского отделения Российской академии наук. Никаких дополнительных грантов на проведение или руководство данным конкретным исследованием получено не было.
КОНФЛИКТ ИНТЕРЕСОВ
Авторы данной работы заявляют, что у них нет конфликта интересов.
作者简介
N. Yudina
Institute of Petroleum Chemistry, Siberian Branch of the Russian Academy of Sciences
编辑信件的主要联系方式.
Email: natal@ipc.tsc.ru
俄罗斯联邦, Tomsk
T. Petrenko
Institute of Petroleum Chemistry, Siberian Branch of the Russian Academy of Sciences
Email: uvikon@ipc.tsc.ru
俄罗斯联邦, Tomsk
参考
- Shirshin E.A., Budylin G.S., Grechischeva N.Yu, Fadeev V.V., Perminova I.V. // Photochem. Photobiol. Sci. 2016. V. 15. P. 842. https://doi.org/10.1039/C6PP00052E
- Гречищева Н.Ю., Холодов В.А., Вахрушкина И.А., Мещеряков С.В., Перминова И.В. // Защита окружающей среды в нефтегазовом комплексе. 2012. №. 5. С. 21.
- Чайковская О.Н., Юдина Н.В., Мальцева Е.В., Нечаев Л.В., Светличный В.А. // Изв. высш. учеб. завед. Физика. 2016. № 4. С. 121.
- Kulikova N.A., Perminova I.V. // Environmental Science & Technology. 2002. V. 36. № 17. Р. 3720. https://doi.org/10.1021/es301843s
- Anisimova M.A., Perminova I.V., Lebedeva G.F. // Eurasian soil science. 1998. V. 31. № 9. Р. 973.
- Савельева А. В., Юдина Н.В., Березина Е. М., Петрова Е. В. // ХТТ. 2016. № 2. С. 10. https://doi.org:10.7868/S0023117716020109 [Solid Fuel Chemistry. 2016. V. 50. № 2. P. 76.].
- Мальцева Е.В., Юдина Н.В. // ХТТ. 2014. № 4. С. 27. https://doi.org/10.7868/S0023117714040082 [Solid Fuel Chemistry. 2014. V. 48. № 4. P. 239244.].
- Карабаев С.О., Гайнуллина И.П., Локшина И.М., Джунушалиева А.К., Лутовская С.В., Киреева Д.П. //Башкир. Хим. журнал. 2021. Т. 28. № 3. С. 97. https://doi.org/10.17122/bcj2021397103
- Мальцева Е.В., Иванов А.А., Юдина Н.В. // Журн. физ. хим. 2009. Т. 83. № 11. С. 2175.
- Backhus D.A., Golini C., Castellanos E. // Environ. Sci. Technol. 2003. V. 37. P. 4717. https://doi.org/10.1021/es026388a
- Tchaikovskaya O.N., Nechaev L.V., Yudina N.V., Mal’tseva E.V. //Luminescence. 2016. V. 31. № 5. P. 1098. https://doi.org/10.1002/bio.3077
- Del Vecchio R., Blough N.V. // Environ. Sci. Technol. 2004. V. 38. P. 3885. https://doi.org/10.1021/es049912h
- Milori D.M.B.P., Neto L.M., Bayer C., Mielniczuk J. // Soil Science. 2002. V. 167. P. 739. https://doi.org/10.1097/00010694-200211000-00004
- Кудеярова А.Ю. //Почвоведение. 2001. № 11. С. 1323.
- Linkevich E.V., Yudina N.V., Savel’eva A.V. // Russian Phys. Chem. A. 2020. V. 94. № 4. P. 742. https://doi.org/10.1134/S0036024420040093
- Weishaar J.L., Aiken G.R., Bergamaschi B.A., Fram M.S. // Environ. Sci. Technol. 2003. V. 37. (20). P. 4702. https://doi.org/10.1021/es030360x
- Boyle E.S., Guerriero N., Thiallet A., Del Vecchio R., Blough N.V. // Environ. Sci. Technol. 2009. V. 43. P. 2262. https://doi.org:10.1021/es803264g
- Helms J.R., Stubbins A., Ritchie J.D., Del Vecchio R. // Limnol. Oceanogr. 2008. V. 53. № 3. P. 955–969. https://doi.org/10.1021/es901255m
- Панкратов Д.А., Анучина М.М., Борисова Е.М., Воликов А.Б., Константинов А.И., Перминова И.В. // Журн. физ. химии. 2017. Т. 91. № 6. С. 1042. https://doi.org/10.7868/S0044453717060206
补充文件




