Forecast of geomagnetic and solar activity based on macroscopic nonlocal correlations
- Authors: Korotaev S.М.1, Serdyuk V.О.1, Kiktenko E.О.1, Popova I.V.1, Budnev N.М.2, Gorohov J.V.3
-
Affiliations:
- Schmidt Institute of Physics of the Earth RAS
- Irkutsk State University
- Pushkov Institute of Terrestrial Magnetism, Ionosphere and Radio Wave Propagation RAS
- Issue: Vol 65, No 2 (2025)
- Pages: 229-240
- Section: Articles
- URL: https://ogarev-online.ru/0016-7940/article/view/292543
- DOI: https://doi.org/10.7868/S3034502225020084
- EDN: https://elibrary.ru/CXQHGW
- ID: 292543
Cite item
Abstract
A series of long-term experiments to study macroscopic nonlocal correlations between random dissipative heliogeophysical processes and probe processes in detectors revealed important properties of macroscopic entanglement predicted by absorber electrodynamics. These correlations have retarded and advanced components. The advanced correlation corresponds to time-reversed causality (due to the randomness of the processes, this does not lead to the well-known paradoxes). Solar as well as geomagnetic activity turned out to be the dominant global source processes causing the detector response. Advanced correlations make it possible to forecast the random components of these processes. The practical feasibility of such forecasts with a lead time of several months and with an accuracy sufficient for all practical purposes has been demonstrated.
Full Text
1. ВВЕДЕНИЕ
Опережающие (обратно-временные) квантовые нелокальные корреляции вытекают из различных теоретических соображений, и их существование подтверждено в соответствующих экспериментах [Elitzur and Dolev, 2003; Laforest et al., 2006; Lloyd et al., 2011; Ma et al., 2012; Megidish et al., 2013]. Универсальная трактовка симметричных запаздывающих и опережающих корреляций дана на основе абсорбционной электродинамики Уилера−Фейнмана [Cramer, 1980, 1986]. Наиболее интересно наблюдение нелокальных корреляций на макроуровне, где временные сдвиги за счет медленного диффузионного обмена запутыванием могут быть очень велики, так что возможно прогностическое приложение опережающей компоненты. В экспериментах по изучению нелокальных корреляций крупномасштабных случайных диссипативных процессов мы опирались на уравнение макроскопической запутанности, которое связывает производства энтропии в пробном процессе-детекторе и в процессе-источнике с положительным и отрицательным временными сдвигами. В середине 1990-х годов на лабораторной установке в Троицке был начат первый долговременный эксперимент, задача которого заключалась в установлении корреляций между природными процессами-источниками и полностью изолированными от классических локальных воздействий пробными процессам в детекторах различных типов, а в дальнейшем – в исследовании возможностей их прогностических приложений. С 2012 г. параллельно ведется аналогичный, но более широкий эксперимент на глубоководной установке на базе Байкальской нейтринной обсерватории. Число природных диссипативных процессов-источников, вызывающих заметный отклик детекторов, благодаря свойству моногамности квантовых корреляций, невелико. Доминирующим глобальным источником оказалась солнечная активность, более слабым, но хорошо выделяемым – геомагнитная активность. Оба эксперимента продолжаются в настоящее время.
В настоящей работе мы обобщаем результаты этих экспериментов, предваряя их кратким изложением теоретической основы и аппаратурной реализации, основное внимание уделяя затем анализу данных в их прогностическом аспекте.
2. МАКРОСКОПИЧЕСКИЕ НЕЛОКАЛЬНЫЕ КОРРЕЛЯЦИИ ДИССИПАТИВНЫХ ПРОЦЕССОВ
Хотя в начале развития физики квантовой информации считалось, что явление запутанности и, соответственно, нелокальные корреляции могут наблюдаться только на микроуровне, довольно скоро было показано, что это не так [Home and Majumdar, 1995]. Макроскопическое квантовое запутывание в настоящее время является предметом нарастающего потока исследований (например, [Amico et al. 2008; Kordas et al., 2012; Reid et al., 2012; Maldacena and Susskind, 2013; Lee et al., 2015]). При этом ключевую роль сыграло открытие конструктивной роли диссипации в генерации слабой, но ведущей к экспериментально наблюдаемым эффектам, естественной запутанности макросистем. Ввиду сложности явления, строгое теоретическое описание имеется пока лишь для немногих частных случаев. Однако в эксперименте можно руководствоваться общим, хотя и заведомо приближенным, уравнением макроскопической запутанности, основанном на аргументах абсорбционной электродинамики [Korotaev, 2011; Коротаев и Морозов, 2018]:
, (1)
где – производство энтропии на частицу в пробном процессе (детекторе); – плотность полного производства энтропии в источниках, интеграл берется по четырехмерному объему источников; – сечение транзакции (порядка сечения атома и стремится к нулю в классическом пределе): ; – масса электрона; – функция показывает, что процессы коррелируют с симметричным запаздыванием и опережением. Скорость распространения для диффузионного обмена запутыванием может быть очень мала. Соответственно, запаздывание и опережение могут быть велики.
Детектором может служить некоторый диссипативный случайный процесс, изолированный от классических локальных воздействий. Разработанная теория нескольких типов детекторов позволяет связать производство энтропии в пробном процессе с измеряемым сигналом; аналогично и производство энтропии в процессе-источнике может быть связано с подходящим индексом его активности. Это позволило тестировать уравнение (1) не только теоретически (на модели спинового газа [Calsamiglia et al., 2005]), но и экспериментально (на основе расчета производства энтропии при омической диссипации токов источника геомагнитных вариаций Dst) [Korotaev, 2011; Коротаев и Морозов, 2018]. На практике, однако, проще изучать корреляцию непосредственно сигнала детектора с индексом активности источника.
Уравнение (1) в его простейшей форме не учитывает поглощение промежуточной средой. Его влияние, однако, качественно весьма примечательно. В работе [Hoyle and Narlikar, 1995] доказано, что, хотя уравнения абсорбционной электродинамики симметричны по времени, его фундаментальная асимметрия проявляется через асимметрию эффективности поглощения: поглощение запаздывающего поля является полным, а опережающего, напротив, обязано быть неполным. Это ведет к тому, что уровень опережающей компоненты нелокальной корреляции через экранирующую среду может быть выше запаздывающей.
3. ТЕХНИКА ЭКСПЕРИМЕНТА
Хотя в качестве пробного можно использовать, вообще говоря, любой диссипативный процесс, его реальный выбор диктуется относительной величиной эффекта и теоретической “прозрачностью”, позволяющей связать измеряемый макропараметр (сигнал) с левой частью (1) и осознанно принять меры по экранированию и/или контролю всех возможных локальных шумообразующих факторов (температура, давление, локальное электромагнитное поле и т.п.). Из этих соображений было выбрано три типа детекторов: первый основан на спонтанных флуктуациях слабополяризующихся электродов в электролите, второй – на спонтанных флуктуациях темнового тока фотоумножителя (иначе говоря, оба основаны на измерении спонтанных флуктуаций высоты потенциального барьера), а третий – на флуктуациях подвижности ионов в малом объеме электролита (в электролитической ячейке). Были созданы две экспериментальные установки: ЦГЭМИ-ИЗМИРАН (Троицк) с детекторами первых двух типов и установка МГТУ (Москва) с детекторами третьего типа. В обеих установках приняты исчерпывающие меры по экранированию и/или контролю и математическому учету (если полное экранирование невозможно) всех возможных классических локальных воздействий для каждого детектора [Korotaev, 2011; Коротаев и Морозов, 2018]. Опыт показал, что в длительных экспериментах наиболее надежны детекторы электродного типа. Требование большой длительности эксперимента вытекает из того, что макроскопические нелокальные корреляции проявляются на крайне низких частотах (на периодах порядка месяца и более).
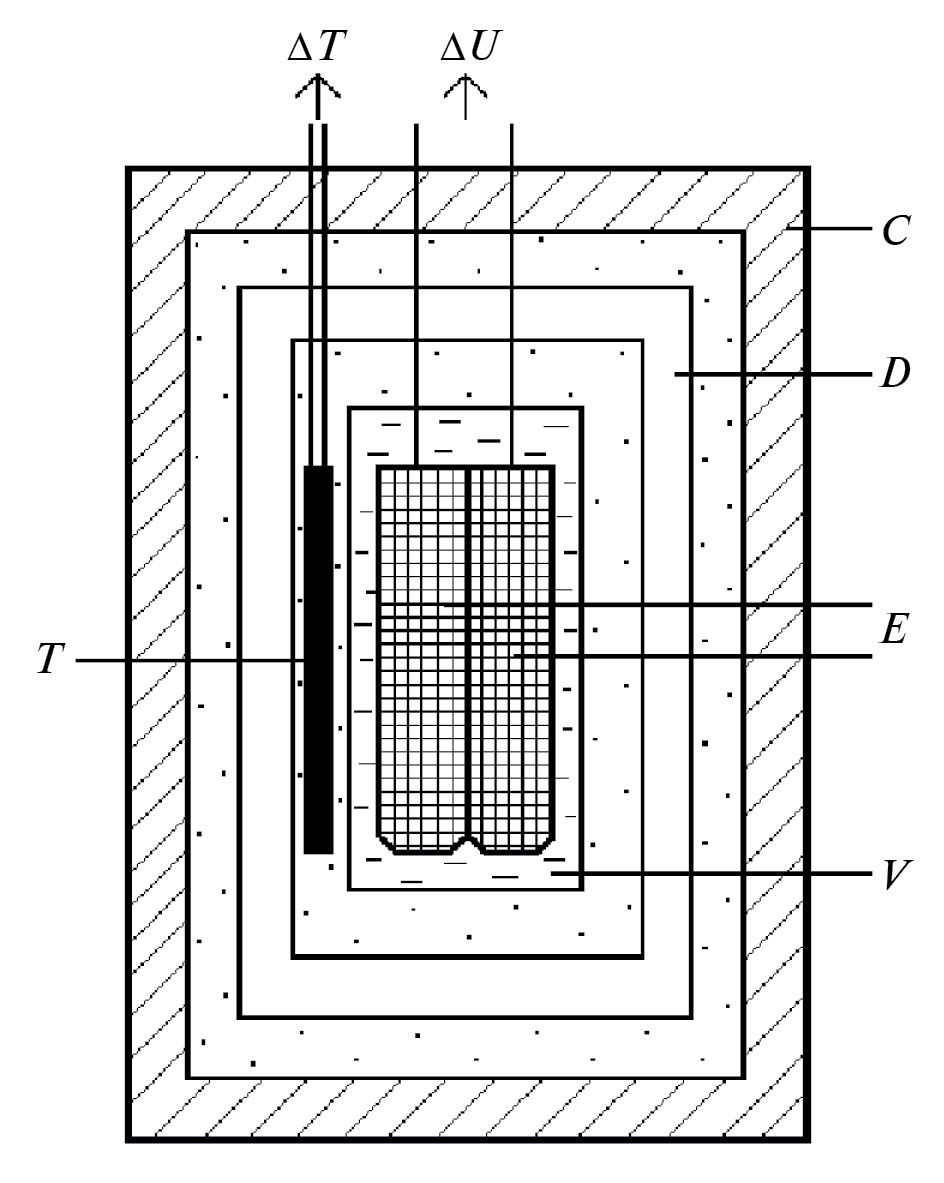
Основная проблема эксперимента, диктующая устройство детектора и первичную обработку сигнала, заключается в необходимости инструментального или математического исключения всех возможных локальных воздействий на сигнал детектора. Эти вопросы, как и другие метрологические характеристики установки, детально рассмотрены в работах [Korotaev, 2011; Коротаев и Морозов, 2018; Коротаев и др., 2024]. Здесь мы лишь, ввиду контекста статьи, отдельно подчеркнем полное отсутствие отклика детектора, в пределах его чувствительности, на локальное магнитное поде до 1 мТл в диапазоне 0–1 Гц. Кроме того, установлено, что корреляция сигнала детектора с потоком космических лучей значительно слабее, чем непосредственно с индексами геомагнитной и солнечной активности. Упрощенная схема первого электродного детектора на основе морских слабополяризующихся графито-марганцевых электродов приведена на рис. 1.
Рис. 1. Схема устройства детектора. C – корпус (толщина стенок 20 мм), D – дьюар, V – сосуд с электролитом, E – электроды (внутреннее устройство не показано), T – термодатчик. Материалы: штриховка – капролон, двойная штриховка – эбонит, точки – воздух, незаштрихованный промежуток – вакуум.
В 2009 г. установка ЦГЭМИ-ИЗМИРАН была модифицирована, электродный детектор был заменен на новый, на основе серебряных-хлорсеребряных высококачественных метрологических морских слабополяризующихся электродов ХД-5.519.00, выпущенных единственной малой серией заводом “Эталон” (Киев). Эти электроды были разработаны для прецизионных измерений постоянного электрического поля в море и являются лучшими в мире по нечувствительности собственных потенциалов к физико-химическим условиям окружения. Кроме того, усовершенствован аппаратно-программный канал учета влияния температуры, учитывающий нелинейность и нестационарность этого влияния [Коротаев и Морозов, 2018; Коротаев и др., 2024].
В 2012 г. параллельно начат новый эксперимент на базе Байкальской глубоководной нейтринной обсерватории ИЯИ РАН. Байкал – глубочайшее озеро в мире, и его мощный и спокойный водный слой представляет хорошую защиту от классических локальных воздействий. В частности, уже на глубине нескольких десятков метров естественное термостатирование оказывается лучше достижимого в обычных лабораторных условиях, а у дна температура постоянна с точностью до 0.01 K. С другой стороны, в водной толще Байкала могут быть легко реализованы измерения с детекторами при большом вертикальном разносе, что позволяет проверить предположение о доминировании внешних (гелиогеофизических) процессов, нелокально воздействующих на детекторы. Синхронные измерения с удаленной на 4200 км наземной лабораторной установкой ЦГЭМИ-ИЗМИРАН должны как верифицировать планетарный характер нелокальных корреляций с глобальными источниками, так и помочь в выделении региональных источников (в частности, землетрясений), изучение которых также входило в программу эксперимента. В качестве детекторов в глубоководной установке используются пары электродов ХД-5.519.00, идентичных используемым в лабораторной установке. Две таких пары расположены на придонном и приповерхностном горизонтах. Кроме того, установка используется для мониторинга классического электрического поля на базе поверхность−дно. Подробное описание глубоководной установки приведено в работах [Коротаев и др., 2015; Коротаев и Морозов, 2018; Korotaev et al., 2018b].
Установка полностью автономна, она размещена в 10 км от берега при глубине места 1367 м, ее упрощенная схема показана на рис. 2. Глубина расположения нижнего детектора (сигнал Ub) 1337 м, верхнего (сигнал Ut) – 47 м, блока электроники – 20 м, притопленного буя – 15 м. Установка работает годичными циклами: в марте каждого года она частично или полностью поднимается на лед для считывания данных и технического обслуживания.
Рис. 2. Байкальская глубоководная установка. 1 – якорь; 2 – кабель-трос; 3 – блок электроники; 4 – буйреп; 5 –притопленный буй; I, II – верхний электродный детектор; III, IV – нижний электродный детектор.
4. МЕТОДИКА АНАЛИЗА ДАННЫХ
Данные обрабатывались методами спектрального, корреляционного и причинного анализа. Напомним существо последнего. Для любых переменных x и y можно определить в терминах шенноновских безусловных S(x), S(y) и условных S(x|y), S(y|x) энтропий функции независимости:
(2)
Грубо говоря, функции независимости ведут себя обратно модулю корреляционной функции. Однако, они характеризуют односторонние корреляции, которые асимметричны для причинно связанных переменных. Кроме того, они равно пригодны для любых линейных и нелинейных связей. Далее рассматривается функция причинности :
(3)
По определению x − причина, а y − следствие, если . И наоборот, y − причина, а x − следствие, если . Физический смысл этого формального определения состоит в констатации необратимой потери информации при причинном переходе.
В терминах принцип классической причинности формулируется следующим образом:
, (4)
где τ – временной сдвиг y относительно x. Только в случае нелокальных корреляций может наблюдаться нарушение этого принципа. Это как раз случай слабой причинности [Cramer, 1980], которая не подчиняется комбинации неравенств (4). Нарушение неравенств (4) является свидетельством (достаточным условием) запутанности, то есть свидетельством нелокальной природы корреляций. Это не единственно возможное свидетельство запутанности, наряду с ним в анализе описанных экспериментов мы использовали более традиционный подход, не апеллирующий к временным сдвигам – нарушение неравенства стирингов [Korotaev, 2011; Коротаев и Морозов, 2018; Korotaev et al., 2018a]. Но нарушение (4) – обратно-временная причинность (подчеркнем, в силу случайности процессов, не ведущая к каким-либо парадоксам) – более адекватное свидетельство в прогностическом контексте [Korotaev et al., 2005, 2018a, 2018b, 2020, 2022; Korotaev, 2011; Коротаев и Морозов, 2018].
Медленная случайная компонента солнечной активности наиболее ярко выражена в перемежающихся колебаниях, занимающих диапазон квазипериодов примерно 50–500 сут [Lean and Brueckner, 1989]. Случайная компонента геомагнитной активности занимает тот же диапазон, но выделять ее несколько труднее, поскольку внутри диапазона лежат и детерминированные компоненты – годовая вариация и ее гармоники.
В качестве индекса солнечной активности используется поток радиоизлучения R. При этом оказалось, что максимум функции корреляции с сигнала детектора U с R (и минимум функции независимости U от R) наблюдаются в диапазоне частот R 610–2800 МГц. Примечательно, что этот диапазон отвечает излучению из верхов хромосферы – низов короны – слою максимального производства энтропии в солнечной атмосфере [Korotaev, 2011; Коротаев и Морозов, 2018]. Сравнимая, но обычно меньшая корреляция, наблюдается с рентгеновским излучением. В качестве меры геомагнитной активности нами принят Dst-индекс.
Оптимальная широкополосная фильтрация для выделения случайных компонент во временных рядах ищется на основании подобия текущих спектров. Эта процедура описана на множестве примеров в работах [Korotaev et al., 2005, 2018a, 2018b, 2019, 2020, 2022; Korotaev, 2011; Коротаев и Морозов, 2018; Коротаев и др., 2019].
5. РЕЗУЛЬТАТЫ
На рис. 3 представлен пример результата причинного анализа сигнала электродного детектора установки ЦГЭМИ-ИЗМИРАН и солнечной активности. В опережающей области (τ > 0) величины функций независимости U от R значительно ниже, чем в запаздывающей (τ < 0), а функция причинности значительно больше 1. Глобальный минимум и глобальный максимум наблюдаются при τ = 42 сут. Нарушение неравенства (4) свидетельствует о нелокальной природе корреляции.
Рис. 3. Функции независимости и причинности сигнала детектора U и потока солнечного радиоизлучения R. τ<0 соответствуют запаздыванию U относительно R, τ>0 – опережению.
На рис. 4 результат представлен в терминах корреляционной функции. Главный максимум rUR = 0.51 ± 0.02 наблюдается при опережении τ = 42 сут, в согласии с результатом причинного анализа.
Рис. 4. Корреляционная функция сигнала детектора U и потока солнечного радиоизлучения R, τ<0 соответствуют запаздыванию U относительно R, τ>0 – опережению.
На рис. 5 показана корреляционная функция сигнала детектора и геомагнитной активности, также демонстрирующая глобальный maxrUDst = 0.70 ± 0.02 при τ = 42 сут.
Рис. 5. Корреляционная функция сигнала детектора U и геомагнитной активности Dst, τ<0 соответствуют запаздыванию U относительно Dst, τ>0 – опережению.
Такие корреляции позволяют решать прогностические задачи. Среди различных математических подходов, первым и весьма удачным оказался метод текущей импульсной переходной характеристики, учитывающий немарковский характер процесса в кусочно-линейном приближении. На обучающем интервале [t1,t2]вычисляется импульсная переходная характеристика g(τ), которая связывает сигнал детектора X и прогнозируемый параметр Y, путем решения интегрального уравнения:
. (5)
Полный обучающий интервал Y заканчивается последним наблюденным значением, а X – предшествующим на Δt. Найденная решением обратной задачи импульсная переходная характеристика используется на следующем интервале данных сигнала детектора, заканчивающeмся последним измеренным значением, и прогнозируется одно значение Y с заблаговременностью Δt. Таким образом, решается прямая задача (5) на интервале X, заканчивающемся последним наблюденным значением. На следующем шаге обучающий интервал подтягивался вперед на один дискрет, процедура повторяется и прогнозируется следующее значение Y. Это минимизирует влияние нестационарности и нелинейности. Устойчивость результата при необходимости улучшается оптимальной низкочастотной постфильтрацией (ценой небольшого уменьшения заблаговременности). Подробное описание реализации метода и его обсуждение приведены в работах [Коротаев и др., 2007; Korotaev, 2011; Коротаев и Морозов, 2018].
Рисунки 6 и 7 показывают результаты длительных ежесуточных серий прогнозов R и Dst с фиксированной заблаговременностью, отвечающей временному сдвигу (42 сут) глобального максимума корреляции. Фактическая заблаговременность несколько меньше величины этого сдвига за счет постфильтрации. Отличающиеся времена начала прогнозов для R и Dst связаны с различной оптимальной предфильтрацией пар U-R и U-Dst, соответственно различно сокращающей исходные ряды.
Рис. 6. Прогноз солнечной активности с фиксированной заблаговременностью 35 сут (тонкая линия) в сравнении с фактической кривой (жирная линия). Начало отсчета времени 20 марта 1995 г. Среднеквадратичная погрешность прогноза 0.88·10-22 Вт м-2 Гц-1.
Рис. 7. Прогноз геомагнитной активности с фиксированной заблаговременностью 35 сут (тонкая линия) в сравнении с фактической кривой (жирная линия). Начало отсчета времени 19 сентября 1995 г. Среднеквадратичная погрешность прогноза 1.7 нТл.
К сожалению, положение глобального максимума корреляции существенно меняется со временем, и найти закономерность этой изменчивости пока не удалось. Хотя физическое моделирование указывает на обратную зависимость этого времени от энергии источника [Korotaev et al., 2019], в результатах натурного эксперимента это проявляется не более как тенденция. Так, по данным серии измерений около восьми лет спустя, глобальный максимум корреляции U как с R (0.92±0.02), так и с Dst (0.87±0.04) оказался при опережении 130 сут. Результаты прогнозов (при уменьшенной за счет постфильтрации заблаговременности 123 сут) показаны на рис. 8 и 9.
Рис. 8. Прогноз солнечной активности с фиксированной заблаговременностью 123 сут (тонкая линия) в сравнении с фактической кривой (жирная линия). Начало отсчета времени 20 февраля 2003 г. Среднеквадратичная погрешность прогноза 2.9·10-22 Вт м-2 Гц-1.
Рис. 9. Прогноз геомагнитной активности с заблаговременностью 123 сут (тонкая линия) в сравнении с фактической кривой (жирная линия). Начало отсчета времени (в сутках) 20 февраля 2003 г. Среднеквадратичная погрешность прогноза 2.0 нТл.
Байкальский глубоководный эксперимент отличается более высоким качеством данных, по сравнению с лабораторным, но данные получаются сериями длиной около года, которые по методическим причинам почти никогда не удается объединить в более длинный ряд. Между тем, для любых самообучающихся прогностических алгоритмов длина ряда должна быть много больше оптимальной заблаговременности прогноза (определяемой наблюдаемым временным сдвигом корреляционной функции). При этом длина рядов всегда существенно сокращена применяемой оптимальной широкополосной фильтрацией. В задачах Байкальского эксперимента, связанных с прогнозом относительно маломасштабных региональных процессов, для которых временные сдвиги невелики, длительности получаемых рядов достаточно для их успешного решения. Для солнечно-геомагнитных прогнозов это пока невозможно (до планируемого в 2025 г. ввода в действие новой глубоководной установки, позволяющей вести непрерывные измерения неограниченной длительности).
Однако высокая корреляция с солнечной активностью наблюдается в подводных данных всегда. Заметим, что из двух детекторов: верхнего Ut и нижнего Ub, локальные помехи минимальны в нижнем, но в то же время, полезный сигнал в нем тоже ниже из-за экранирования вышележащей водной толщей. В результате отношение сигнал/шум в них сопоставимо; в годы высокой активности оно выше у Ub, в годы низкой – у Ut.
Хотя из-за ограниченности рядов настоящий количественный прогноз недоступен, качественно продемонстрировать его возможность легко простым сдвигом фильтрованных рядов. Пример для серии, где глобальный максимум корреляции равен 0.95±0.02 при опережении Ut относительно R на 180 сут, показан на рис. 10.
Рис. 10. Сигнал детектора Ut качественно прогнозирует вариацию солнечной активности R (относительно среднего уровня) с заблаговременностью 180 сут. Начало отсчета времени 4 ноября 2016 г.
Сделать подобное по коротким рядам для геомагнитной активности труднее из-за требований к фильтрации. Тем не менее, как показывает рис. 11, это возможно (по последним данным установки, корреляция Ub с Dst 0.89±0.04 при опережении Ub относительно Dst на 238 сут).
Рис. 11. Сигнал детектора Ub качественно прогнозирует вариацию геомагнитной активности Dst (относительно среднего уровня) с заблаговременностью 238 сут.
В то время как применимость данных подводной установки для прогнозов геомагнитной активности ограничена, на действующей в Байкальском эксперименте в качестве опорной обсерватории лабораторной установке накоплены длительные ряды, несмотря на также имеющиеся здесь технические перерывы. Самый длинный из них составил почти 8 лет (25.09.2009 г.– 15.04.2017 г.). Это позволяет корректно применить различные самообучающиеся прогностические алгоритмы, причем охватывая наиболее интересный диапазон квазипериодов от 1 до 4 лет, свободный как от внутригодовых периодичностей, так и главных гармоник 11-летнего цикла, т.е. диапазон, где случайная компонента в Dst преобладает.
Анализ показал, что глобальный максимум корреляции U с Dst достигает 0.97 при опережении U относительно Dst на 329 сут [Коротаев и др., 2024], что определяет оптимальную заблаговременность прогнозирования.
Прогностические расчеты были выполнены тремя методами. Простейший – метод текущей регрессии, основан на кусочно-линейном марковском приближении, при этом он наименее требователен к длине обучающего интервала. Более сложный метод текущей импульсной переходной характеристики, описанный выше, также основан на кусочно-линейном приближении, но учитывает немарковский характер процесса. Наконец, нейросетевой метод обратного распространения ошибки наиболее трудоемок, но не накладывает никаких ограничений на характер связи процессов. Результаты применения всех трех методов показаны на рис. 12–14.
Рис. 12. Прогноз Dst методом текущей регрессии с фиксированной заблаговременностью 329 сут (тонкая линия) в сопоставлении с фактической кривой (жирная линия). Среднеквадратичная погрешность прогноза 0.99 нТл.
Рис. 13. Прогноз Dst методом текущей импульсной переходной характеристики с фиксированной заблаговременностью 329 сут (тонкая линия) в сопоставлении с фактической кривой (жирная линия). Среднеквадратичная погрешность прогноза 0.40 нТл.
Рис. 14. Прогноз Dst методом текущей нейросети с фиксированной заблаговременностью 329 сут (тонкая линия) в сопоставлении с фактической кривой (жирная линия). Среднеквадратичная погрешность прогноза 0.29 нТл.
6. ЗАКЛЮЧЕНИЕ
В серии натурных экспериментов сделан шаг к изучению важного свойства макроскопической запутанности – обратно-временного отклика детекторов нелокальных корреляций на некоторые гелиогеофизические процессы с большой случайной компонентой.
Экспериментально оценены количественные характеристики макроскопических нелокальных корреляций в обратном времени.
Продемонстрирована возможность использования этих корреляций для прогноза случайных вариаций геомагнитной и солнечной активности с точностью, достаточной для всех практических целей.
About the authors
S. М. Korotaev
Schmidt Institute of Physics of the Earth RAS
Author for correspondence.
Email: korotaev@gemrc.ru
Geoelectromagnetic Research Centre
Russian Federation, Moscow, TroitskV. О. Serdyuk
Schmidt Institute of Physics of the Earth RAS
Email: korotaev@gemrc.ru
Geoelectromagnetic Research Centre
Russian Federation, Moscow, TroitskE. О. Kiktenko
Schmidt Institute of Physics of the Earth RAS
Email: korotaev@gemrc.ru
Geoelectromagnetic Research Centre
Russian Federation, Moscow, TroitskI. V. Popova
Schmidt Institute of Physics of the Earth RAS
Email: korotaev@gemrc.ru
Geoelectromagnetic Research Centre
Russian Federation, Moscow, TroitskN. М. Budnev
Irkutsk State University
Email: korotaev@gemrc.ru
Russian Federation, Irkutsk
J. V. Gorohov
Pushkov Institute of Terrestrial Magnetism, Ionosphere and Radio Wave Propagation RAS
Email: korotaev@gemrc.ru
Russian Federation, Moscow, Troitsk
References
- Коротаев С.М., Буднев Н.М., Сердюк В.О., Зурбанов В.Л., Миргазов Р.Р., Шнеер В.С., Мачинин В.А., Киктенко Е.О., Бузин В.Б., Панфилов А.И. Новые результаты мониторинга вертикальной компоненты электрического поля в озере Байкал на базе поверхность−дно // Геомагнетизм и аэрономия. Т. 55. № 3. С. 406−418. 2015. https://doi.org/10.7868/S001679401502011X
- Коротаев С.М., Буднев Н.М., Сердюк В.О., Киктенко Е.О., Орехова Д.А. Новые результаты Байкальского эксперимента по прогностическому эффекту макроскопических нелокальных корреляций // Вестн. МГТУ им. Н.Э. Баумана. Сер. Естественные науки. № 4. С. 56−72. 2019. https://doi.org/10.18698/1812-3368-2019-4-56-72
- Коротаев С.М., Морозов А.Н. Нелокальность диссипативных процессов – причинность и время. М.: Физматлит, 216 с. 2018.
- Коротаев С.М., Сердюк В.О., Горохов Ю.В. Прогноз геомагнитной и солнечной активности на основе нелокальных корреляций // ДАН. Т. 415. № 6. С. 814−817. 2007.
- Коротаев С.М., Сердюк В.О., Попова И.В., Горохов Ю.В., Киктенко Е.О., Орехова Д.А. Эксперимент по долгосрочному прогнозированию геомагнитной активности на основе нелокальных корреляций // Геомагнетизм и аэрономия. Т. 64. № 1. С. 141−148. 2024. https://doi.org/10.31857/S0016794024010144
- Amico L., Fazio R., Osterloch A., Vedral V. Entanglement in many-body systems // Rev. Mod. Phys. V. 80. № 2. P. 517−576. 2008. https://doi.org/10.1103/RevModPhys.80.517
- Calsamiglia J., Hartmann L., Dür W., Briegel H.-J. Spin gases: quantum entanglement driven by classical kinematics // Phys. Rev. Lett. V. 95. № 18. ID 180502. 2005. https://doi.org/10.1103/PhysRevLett.95.180502
- Cramer J.G. Generalized absorber theory and Einstein-Podolsky-Rosen paradox // Phys. Rev. D. V. 22. № 2. P. 362–376. 1980. https://doi.org/10.1103/PhysRevD.22.362
- Cramer J.G. The transactional interpretation of quantum mechanics // Rev. Mod. Phys. V. 58. № 3. P. 647−687. 1986. https://doi.org/10.1103/RevModPhys.58.647
- Elitzur A.S., Dolev S. Is there more to T? / The Nature of Time: Geometry, Physics and Perception. Eds. R. Buccery, M. Saniga, W.M. Stuckey. Dordrecht: Springer. P. 297−306. 2003. https://doi.org/10.1007/978-94-010-0155-7_31
- Home D., Majumdar A.S. Incompatibility between quantum mechanics and classical realism in the strong macroscopic limit // Phys. Rev. A. V. 52. № 6. P. 4959−4962. 1995. https://doi.org/10.1103/PhysRevA.52.4959
- Hoyle F., Narlikar J.V. Cosmology and action-at-a-distance electrodynamics // Rev. Mod. Phys. V. 67. № 1. P. 113–155. 1995. https://doi.org/10.1103/RevModPhys.67.113
- Korotaev S.M. Causality and Reversibility in Irreversible Time. Irvine, CA: Scientific Research Publishing, 130 p. 2011.
- Korotaev S., Budnev N., Serdyuk V., Kiktenko E., Gorohov J., Zurbanov V. Macroscopic entanglement and time reversal causality by data of the Baikal experiment // J. Phys. Conf. Ser. V. 1051. ID 012019. 2018a. https://doi.org/10.1088/1742-6596/1051/1/012019
- Korotaev S., Budnev N., Serdyuk V., Kiktenko E., Orekhova D., Gorohov J. Macroscopic nonlocal correlations in reverse time by data of the Baikal Experiment // J. Phys. Conf. Ser. V. 1557. ID 012026. 2020. https://doi.org/10.1088/1742-6596/1557/1/012026
- Korotaev S., Budnev N., Serdyuk V., Kiktenko E., Orekhova D., Gorohov J. Macroscopic nonlocal correlations by new data of the Baikal Experiment // J. Phys. Conf. Ser. V. 2197. ID 012019. 2022. https://doi.org/10.1088/1742-6596/2197/1/012019
- Korotaev S.M., Gorohov J.V., Serdyuk V.O., Novysh A.V. Response of macroscopic nonlocal correlation detector to a phase transition // J. Phys. Conf. Ser. V. 1348. ID 012041. 2019. https://doi.org/10.1088/1742-6596/1348/1/012041
- Korotaev S.M., Morozov A.N., Serdyuk V.O., Nalivayko V.I., Novysh A.V., Gaidash S.P., Gorohov J.V., Pulinets S.A., Kanonidi Kh.D. Manifestation of macroscopic nonlocality in the processes of solar and geomagnetic activity // Vestnik of BMSTU. Special Issue. P. 173−185. 2005.
- Korotaev S.M., Serdyuk V.O., Budnev N.M. Advanced response of the Baikal macroscopic nonlocal correlation detector to the heliogeophysical processes / Unified Field Mechanics II. Eds. R.L. Amoroso, L.H. Kauffman, P. Rowlands, G. Albertini. London: World Scientific. P. 375–380. 2018b. https://doi.org/10.1142/9789813232044_0035
- Kordas G., Wimberger S., Witthaut D. Dissipation induced macroscopic entanglement in an open optical lattice // Europhys. Lett. V. 100. № 3. ID 30007. 2012. https://doi.org/10.1209/0295-5075/100/30007
- Laforest M., Baugh J., Laflamme R. Time-reversal formalism applied to bipartite entanglement: theoretical and experimental exploration // Phys. Rev. A. V. 73. № 3. ID 032323. 2006. https://doi.org/10.1103/PhysRevA.73.032323
- Lean J.L., Brueckner G.E. Intermediate-term solar periodicities: 100–500 days // Astrophys. J. V. 337. P. 568−578. 1989. https://doi.org/10.1086/167124
- Lee S.-S.B., Park J., Sim H.-S. Macroscopic quantum entanglement of a Kondo Cloud at finite temperature // Phys. Rev. Lett. V. 114. № 5. ID 057203. 2015. https://doi.org/10.1103/PhysRevLett.114.057203
- Lloyd S., Maccone L., Garcia-Patron R., Giovannetti V., Shikano Y., Pirandola S., Rozema L.A., Darabi A., Soudagar Y., Shalm L.K., Steinberg A.M. Closed timelike curves via postselection: theory and experimental demonstration // Phys. Rev. Lett. V. 106. № 4. ID 040403. 2011. https://doi.org/10.1103/PhysRevLett.106.040403
- Ma X.-S., Zotter S., Kofler J., Ursin R., Jennewien T., Brukner Č., Zeilinger A. Experimental delayed-choice entanglement swapping // Nat. Phys. V. 8. P. 479−485. 2012. https://doi.org/10.1038/nphys2294
- Maldacena J., Susskind L. Cool horizons for entangled black holes // Progress of Physics. V. 61. № 9. P. 781−811. 2013. https://doi.org/10.1002/prop.201300020
- Megidish E., Halevy A., Shacham T., Dvir T., Dovrat L., Eisenberg H.S. Entanglement swapping between photons that have never coexisted // Phys. Rev. Lett. V. 110. № 21. ID 210403. 2013. https://doi.org/10.1103/PhysRevLett.110.210403
- Reid M.D., He Q.Y., Drummond P.D. Entanglement and nonlocality in multi-particle systems // Frontiers of Physics. V. 7. № 1. P. 72−85. 2012. https://doi.org/10.1007/s11467-011-0233-9
Supplementary files
Note
In the print version, the article was published under the DOI: 10.31857/S0016794025020084
















