Кварцевые диориты волковского рудоносного массива (средний Урал, Россия): U–Pb возраст, Nd–Sr–Pb изотопнaя систематика, геохимические особенности, петрогенетические и геодинамические следствия
- Авторы: Аникина Е.В.1, Кудряшов Н.M.2, Солошенко Н.Г.1, Русин И.А.1, Червяковская М.В.1
-
Учреждения:
- Институт геологии и геохимии им. акад. А.Н. Заварицкого УрО РАН
- Геологический институт КНЦ РАН
- Выпуск: Том 69, № 2 (2024)
- Страницы: 66-85
- Раздел: Статьи
- URL: https://ogarev-online.ru/0016-7525/article/view/263025
- DOI: https://doi.org/10.31857/S0016752524020045
- EDN: https://elibrary.ru/KOZVQF
- ID: 263025
Цитировать
Полный текст
Аннотация
Приводятся результаты U–Pb датирования, Nd–Sr–Pb изотопной систематики и геохимического изучения кварцевых диоритов, ассоциированных с рудоносными (Cu–Pd–Au–Ag) габбро Волковского массива, локализованного в пределах Платиноносного пояса Урала, у его восточной границы с силурийско-девонскими вулканогенными комплексами Тагильской мегазоны. Возраст кварцевых диоритов по данным U–Pb (TIMS) датирования 429 ± 9 млн лет, СКВО = 0.009. Sr–Nd–Pb изотопные характеристики (ƐNd(T) = +5.5 ÷ +6.7; (87Sr/86Sr)t = 0.70382−0.70392; 206Pb/204Pb = 18.38–18.57; 207Pb/204Pb = 15.56–15.58; 208Pb/204Pb = 38.14–38.30) указывают на ювенильный источник с модельным возрастом 570–760 млн лет. Полученные данные не выходят за пределы значений, характерных для базальтов энсиматических островных дуг. Геохимические особенности гранитоидов Волковского массива (низкая концентрация РЗЭ, дифференцированность их спектра (La/Yb = 8–14) при слабой положительной Eu-аномалии (Eu/Eu* = 0.9–1.4)) согласуются с характеристиками расплавов, полученных в экспериментах по водному плавлению базитов в равновесии с амфибол-пироксеновым реститом. Аномальная концентрация стронция (более 1000 г/т) в кварцевых диоритах обусловлена высоким содержанием этого элемента в источнике. Таким источником могли служить наиболее ранние породы Платиноносного пояса Урала – оливиновые габбро и метаморфические породы их окружения. Одновозрастность кварцевых диоритов Волковского массива и монцонитоидов Кушвинского массива позволяет рассматривать эти породы как результат сближенного во времени плавления мантии и коры на завершающей стадии формирования Тагильской островодужной системы.
Полный текст
Введение
Волковский массив достаточно широко известен благодаря локализованному в габбро промышленному медь–железо–ванадиевому (с Pd, Au и Ag) и малосульфидному золото–палладиевому оруденению. Массив имеет длительную историю изучения, позволившую выявить основные черты его строения и состава слагающих его пород и руд. Чаще всего габбро и гранитоиды Волковского массива традиционно рассматриваются как единая дифференцированная серия (Кашин, 1948; Воробьева и др., 1962; Штейнберг, Еремина, 1968; Полтавец, 2006; Ферштатер, 2013). Однако объем такой серии однозначно не определен. Остается неясной позиция ультрабазитов Южного блока Волковского массива, монцонитоидов, распространенных по его периферии и, наконец, кварцевых диоритов, образующих крупное тело в центре массива. Анализируя петрохимический состав пород, В. И. Маегов пришел к заключению о петрохимической дискретности слагающих массив оливиновых габбро, кварцевых диоритов и андезиновых монцогаббродиоритов и о принадлежности этих пород к самостоятельным и, возможно, разновозрастным интрузиям (Маегов, 1999). Неопределенность сохраняется и в вопросах взаимосвязи рудообразования и магматизма. Большинство исследователей придерживается модели позднемагматического происхождения магнетитовых и медносульфидных руд (Фоминых, Клевцов, 1984; Полтавец и др., 2011). Не исключая происхождения пород массива в результате кристаллизационной дифференциации, Д. С. Штейнберг предположил, что текстурная полосчатость оливиновых габбро Центрального блока и согласные с полосчатостью участки мелкозернистых и крупнозернистых разностей одинакового состава (такситовые зоны) с титаномагнетитовой и медносульфидной вкрапленностью имеют метасоматическое происхождение (Штейнберг, Еремина, 1968). А. А. Ефимов считал, что широко проявленное в пределах Платиноносного пояса Урала преобразование “сухих” габброноритов в амфибол-, биотит- и кварцсодержащие диоритоподобные породы, формирование в них сульфидных руд волковского типа и внедрение плагиогранитов происходило синхронно (415 млн лет назад) и было обусловлено сменой тектонического сжатия в условиях гранулитовой фации низкого давления тектоническим растяжением, сопровождавшимся проникновением из глубинной зоны водного флюида и плагиогранитного расплава (Ефимов, 2006; Ефимов и др., 2010).
Дискуссионность многих вопросов петро- и рудогенеза Волковского массива определяет актуальность геохронологического и изотопно-геохимического изучения слагающих его пород. Изложенные в настоящей работе результаты U-Pb датирования (TIMS) и впервые полученные данные о микроэлементном и изотопном (Nd-Sr-Pb) составе кварцевых диоритов Волковского массива позволяют прояснить некоторые вопросы их петрогенезиса, а также дополнить существующие представления о гранитообразовании в пределах Платиноносного пояса Урала.
Методика исследований
Для проведения исследований использован керновый материал поискового бурения на Волковском месторождении (коллекция каменного материала А. А. Ефимова) и на Баронском рудопроявлении. При подготовке статьи использовано около 60 авторских анализов пород.
Определение элементов-примесей проведено методом масс-спектрометрии с ионизацией в индуктивно связанной плазме на анализаторе ELAN9000 по стандартной методике (ЦКП “Геоаналитик”, ИГГ УрО РАН, Екатеринбург, аналитики Н. В. Чередниченко, Л. К. Дерюгина, Д. В. Киселева). Состав пород определялся рентгенофлуоресцентным методом на СРМ-18 и EDX-900 HS (ЦКП “Геоаналитик”, ИГГ УрО РАН, Екатеринбург, аналитики Н. П. Горбунова и Л. А. Татаринова).
Измерения изотопных отношений Sm–Nd и Rb–Sr выполнялись на термо-ионизационном масс-спектрометре TritonPlus (ThermoFinnigan) (ЦКП “Геоаналитик”, ИГГ УрО РАН, Екатеринбург). Чувствительностьпо 142Nd и 152Sm составляла 16 и 14 V/ppm, соответственно. Чувствительность по 88Sr составляла порядка 30 V/ppm. Среднее значение 143Nd/144Nd в стандарте J-Ndi-1 за период измерений составило 0.512104+0.000007 (2σ, n = 6), а среднее значение отношения 87Sr/86Sr в стандарте NIST SRM 987 составило 0.710257±0.000013 (2σ, n = 5). Изотопные отношения нормализованы по экспоненциальному закону по отношению 148Nd/144Nd = 0.241572 для неодима, 88Sr/86Sr = 8.3752 для стронция, соответственно. Погрешность определения отношений 147Sm/144Nd и 85Rb/87Sr, рассчитанные по результатам регулярного анализа стандартных образцов AGV-2 и BHVO-2, составили 0.3 и 1 % (2σ), соответственно. Погрешность определения концентраций элементов Rb и Sr, полученную аналогичным образом, составила 1 % для Sm и Nd и 2 % и 3 % для Rb и Sr, соответственно (2σ).
Локальный анализ микроэлементного состава циркона выполнен на квадрупольном масс-спектрометре NexION300S (PerkinElmer) с приставкой для лазерной абляции NWR213 (ESI) (ЦКП “Геоаналитик”, ИГГ УрО РАН, Екатеринбург). Для определения микроэлементного состава использовался внутренний стандарт SiO2, в качестве внешнего первичного стандарта использовано стандартное стекло NISTSRM 610, в качестве вторичного – стандартное стекло NISTSRM 612.
Дооснащение и комплексное развитие ЦКП “Геоаналитик” ИГГ УрО РАН осуществляется при финансовой поддержке гранта Министерства науки и высшего образования Российской Федерации, Соглашение № 075-15-2021-680.
U–Pb изотопная система анализировалась с использованием разложения и химического выделения U и Pb (TIMS). Разложение и химическое выделение Pb и U для проведения U–Pb (TIMS) изотопных исследований проведено по методике Т. Кроу (Krogh, 1973). Уровень холостого опыта за период исследования не превышал 80 пг для Pb и 40 пг для U. Координаты точек и параметры изохрон рассчитывали по программам “PbDAT” (Ludwig, 1991) и “ISOPLOT” (Ludwig, 1999). Определения изотопного состава Pb и U выполнены на масс-спектрометрах МИ-1201-T и Finnigan MAT-262 (RPQ) (ГИ КНЦ РАН, г. Апатиты) в статическом режиме или с помощью электронного умножителя. Все изотопные отношения исправлены на масс-фракционирование, полученное при изучении параллельных анализов стандартов SRM-981 и SRM-982, 0.18±0.06 % для МИ-1201-Т и 0.12±0.04 % для Finnigan MAT-262 (RPQ). Аналитические погрешности в U-Pb отношениях составляли 0.5 %. Поправки на обычный свинец введены в соответствии с модельными величинами (Stacey, Kramers, 1975). Все ошибки приведены на уровне 2σ.
Геологическая характеристика волковского массива
Волковский массив находится на северном продолжении крупного, сложно построенного Тагило–Баранчинского габбрового плутона (рис. 1), совмещающего в себе дунит–клинопироксенит–габбровую и габбровую (габброноритовую) серии (Ферштатер, 2013). В западном экзоконтакте Тагило–Баранчинского массива залегают аповулканогенные гнейсы и амфиболиты. По составу породы достаточно разнородны. Они относятся как к толеитовой, так и к известково–щелочной серии, обладают островодужными, рифтовыми и океаническими геохимическими характеристиками, а их природа и возраст являются предметом дискуссии (Смирнов, 2006; Петров, 2006; Пучков, 2010). На востоке в соприкосновение с габбро Тагило-Баранчинского массива приходят вулканиты Тагильской вулканогенной зоны (ТВЗ). (Каретин, 2000; Язева, Бочкарев, 2003; Десятниченко и др., 2005; Смирнов и др., 2008).
Рис. 1. Схема геологического строения Тагило-Баранчинского массива. Составлена с использованием материалов Государственной геологической карты Российской Федерации (масштаб 1:1000000, (2015), серия Уральская, лист О-40 – Пермь), Государственной геологической карты (масштаб 1:200000, (1999), серия Уральская, лист O-40 –XVIII) и Геологической карты Баронской площади (2005), масштаб 1:25000. Условные обозначения. Континентально-рифтовые, батиальные и субокеанические отложения западного склона Урала: 1 – металавы и метатуфы базальтов толеитовой и щелочной серии с телами офиолитовых метагаббро и долеритов, метапелиты и углеродистые сланцы (выйская свита, средний-поздний ордовик (?)). Островодужные комплексы Тагильской вулканогенной зоны восточного склона Урала: 2 – толеитовые и известково-щелочные базальты и риолиты шемурской свиты (поздний ордовик- ранний лландовери), 3 – K-Na известково-щелочные базальты, андезиты, дациты и риолиты павдинской свиты (лландовери - ранний венлок), 4 – калиевые известково-щелочные базальты и андезибазальты (Именновский комплекс) и калиевые известково-щелочные и субщелочные базальты, андезибазальты и андезиты (Гороблагодатский комплекс) именновской свиты (поздний венлок- пржидолий), 5 – трахиандезиты, трахиты, трахибазальты туринской свиты (пржидолий – локхов), 6 – туфоконгломераты, туфопесчаники, кремнистые туффиты, известняки с прослоями пепловых туфов, углисто-кремнистые алевролиты перевозской свиты (ранний девон), 7 – туфопесчаники, туфоалевролиты, кремнистые сланцы тальтийской свиты (средний девон). Магматические комплексы: Арбатский (O3-S1?) (8 – диориты, кварцевые диориты, плагиограниты низкостронциевые); Качканарский (O3?) (9 - дуниты, верлиты, клинопироксениты; 10 – оливиновые габбро); Тагило-кытлымский (S1) (11 – габбронориты, габбро); Волковский (S2?) (12 – клинопироксениты, оливиниты; 13 – габбро оливиновые; 14 – габбро); Северорудничный (S3-4?) (15 – диориты, кварцевые диориты; 16 – гранодиориты, граниты); Кушвинский (S4-D1?) (17 – монцогаббро; 18 – сиениты). 19 – Pd-рудопроявления (а) и медь-железо-ванадиевые руды (б); 20 – плоскостная ориентировка минералов, полосчатость (а) и место отбора пробы на определение возраста (б); 21 – Главный Уральский разлом; 22 – геологические границы тектонические (а) и нормальные (б). Римскими цифрами обозначены блоки в структуре Волковского массива: I – Центральный, II – Западный, III – Южный.
Гранитоиды образуют цепь небольших тел вдоль восточной границы массива (рис. 1). В пределах этой гранитоидной полосы малокалиевые тоналиты и плагиограниты в направлении с юга на север сменяются монцодиоритами и сиенитами, с которыми связано промышленное скарново-магнетитовое оруденение (Ферштатер, 1984, 2013; Холоднов и др., 2021). Так же в пределах Тагило-Баранчинского массива были выявлены и детально описаны породы плагиоклазит-плагиогранитной серии, впоследствии установленные во многих массивах Платиноносного пояса Урала в виде небольших интрузий плагиогранитного состава, брекчий и жильных штокверков (Ферштатер, 1984, 2013; Ефимов, 2003; Попов, Никифорова, 2004). Характерная особенность состава этих пород состоит высоком содержании алюминия (18–24 мас. % в разностях с содержанием SiO2 = 56–68 мас. %) и стронция (860–1650 г/т), а также в низком содержании калия (менее 0.5 мас. % K2O, иттрия (2–6 г/т) и редкоземельных элементов (сумма РЗЭ менее 30 г/т).
В строении Волковского массива принято выделять три самостоятельных габбровых блока – Центральный, Западный и Южный (рис. 1). Габбровые блоки имеют собственную концентрически-зональную структуру с центриклинальным падением элементов полосчатости (Фоминых, Клевцов, 1984). Согласно данным геологического картирования (Государственная геологическая карта…, 2006 и др.) Западный блок сложен преимущественно габброноритами, а в Центральном и Южном блоке преобладают анортитовые и битовнитовые оливиновые и оливинсодержащие габбро, характерная особенность состава которых состоит в аномально высоком содержании фосфора (табл. 1, рис. 2, 3). В Южном блоке габбро содержат тела оливинитов и клинопироксенитов. С этими породами связаны малотитанистые магнетитовые руды (Штейнберг, Фоминых, 1968) и Au–Pd минерализация (Золоев и др., 2001; Zaccarini et al., 2004; Аникина и др., 2004). В Центральном блоке габбро более железистые, с более высоким содержанием щелочей (рис. 2). Среди текстурно однородных оливиновых габбро с офитовой структурой присутствуют участки, сложенные крупнозернистыми до пегматоидных и мелкозернистыми разновидностями с неравномерным распределением плагиоклаза и темноцветных минералов. С такими участками (такситовыми зонами) связано магнетитовое и медносульфидное оруденение (Штейнберг, Еремина, 1968; Полтавец и др., 2011). На северо-востоке Центрального блока оливиновые габбро контактируют с монцогаббро и монцодиоритами. Структура пород в контакте с оливиновыми габбро гранобластовая, иногда роговиковая. На удалении от контакта –офитовая. Это умеренно- и высококалиевые лабрадор-андезиновые (An60–40), двупироксеновые породы, не отличающиеся по железистости от оливиновых габбро (табл. 1, рис. 2, 3).
Таблица 1. Содержание петрогенных (мас. %) и редких (г/т) элементов в породах Волковского массива
Компонент | 26567 | 25671 | 26574 | 26587 | 26533 | 22467 | 5п-70 | 22099 | ПЕ589 |
1 | 2 | 3 | 4 | 5 | 6 | 7 | 8 | 9 | |
SiO2 | 58.35 | 60.29 | 62.13 | 69.40 | 44.65 | 40.61 | 37.95 | 47.09 | 39.96 |
TiO2 | 0.67 | 0.56 | 0.54 | 0.38 | 0.83 | 0.62 | 1.057 | 1.44 | 0.895 |
Al2O3 | 16.81 | 17.25 | 16.95 | 14.61 | 14.90 | 23.38 | 18.12 | 16.97 | 14.01 |
FeOобщ. | 6.29 | 5.88 | 5.30 | 2.76 | 13.83 | 9.65 | 12.75 | 10.98 | 10.17 |
MnO | 0.12 | 0.09 | 0.10 | 0.03 | 0.19 | 0.10 | 0.17 | 0.29 | 0.11 |
MgO | 2.72 | 2.36 | 2.30 | 1.23 | 7.77 | 6.36 | 7.28 | 5.01 | 8.49 |
CaO | 5.99 | 5.65 | 5.52 | 4.66 | 11.05 | 14.68 | 15.40 | 9.85 | 21.49 |
Na2O | 4.47 | 4.18 | 4.43 | 5.70 | 2.17 | 1.48 | 1.31 | 3.35 | 0.80 |
K2O | 1.56 | 1.61 | 1.03 | 0.17 | 0.68 | 0.25 | 0.24 | 1.20 | 0.07 |
P2O5 | 0.49 | 0.33 | 0.32 | 0.18 | 0.32 | 0.56 | 1.62 | 1.23 | 2.70 |
ппп | 2.1 | 1.7 | 1.0 | 0.9 | 2.20 | 1.30 | 3.00 | 1.60 | 0.9 |
сумма | 99.57 | 100.28 | 99.62 | 100.01 | 98.60 | 98.99 | 98.90 | 99.01 | 99.60 |
Rb | 19* | 18.6 | 9.91** | 9* | 15* | 16 | 4 | 16.5** | 1 |
Sr | 1151 | 1285 | 1139 | 1200 | 993 | 1910 | 1200 | 2259 | 2484 |
Ba | 400 | 638 | 433 | 180 | 178 | 118 | 80 | 525 | 55 |
V | 279 | 273 | 223 | 90 | 572 | 436 | 700 | 613 | 577 |
Cr | 0.5 | 2 | 4 | 1 | 17 | 1 | 28 | 10 | 4 |
Ni | 4 | 3 | 5 | 4 | 19 | 19 | 8 | 8 | 18 |
Cu | 234 | 116 | 59 | 8 | 146 | 2487 | 5000 | 136 | 880 |
Y | 10 | 7 | 7 | 10 | 8 | 5 | 9 | 32 | 7 |
Nb | 2 | 1.9 | 1.8 | 4 | 0.6 | 0.2 | 0.2 | 2 | 0.2 |
Zr | 23 | 19 | 17 | 130 | 12 | 4 | 4 | 12 | 5 |
Hf | 0.81 | 0.81 | 0.61 | 1.7 | 0.44 | 0.19 | – | 0.58 | 0.35 |
Pb | 2.2 | 2.7 | 1.8 | 2.1 | 0.9 | 0.5 | 0.4 | 1.6 | 0.9 |
Th | 1 | 0.6 | 0.6 | 2.2 | 0.4 | 0.1 | 0.1 | 0.9 | 0.2 |
U | 0.37 | 0.41 | 0.25 | 0.7 | 0.14 | 0.05 | 0.05 | 0.29 | 0.08 |
La | 6 | 7 | 8 | 7 | 4 | 3 | 5 | 22 | 7 |
Ce | 14 | 16 | 16 | 14 | 8 | 6 | 11 | 51 | 21 |
Pr | 1.9 | 2.2 | 2.1 | 1.6 | 1.2 | 0.9 | 1.6 | 7.4 | 3.5 |
Nd | 9 | 9 | 8 | 7 | 6 | 5 | 8 | 35 | 20 |
Sm | 2.2 | 2.1 | 1.8 | 1.5 | 1.7 | 1.2 | 2.1 | 8.5 | 5.3 |
Eu | 0.8 | 0.7 | 0.6 | 0.5 | 0.6 | 0.6 | 0.7 | 2.5 | 1.7 |
Gd | 2.2 | 1.8 | 1.7 | 1.8 | 1.8 | 1.2 | 2.5 | 8.2 | 4.7 |
Tb | 0.3 | 0.2 | 0.2 | 0.2 | 0.2 | 0.2 | 0.3 | 0.9 | 0.5 |
Dy | 1.6 | 1.3 | 1.1 | 1.1 | 1.3 | 0.8 | 1.3 | 5.2 | 2.4 |
Ho | 0.3 | 0.3 | 0.2 | 0.2 | 0.3 | 0.1 | 0.24 | 0.9 | 0.3 |
Er | 0.9 | 0.7 | 0.6 | 0.7 | 0.7 | 0.4 | 0.6 | 2.5 | 0.7 |
Tm | 0.13 | 0.09 | 0.09 | 0.11 | 0.10 | 0.05 | 0.07 | 0.33 | 0.09 |
Yb | 0.8 | 0.7 | 0.6 | 0.8 | 0.7 | 0.3 | 0.4 | 1.9 | 0.4 |
Lu | 0.12 | 0.09 | 0.09 | 0.13 | 0.10 | 0.04 | 0.05 | 0.29 | 0.06 |
La/Yb | 8 | 10 | 14 | 9 | 6 | 9 | 12 | 11 | 15 |
Sr/Y | 112 | 176 | 156 | 120 | 118 | 423 | 133 | 70 | 332 |
Eu/Eu* | 1.08 | 1.07 | 1.14 | 0.9 | 1.05 | 1.4 | 0.93 | 0.9 | 1.02 |
сумма РЗЭ | 41 | 43 | 43 | 36 | 27 | 19 | 33 | 148 | 69 |
f | 0.70 | 0.64 | 0.70 | 0.69 | 0.64 | 0.60 | 0.64 | 0.69 | 0.38 |
Примечания. В таблице приведены частные анализы горных пород. Центральный блок: 1–3 – кварцевый диорит, 4 – плагиогранит, 5 – габбро лабрадоровое, 6, 7 – габбро оливиновое, 8 – монцогаббро; Южный блок: 9 – габбро оливиновое. * по данным рентгенофлуоресцентного анализа; ** по данным анализа на многоколлекторном масс-спектрометре Triton Plus; f = FeOобщ./(MgO+FeOобщ.); Eu/Eu* = Eun/((Smn+Gdn)/2).
Рис. 2. Диаграммы Na2O+K2O – SiO2 (TAS) (Петрографический…, 2008) (а), K2O – SiO2 (Peccerillo, Taylor, 1976) (б), Na2O+K2O-СаО – SiO2 (Frost et al., 2001) (в) и FeOобщ/(FeOобщ+MgO) – SiO2 (Frost et al., 2001) (г) для пород Волковского массива и гранитоидов Платиноносного пояса Урала. 1–5 – Волковский массив, Центральный блок: 1 – кварцевый диорит, 2 – плагиогранит, 3 – габбро лабрадоровое, 4 – габбро оливиновое, 5 – монцогаббро. 6, 7 – Волковский массив, Южный блок: 6 – габбро оливиновое, 7 – гранитоиды жильные. 8–10 – гранитоиды Платиноносного пояса Урала: 8 – диориты массивов Денежкин Камень и Кумба, 9 – тоналиты и плагиограниты Тагило-Баранчинского и Сертыньинского массива, 10 – габбро и тоналиты Талтминского массива. Буквами обозначены составы пород: К– Кушвинского монцодиорит-сиенитового массива, ПП – Черноисточинского плагиогранитного массива, ГН – габбронориты Кумбы. 8 – по (Ефимов и др., 2010), 9, К, ПП, ГН – по (Ферштатер и др., 1984; Ферштатер, 2013), 9, 10 – по (Бочкарев, 1990; Шмелев, 2005). Арабскими цифрами обозначены поля составов: (а) монцогаббро (1), монцогаббродиорита (2), монцодиорита (3), монцонита (4), граносиенита (5), умеренно-щелочного гранита (6), габбро (7), габбродиорита (8), диорита (9), кварцевого диорита (10), гранодиорита (11), гранита (12), низкощелочного гранодиорита (13), низкощелочного гранита (14); (б) низко-К толеитовой серии (1), умеренно-К известково–щелочной серии (2), высоко-К известково–щелочной серии (3), субщелочной (шошонитовой) серии (4); (в) известковой серии (1), известково-щелочной серии (2), щелочно-известковой серии (3), щелочной серии (4).
Рис. 3. Вариационные диаграммы для пород Волковского массива и объектов сравнения. Условные обозначения как на рис. 2.
Кварцевые диориты образуют изометричное тело, отчетливо выделяющееся на фоне габбрового окружения на гравиметрических картах локальным минимумом, а на картах магнитных аномалий – пониженными значениями интенсивности магнитного поля и изменением морфологии изолиний. Падение западного и восточного контакта гранитоидов с оливиновыми габбро юго-западное, на севере они погружаются под габбро. В северном экзоконтакте кварц-диоритовой интрузии габбро интенсивно амфиболизированы, а плагиоклаз в них приобретает лабрадор-андезиновый (An70–50) состав (табл. 1, рис. 2, 3). В пользу интрузивного внедрения кварцевых диоритов свидетельствуют эруптивные брекчии, описанные в западном и южном контакте c габбро (Маегов, 1999), а также пересечение гранитоидами полосчатости габбро в районе Волковского месторождения (Воробъева и др., 1962).
Состав и возраст кварцевых диоритов
Кварцевые диориты это – биотит–роговообманковые породы, массивные, преимущественно средне-крупнозернистые. Структура гипидиоморфнозернистая, иногда субофитовая за счет отчетливо ксеноморфного кварца и калиевого полевого шпата. Плагиоклаз образует зональные призматические кристаллы (ядро An40 – кайма An25). Биотит (#Fe = 40–45; 4–5 мас.% TiО2) отчетливо ксеноморфен по отношению к плагиоклазу. Главный темноцветный минерал – Mg-горнблендит (# Fe = 35–36; 0.9–1.5 мас.% TiO2; 5–8 мас.% Al2O3) образует неправильные зерна с извилистыми границами, в отдельных случаях – призматические кристаллы с идиоморфными сечениями. Кварц (10–20 %) и калиевый полевой шпат (2–10 %) находятся в интерстициальной позиции по отношению к плагиоклазу. Магнетит (0.3–2.0 мас.% TiO2; 0.7–1.5 вес.% V2O5) в срастаниях с ильменитом (до 10 мас.% MnO) образует интерстициальные скопления неправильных зерен в тесной ассоциации с биотитом и амфиболом. Апатит (1–1.4 мас.% Cl; 1.5–2.0 мас.% F; 0.1 мас.% SO3) присутствует повсеместно в виде мелких идиоморфных включений в плагиоклазе, биотите, амфиболе, калиевом полевом шпате и кварце, а также в срастаниях с интерстициальным магнетитом и ильменитом.
По составу это низко- и умереннокалиевые (0.4–1.63 мас.% К2О) породы известково–щелочного ряда. Индекс железистости по (Frost et al., 2001) составляет FeOобщ/(FeOобщ+MgO) = 0.59–0.71 (табл. 1, рис. 2). По соотношению нормативного альбита (51–56 % Ab), анортита (30–34 % An) и ортоклаза (14–15 % Or) в салической части порода соответствует тоналиту (O’Connor, 1965).
Параметры кристаллизации кварцевых диоритов по амфибол–плагиоклазовому термобарометру (Holland, Blundy, 1994) Т = 700–650°C, P = 2–3 кбар и по биотиту (Henry et al., 2005) T = 700–650°C. Незначительные вторичные преобразования (зеленосланцевая фация) выражены в хлоритизации биотита, развитии актинолита по амфиболу, альбитизации калишпата и плагиоклаза.
Плагиограниты (табл. 1, рис. 2, 3) присутствуют в резко подчиненном количестве и наблюдались нами только в керне скважин. Фрагментарность наблюдений не позволяет надежно оценить их геологические взаимоотношения с кварцевыми диоритами. По составу породы различаются количеством фемического компонента и содержанием кварца. Калиевый полевой шпат в плагиогранитах отсутствует.
Для определения возраста из керновой пробы слабо измененных кварцевых диоритов весом 10 кг, обработанной по стандартной методике, было выделено около 50 мг циркона крупностью 50–200 мкм. Акцессорный циркон представлен прозрачными, розоватого цвета, дипирамидально-призматическими трещиноватыми обломками кристаллов. Характерно присутствие включений кварца, калиевого полевого шпата, альбита, апатита, хлорита, эпидота и торита. В катодных лучах отчетливо проявлена эвгедральная зональность (рис. 4).
Рис. 4. Морфология и внутреннее строение кристаллов циркона из кварцевого диорита (проба 26561). Фото в обратно рассеянных электронах (BSE) выполнены на сканирующем электронном микроскопе JSM-6390LV. Катодолюминесцентные изображения циркона получены на микроанализаторе Cameca SX 100.
Места измерения микроэлементного состава обозначены залитыми кругами. Номера изображений на рисунке соответствуют номерам анализов в табл. 2.
Таблица 2. Микроэлементный состав циркона из кварцевого диорита Волковского массива, г/т
Компоненты | 26561-5 | 26561-8 | 26561-21 | 26561-29 | 26561-45 |
Sc | 500.3 | 498.1 | 536.3 | 509.2 | 597.7 |
Ti | 3.0 | 3.6 | н.о. | 4.4 | 4.4 |
Y | 1468.9 | 1041.4 | 3050.0 | 1256.4 | 2282.3 |
Zr | 784786.6 | 854581.1 | 745690.3 | 765447.0 | 761460.6 |
Nb | 0.6 | 0.5 | 1.3 | 0.8 | 1.1 |
La | 0.0 | 0.0 | 0.0 | 0.0 | 0.0 |
Ce | 4.6 | 3.3 | 11.0 | 3.5 | 7.0 |
Pr | 0.1 | 0.0 | 0.3 | 0.0 | 0.1 |
Nd | 2.2 | 1.3 | 6.0 | 0.9 | 1.3 |
Sm | 5.4 | 2.9 | 13.1 | 2.3 | 3.8 |
Eu | 1.8 | 1.2 | 5.8 | 1.0 | 1.3 |
Gd | 25.4 | 16.0 | 74.3 | 14.3 | 23.6 |
Tb | 9.6 | 5.7 | 21.0 | 5.6 | 11.4 |
Dy | 112.4 | 79.7 | 266.1 | 84.9 | 150.7 |
Ho | 47.2 | 33.1 | 99.2 | 38.0 | 68.1 |
Er | 239.5 | 162.5 | 473.6 | 195.7 | 369.6 |
Tm | 62.1 | 41.1 | 116.1 | 54.8 | 93.6 |
Yb | 665.4 | 462.8 | 1236.9 | 627.3 | 1027.4 |
Lu | 151.5 | 107.7 | 252.7 | 154.5 | 241.8 |
Hf | 12412.2 | 14010.9 | 11045.5 | 11311.3 | 11192.5 |
Ta | 0.2 | 0.3 | 0.3 | 0.2 | 0.4 |
Th | 185.2 | 115.8 | 485.5 | 184.3 | 414.9 |
U | 220.1 | 152.5 | 408.6 | 230.5 | 437.4 |
Th/U | 0.8 | 0.8 | 1.2 | 0.8 | 0.9 |
Zr/Hf | 63.2 | 61.0 | 67.5 | 67.7 | 68.0 |
U/Yb | 0.3 | 0.3 | 0.3 | 0.4 | 0.4 |
U/Y | 0.1 | 0.1 | 0.1 | 0.2 | 0.2 |
сумма РЗЭ | 1327.1 | 917.4 | 2576.1 | 1182.8 | 1999.6 |
Примечания. Номера анализов соответствуют номерам зерен на рис. 4.
По данным локального анализа микроэлементного состава (табл. 2) циркон имеет высокие значения Th/U = 0.7–1.3 и Zr/Hf = 61–68. Спектр распределения РЗЭ дифференцированный, с хорошо выраженной положительной Сe-аномалией и отрицательной Eu-аномалией (рис. 5). Циркон обладает морфологическими и геохимическими признаками, подтверждающими его магматическое происхождение.
Рис. 5. Нормированное к хондриту распределение РЗЭв цирконе (проба 26561). Номера графиков соответствуют номерам зерен на рис. 4 и номерам анализов в табл. 2.
Для проведения U–Pb (TIMS) изотопных исследований были использованы четыре навески кристаллов циркона, отобранные из размерных фракций, содержащих наименьшее количество включений. Аналитические точки изотопного состава циркона всех фракций располагаются на дискордии, рассчитанный возраст которых по верхнему пересечению с конкордией составил 429 ± 9 млн лет, СКВО = 0.009 (табл. 3, рис. 6). Нижнее пересечение отражает современные потери свинца.
Таблица 3. U–Pb изотопные данные (TIMS) для циркона из кварцевого диорита Волковского массива
№ обр. | Размер фракции, m навеска, мг | Содержание, мкг/г | Изотопные отношения | Rho | Возраст, млн лет | |||||||
Pb | U | 206Pb/ 204Pb* | 207Pb/ 206Pb* | 208Pb/ 206Pb* | 206Pb/ 238U | 207Pb/235U | 206Pb/238U | 207Pb/235U | 207Pb/206Pb | |||
К-26561/1 | −100+70, 0.5 | 19.6 | 219 | 269 | 0.10933±10 | 0.3467±2 | 0.067690±20 | 0.5171±45 | 0.42 | 422.2±1.2 | 423.2±3.4 | 428.6± 3.0 |
К-26561/2 | −100, 0.6 | 17.7 | 235 | 684 | 0.07642±8 | 0.2571±3 | 0.066078±20 | 0.5049±65 | 0.51 | 412.5±1.2 | 415.0±5.4 | 429.1± 5.1 |
К-26561/3 | +100, 0.5 | 18.5 | 242 | 556 | 0.08128±8 | 0.2825±3 | 0.065489±20 | 0.5004±75 | 0.52 | 408.9±1.2 | 411.9± 8.6 | 428.9± 8.1 |
К-26561/4 | −70, 0.6 | 16.5 | 220 | 402 | 0.09128±9 | 0.3025±3 | 0.061815±18 | 0.4721±71 | 0.57 | 386.7±1.2 | 208.5±5.9 | 428.1± 5.1 |
*Значения исправлены на масс-фракционирование, холостое загрязнение и обыкновенный свинец по модели Стейси-Крамерса (Stacey, Kramers, 1975). Погрешности соответствуют последним значащим цифрам после запятой.
Рис. 6. Диаграмма с конкордией для кварцевого диорита Волковского массива. Аналитические данные U–Pb (ID TIMS), погрешности на уровне 2σ.
Sm–Nd, Rb–Sr и Pb–Pb изотопные отношения в трех пробах кварцевых диоритов составили: (143Nd/144Nd)t = 0.512363 – 0.512425; (87Sr/86Sr)t = 0.70382 – 0.70392; 206Pb/204Pb = 18.38 – 18.57; 207Pb/204Pb = 15.56 – 15.58; 208Pb/204Pb = 38.14 – 38.30 (табл. 4).
Таблица 4. Sr–Nd–Pb изотопный состав кварцевых диоритов Волковского массива
Параметры | 26561 | 26574 | 22027 |
Rb, г/т | 19.97 | 9.91 | 19.77 |
Sr, г/т | 1423 | 1178 | 1321 |
87Rb/86Sr | 0.04059±0.00041 | 0.02432±0.00024 | 0.04330±0.00043 |
87Sr/86Sr | 0.70417±0.00001 | 0.70399±0.00001 | 0.70408±0.00001 |
(87Sr/86Sr)t | 0.70392 | 0.70384 | 0.70382 |
εSr(Т) | −1.01 | −2.20 | −2.49 |
Sm, г/т | 2.99 | 2.53 | 3.25 |
Nd, г/т | 12.3 | 12.2 | 13.27 |
147Sm/144Nd | 0.1465±0.0004 | 0.1251±0.0004 | 0.1480±0.0004 |
143Nd/144Nd | 0.512800±0.000010 | 0.512777±0.000005 | 0.512780±0.000020 |
(143Nd/144Nd)t | 0.512387 | 0.512425 | 0.512363 |
εNd(T) | 5.92 | 6.65 | 5.45 |
T(Nd)DM | 0.70 | 0.57 | 0.76 |
T(Nd)DM2st | 0.65 | 0.58 | 0.70 |
208Pb/204Pb | 38.214±0.003 | 38.144±0.005 | 38.296±0.004 |
207Pb/204Pb | 15.581±0.001 | 15.569±0.002 | 15.582±0.001 |
206Pb/204Pb | 18.431±0.001 | 18.384±0.002 | 18.572±0.002 |
Примечания. Начальные изотопные отношения и εSr(Т), εNd(T) рассчитаны на возраст 430 млн лет. Модельный возраст в млрд лет.
Обсуждение результатов
По геологической позиции кварцевые диориты Волковского массива представляют собой аналог гранитоидов среднего состава массивов Денежкин Камень и Кумба, расположенных в северной части Платиноносного пояса Урала (Воробъева и др., 1962; Ефимов, 2006). Во всех трех случаях гранитоиды локализованы в окружении габброидов, при этом диориты и габбро практически не различаются по железистости, содержанию калия и РЗЭ (рис. 2, 7), что противоречит представлениям об образовании этих пород в результате кристаллизационной дифференциации. Наиболее вероятно их образование из разных источников.
По содержанию петрогенных компонентов кварцевые диориты Волковского массива близки малокалиевым гранитоидам восточного обрамления Платиноносного пояса Урала (рис. 2). Вместе с тем, сравнение этих пород на геохимическом уровне выявляет ряд существенных различий (рис. 3, 7).
Рис. 7. Распределение нормированных (McDonough& Sun,1995) к примитивной мантии (РМ) (а, в, д) и хондриту (б, г, е) редких и редкоземельных элементов в породах Волковского массива и в гранитоидах объектов сравнения. Условные обозначения: (а, б) – Волковский массив: кварцевый диорит (1); плагиогранит (2); габбро лабрадоровое (3); монцогаббро (4). (в, г) – жильный плагиогранит Южного блока Волковского массива (5); кварцевый диорит Талтминского массива (6), диорит массива Денежкин Камень (7). (д, е) – гранодиорит Сертыньинского массива (8), диорит Тагильского массива (9). 6, 9 – (Шмелев, 2005); 7 – (Ефимов и др., 2010); 8, 9 – (Ферштатер, 2013).
Кварцевые диориты Волковского массива и тоналиты Талтминского массива (Бочкарев, 1990; Шмелев, 2005) характеризуются крутым наклоном спектра РЗЭ (La/Yb = 8–14) и отсутствием Eu-аномалии (рис. 7). Для диоритов и плагиогранитов Тагило-Баранчинского (Ферштатер, 1984, 2013) и Сертыньинского массивов (Бочкарев, 1990; Шмелев, 2005) характерна слабая дифференциация РЗЭ (La/Yb = 3–4) и отчетливо проявленная отрицательная Eu-аномалия (Eu/Eu*<0.7).
По содержанию стронция (более 1000 г/т), иттрия (менее 10 г/т) (рис. 3) и Sr/Y = 120–160 кварцевые диориты Волковского массива сопоставимы лишь с высокоглиноземистыми гранитоидами плагиоклазит-плагиогранитной серии Черноисточинского массива (Sr/Y = 120–400) (Ферштатер, 2013).
Различия в характере распределения РЗЭ в гранитоидах увязываются с литостатическим и/или водным давлением, влияющим на стабильность плагиоклаза в процессе фракционной кристаллизации базальтовых магм или плавления пород коры (Macpherson et al., 2006; Richards, Kerrich, 2007; Moyen, 2009).
Модель образования плагиогранитов и тоналитов в результате плавления пород коры получила надежное экспериментальное обоснование (Beart, Lofgren,1991; Rapp, Watson, 1995; Sen, Dunn, 1994; Winther,1996). Анализ состава модельных расплавов, полученных экспериментально, позволяет методом сравнения судить о глубине плавления, типе рестита и составе источника гранитоидов (Туркина, 2000). На диаграмме Eu–Yb (рис. 8) состав кварцевых диоритов Волковского массива соответствует расплаву, полученному дегидратационным плавлением базитового источника в равновесии с гранатсодержащим (> 7 % Gar) реститом (Hbl + Cpx ± Pl) при давлении выше 15 кбар. В экспериментах с водным плавлением сходный по составу РЗЭ расплав в равновесии с амфиболовым реститом образуется при более низких параметрах (P = 9 кбар). Близкая величина давления в области магмогенерации (P = 6–7 кбар), определенная с помощью амфибол-плагиоклазового геобарометра (Ферштатер, 1990), приводится для плагиогранитов Черноисточинского массива (Ферштатер, 2013). Соответствующая этим оценкам давления глубина генерации расплава менее 30 км выглядит более реалистичной с учетом представлений об энсиматическом характере Тагильской островодужной системы (Пучков, 2010) и согласуется с малой глубиной кристаллизации кварцевых диоритов Волковского массива (P = 2–3 кбар по амфибол–плагиоклазовому термобарометру (Holland, Blundy, 1994)).
Рис. 8. Диаграммы Yb–Eu (Туркина, 2000) (а) и La/Sm – Sm/Yb (Zarasvandi et al., 2016) (б) для гранитоидов Волковского массива и объектов сравнения. Условные обозначения как на рис. 2. Треугольниками обозначены области составов расплавов при дегидратационном (сплошные линии) и водном (пунктирные линии) плавлении базальтов в равновесии с пятью типами реститов: I – Pl+Cpx+Opx, II – Hbl + Pl ± Cpx ± Opx, III-IV – Hbl + Cpx + Pl ± Gar, V, VI – Cpx + Gar ± Hbl (Туркина, 2000). Pl – плагиоклаз; Cpx – клинопироксен; Opx – ортопироксен; Gar – гранат; Hbl – амфибол.
Высокая концентрация стронция (более 1000 г/т при Sr/Y = 120–150) в кварцевых диоритах Волковского массива предполагает, с точки зрения модели частичного плавления в условиях отсутствия граната в рестите (P < 9 кбар), высокое (более 350 г/т) содержание Sr в источнике плавления (Туркина, 2000). Учитывая геологическое положение гранитоидов и их возраст, возможным источником расплава могли служить высокостронциевые (350–900 г/т Sr (Ефимов и др., 1993; Шмелев, 2005; Ферштатер, 2013)) оливиновые габбро дунит–клинопироксенит–габбровой серии – самые ранние образования в Платиноносном поясе Урала. Возрастные оценки пород в составе серии существенно варьируют в интервале 574–441 млн лет (Попов, Беляцкий, 2006; Петров и др., 2010). Давление при их становлении, определенное амфибол–плагиоклазовым барометром по амфиболовым габбро и амфиболитам окружения, составляет 10–13 кбар в западной части Платиноносного пояса Урала и 3–4 кбар в восточной его части (Ферштатер, 2013). Среди метаморфических пород (амфиболитов и гранулитов) в окружении ультрабазитов и габбро так же известны разности с концентрацией стронция 450–500 г/т (Петров и др., 2010; Пушкарев, Готтман, 2010).
Возраст кварцевых диоритов Волковского массива 429 ± 9 млн лет с учетом погрешности определения совпадает с возрастом габброноритов Платиноносного пояса Урала (424.9 ± 2.7 млн лет (Bosch et al., 2006)), петротип которых описан в Кумбинском массиве (Ферштатер, 2013). Близкий возраст (428 ± 3 млн лет) установлен для сиенитов Кушвинского массива (Ферштатер, 2013; Холоднов и др., 2021).
Оливиновые габбро Центрального (Краснобаев и др., 2007; Ферштатер, 2013) и Южного (Аникина и др., 2014) блоков Волковского массива содержат несколько совпадающих возрастных групп циркона (2682 ± 37– 655 ± 15 млн лет; 565 ± 9 млн лет; 450 ± 12 млн лет и 343 ± 8 млн лет), что позволяет, хотя и с большой долей условности, говорить о их позднеордовикском возрасте, т. е. более древнем по отношению к кварцевым диоритам и монцонитоидам.
Большинство имеющихся определений возраста гранитоидов, ассоциированных с габбро Платиноносного пояса Урала, укладываются в интервал 440–430 млн лет (табл. 5), и перекрываются во времени с формированием известково-щелочных вулканогенных комплексов Тагильской островной дуги. Исключение составляют более молодые датировки пород плагиоклазит–плагиогранитной серии (410–420 млн лет), сопоставимые с возрастом вулканитов шошонит-латитового типа, завершающих островодужный магматизм ТВЗ (Язева, Бочкарев, 2003; Десятниченко и др., 2005; Смирнов и др., 2008).
Таблица 5. Возрастные датировки гранитоидов Платиноносного пояса Урала
Массив | Порода | Характеристики породы | Метод | Возраст, млн лет | Ссылка |
Волковский | Кварцевый диорит | SiO2 = 59–62 мас. %; K2O = 0.6–1.7 вес. %; f = 0.64–0.70; La/Yb = 10; Sr/Y =120; 1000–1200 г/т Sr | U–Pb, TIMS | 429 ± 9 | данные этой статьи |
Денежкин Камень | Габбродиорит | SiO2 = 52 мас. %; K2O = 1.18 вес. %; f = 0.73; La/Yb = 8; 532 г/т Sr | Sm–Nd, TIMS | 416 ± 15 | Ефимов и др., 2010 |
Гранодиорит | Нет данных | U–Pb, SHRIMP | 424.8 ± 7.4 | Маегов, 2008 | |
Тагильский | Кварцевый диорит | SiO2 = 60 мас. %; K2O = 1.49 вес. %; f = 0.70; La/Yb = 3; Sr/Y = 14; 370 г/т Sr | U–Pb, NORDSIM | 443 ± 5 | Ферштатер, 2013 |
Маньинский | Кварцевый диорит | Нет данных | U–Pb, LA ICP-MS | 436 ± 5 | Петров и др., 2016 |
Гранодиорит | Нет данных | 439.1 ± 1.3 | |||
Южно-Помурский | Гранит | Нет данных | U–Pb, LA ICP-MS | 423.4 ± 4.4 | Петров и др., 2016 |
Волковский | Плагиогранит | SiO2 = 69 мас. %; K2O = 1.75 вес. %; f = 0.75; La/Yb = 7; Sr/Y = 37; 260 г/т Sr | U–Pb, LA ICP-MS | 409 ± 2.3 | Аникина и др., 2018 |
Черноисточинский | Диорит | SiO2 = 52–55 мас. %; K2O = 0.1-0.2 вес. %; f = 0.70–0.75; La/Yb = 4–5; Sr/Y = 200–400; 1000–1500 г/т Sr | U–Pb, NORDSIM | 422 ± 11 | Ферштатер, 2013 |
Плагиогранит | SiO2 = 72–74 мас. %; K2O = 0.1–0.2 вес. %; f = 0.70–0.80; La/Yb = 6; Sr/Y = 400; 580 г/т Sr* | U–Pb, SHRIMP | 411.7 ± 6.5 | Иванов и др., 2014 | |
Кытлымский | Диорит | SiO2 = 56 мас. %; K2O =1.34 вес.%; f = 0.70; La/Yb = 64; Sr/Y = 400; 640 г/т Sr | U–Pb, SHRIMP | 416.2 ± 6 | Ферштатер, 2013 |
Плагиогранит | SiO2 = 68 мас. %; K2O = 0.09 вес. %; f = 0.80; La/Yb = 6; Sr/Y = 460; 929 г/т Sr | U–Pb, TIMS | 413 ± 2 | Ферштатер, 2013 | |
Плагиогранит | SiO2 = 70 мас. %; K2O = 0.1 вес. %; f = 0.75; La/Yb = 15; 500–630 г/т Sr | U–Pb, TIMS | 415 ±10 416.6 ± 1.6 | Ефимов и др., 2005 | |
Каменушенский | Гранит | SiO2 = 72.9 мас. %; K2O = 0.7 вес. %; f = 0.64; La/Yb = 13; Sr/Y = 119; 284 г/т Sr | U–Pb, SHRIMP | 384.9 ± 0.6 | Степанов и др., 2021 |
* Данные приведены по (Ферштатер, 2013); f = FeOобщ/(MgO+ FeOобщ).
Ключевым вопросом остается возраст Cu–Pd–Au–Ag оруденения, локализованного в оливиновых габбро по периферии кварцдиоритовой интрузии и, очевидно, связанного с процессом перекристаллизации рудовмещающих пород, сопровождающейся амфиболизацией и биотитизацией (Полтавец и др., 2011).
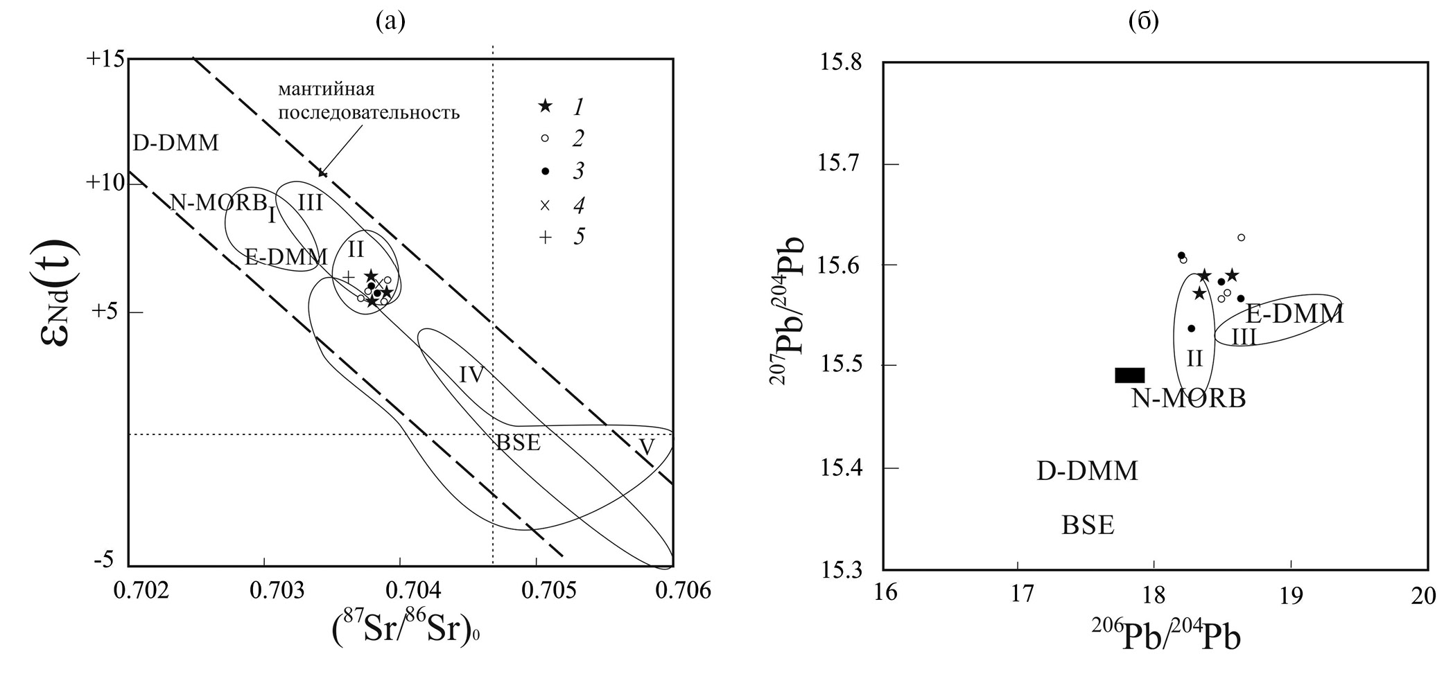
Sr–Nd изотопные характеристики кварцевых диоритов (ƐNd(T) = +5.9 ÷ +6.7; 87Sr/86Sr)t = 0.70382 – – 0.70392) указывают на ювенильный источник с модельным возрастом 560–780 млн лет (табл. 4, рис. 9а). Близкие значения демонстрируют оливиновые габбро и монцогаббро Центрального габбрового блока Волковского массива, а также изученные ранее (Аникина и др., 2018) габбро и плагиограниты Южного блока Волковского массива. В целом, сходные Sr–Nd параметры, отвечающие деплетированному верхнемантийному источнику, характерны для базальтов срединно-океанических хребтов и энсиматических островных дуг. Похожие изотопные характеристики имеют, например, известково–щелочные базальт–андезит–дацит–риолитовые лавы Центрального Минданао (южные Филиппины) (Сastillo et al., 1999; Sajona et al., 2000), островов Тонга (Escrig et al., 2009) и Центральных Алеут (Romiеk et al., 1992). Напротив, окраинно-континентальные андезиты и адакиты, например (Petford et al., 1996; Kolb et al., 2013), имеют менее радиогенный изотопный состав неодима и более радиогенный изотопный состав стронция, что объясняется влиянием сиалической континентальной коры.
Рис. 9. Изотопный состав Sr, Nd (а) и Pb (б) в породах Волковского массива. Центральный блок: 1 – кварцевый диорит; 2 – оливиновое габбро; 3 – монцогаббро. Южный блок: 4 – габбро; 5 – плагиогранит. Прямоугольником обозначено поле изотопного состава Pb в габбро Платиноносного пояса Урала (Chugaev et al., 2022). Римскими цифрами на рисунке показаны области изотопного состава: I – андезита и дацита Алеутских островов (Romiеk et al., 1992); II – базальт-андезит-дацит-риолитовых лав южных Филиппин (Сastillo et al., 1999; Sajona et al., 2000); III – базальтов дуги Тонга (Escrig et al., 2009), IV – пород батолита Кордильера Бланка (Перу) (Petford et al., 1996), V – андезита и гранитоидов Балкано-Карпатской дуги (Kolb et al., 2013). Изотопный состав источников D-DMM, N-MORB, E-DDM, BSE по (Workman, Hart, 2005).
Величины отношений изотопов свинца в кварцевых диоритах (206Pb/204Pb = 8.38–18.57; 207Pb/204Pb = 15.56–15.58; 208Pb/204Pb = 38.14–38.30), а также в оливиновых габбро и монцогаббро Волковского массива (рис. 9б) не выходят за пределы статистического разброса значений этих параметров для деплетированной верхней мантии (DММ±2σ (Workman, Hart, 2005)) и, соответственно, не вступают в противоречие с распространенными представлениями о надсубдукционной природе Платиноносного Пояса Урала и Тагильской вулканогенной зоны. Близкие значения отношений изотопов свинца определены, например, в вулканитах Южных Филиппин (Castillo et al., 1999; Sajona et al., 2000) и островов Тонга (Escrig et al., 2009). Спектры распределения нормированных на примитивную мантию концентраций редких элементов в кварцевых диоритах с характерными минимумами Nb, Ti и максимумом Sr (рис. 4а) так же не противоречат их островодужной природе.
Заключение
Кварцевые диориты Волковского массива с возрастом 429±9 млн лет сформировались позднее оливиновых габбро, возраст которых считается позднеордовикским. Геохимические характеристики кварцевых диоритов и оливиновых габбро указывают на образование этих пород из разных источников.
Высокая (> 1000 г/т) концентрация Sr, низкая концентрация Y (< 10 г/т) и РЗЭ (< 60 г/т), обеднение тяжелыми РЗЭ (La/Yb = 8–14) при слабой положительной Eu-аномалии (Eu/Eu* = 0.9–1.4) в кварцевых диоритах согласуется с результатами экспериментов по плавлению базитового источника в водонасыщенных условиях, в равновесии с амфибол–пироксеновым реститом и свидетельствует о их коровом происхождении.
Sr–Nd–Pb изотопные характеристики кварцевых диоритов (ƐNd(T) = +5.5 ÷ +6.7; (87Sr/86Sr)t = 0.70382–0.70392; 206Pb/204Pb = 18.38–18.57; 207Pb/204Pb = 15.56–15.58; 208Pb/204Pb = 38.14–38.30), отвечающие ювенильному источнику с модельным возрастом 570–760 млн лет, близки соответствующим параметрам габброидов. Полученные данные согласуются с представлениями об островодужной природе Платиноносного пояса Урала.
Одновозрастность кварцевых диоритов Волковского массива (429±9 млн лет) с монцонитоидами и пространственная совмещенность тех и других на современном эрозионном срезе позволяет рассматривать эти породы как результат одновременного мантийно-корового плавления на завершающей стадии формирования Тагильской островной дуги.
Авторы признательны научному редактору О. А. Луканину и рецензентам В. С. Антипину и С. Ю. Степанову за ценные замечания и конструктивную критику.
Исследования выполнены в рамках госзадания ИГГ УрО РАН, тема № 123011800009-9.
Об авторах
Е. В. Аникина
Институт геологии и геохимии им. акад. А.Н. Заварицкого УрО РАН
Автор, ответственный за переписку.
Email: td1963@live.ru
Россия, 620110, г. Екатеринбург, ул. Академика Вонсовского, 15
Н. M. Кудряшов
Геологический институт КНЦ РАН
Email: td1963@live.ru
Россия, 184209, Мурманская обл., г. Апатиты, ул. Ферсмана, 14
Н. Г. Солошенко
Институт геологии и геохимии им. акад. А.Н. Заварицкого УрО РАН
Email: td1963@live.ru
Россия, 620110, г. Екатеринбург, ул. Академика Вонсовского, 15
И. А. Русин
Институт геологии и геохимии им. акад. А.Н. Заварицкого УрО РАН
Email: rusin@igg.uran.ru
Россия, 620110, г. Екатеринбург, ул. Академика Вонсовского, 15
М. В. Червяковская
Институт геологии и геохимии им. акад. А.Н. Заварицкого УрО РАН
Email: td1963@live.ru
Россия, 620110, г. Екатеринбург, ул. Академика Вонсовского, 15
Список литературы
- Аникина Е. В., Краснобаев А. А., Ронкин Ю. Л., Алексеев А. В., Бушарина С. В., Капитонов И. Н., Лохов К. И. (2014) Изотопная геохимия и геохронология габбро Волковского массива на Урале. Геохимия. (2), 99–123.
- Anikina E. V., Krasnobaev A. A., Ronkin Y. L., Alexeev A. V., Busharina S. V., Kapitonov I. N., Lokhov K. I. (2014) Isotope geochemistry and geochronology of the gabbro of the Volkovsky massif, Urals. Geochem. Int. 52 (2), 89–110.
- Аникина Е. В., Малич К. Н., Белоусова Е. А., Баданина И. Ю., Солошенко Н. Г., Русин И. А., Алексеев А. В. (2018) U–Pb возраст и Hf–Nd–Sr изотопная систематика жильных пород Волковского массива (Средний Урал, Россия). Геохимия. (3), 209–221.
- Anikina E. V., Malitch K. N., Badanina I. Y., Soloshenko N. G., Rusin I. A., Alekseev A. V., Belousova E. A. (2018) U–Pb Age and Hf–Nd–Sr isotopic systematics of vein rocks of the Volkovsky massif, Middle Urals, Russia. Geochem. Int. 56 (3), 199–210.
- Аникина Е. В., Русин И. А., Кнауф В. В., Гарути Дж., Заккарини Ф., Пушкарев Е.В, Берсенев С. Я. (2004) Новые данные о составе золото-палладиевого оруденения в ультрамафит-мафитовом разрезе южного блока Волковской интрузии на Среднем Урале. ДАН. 396 (3), 377–382.
- Бочкарев В. В. (1990) Магматические формации северной части Приполярного Урала. Екатеринбург: Изд-во УрО РАН, 67 с.
- Воробъева О. А., Самойлова Н. В., Свешникова Е. В. (1962) Габбро-пироксенит-дунитовый пояс Среднего Урала. Тр. Института геологии рудных месторождений, петрографии, минералогии и геохимии. 65. М.: Изд-во АН СССР, 318 с.
- Государственная геологическая карта Российской Федерации. (2006) Масштаб 1: 200 000. Издание второе. Серия Среднеуральская. Лист О-40-XVIII (Кушва). Объяснительная записка. СПб.: Картографическая фабрика ВСЕГЕИ, 227 с.
- Десятниченко Л. И., Фадеичева И. Ф., Смирнов В. Н., Медведева Т. Ю., Бороздина Г. Н. (2005) Позднеордовикско-силурийские вулканические комплексы Тагильской зоны (восточный склон Среднего Урала): вещественный состав, возраст, уточненная схема расчленения. Литосфера. (2), 68–96.
- Ефимов А. А. (2003) Генезис жильных плагиогранитов Черноисточинского ареала в Тагильском массиве (Платиноносный пояс Урала): десиликация плагиогранитного протолита в габбро. Литосфера. (3), 41–62.
- Ефимов А. А., Ронкин Ю. Л., Зиндерн С., Крамм У., Лепихина О. П., Попова О. Ю. (2005) Новые U-Pb данные по цирконам плагиогранитов Кытлымского массива: изотопный возраст поздних событий в истории Платиноносного пояса Урала. ДАН. 403 (4), 512–516.
- Ефимов А. А. (2006) Гранитоиды в структуре Платиноносного массива Денежкин Камень (Северный Урал). Тр. Института геологии и геохимии им. акад. А. Н. Заварицкого. Екатеринбург: Изд-во УрО РАН, 153. 149–154.
- Ефимов А. А., Ронкин Ю. Л., Лепихина О. П. (2010) Гранитоидный магматизм и водный метаморфизм в истории Платиноносного пояса Урала: Sm-Nd (ID-TIMS) изотопные ограничения. ДАН. 435 (6), 770–775.
- Ефимов А. А. (2006) Платино-палладиевое медно-титано-магнетитовое оруденение в габбро Серебрянского Камня (Северный Урал). Региональная геология и металлогения. 28, 113–121.
- Золоев К. К., Волченко Ю. А., Коротеев В.А, Малахов И. А., Мардиросьян А. Н., Хрыпов В. Н. (2001) Платинометальное оруденение в геологических комплексах Урала. Екатеринбург: Изд-во ДПР по Уральскому округу, ОАО УГСЭ, ИГГ УрО РАН, УГГГА, 199 с.
- Иванов К. С., Наставко Е. В. (2014) Новые данные о возрасте Тагильского комплекса Платиноносного пояса Урала. Литосфера. (3), 77–87.
- Кашин С. А. (1948) Медно-титаномагнетитовое оруденение в основных интрузивных породах Урала. М.: Изд-во АН СССР, 132 с.
- Краснобаев А. А., Беа А., Ферштатер Г. Б., Монтеро П. (2007) Полихронность цирконов габброидов Платиноносного пояса Урала и проблема докембрия в Тагильском мегасинклинории. ДАН. 413 (6), 785–790.
- Маегов В. И. (1999) К петрологии Волковского месторождения медносульфидных и апатит-титаномагентитовых руд (Средний Урал). Уральский геологический журнал. (5), 57–71.
- Маегов В. И. (2008) Петрология дунит-клинопироксенит-габбровой ассоциации Денежкинского массива, Платиноносный пояс Урала. Екатеринбург: Изд-во ОАО УГСЭ, 75 с.
- Петров Г. А. (2006) Геология и минералогия зоны Главного Уральского разлома на Среднем Урале. Екатеринбург: Изд-во УГГУ, 195 с.
- Петров Г. А., Ронкин Ю. Л., Гердес А., Маслов А. В. (2016) Новые данные о составе и возрасте гранитоидов северной части Тагильской структуры (Урал). ДАН. 271 (4), 465–469.
- Петров Г. А., Ронкин Ю. Л., Маегов В. И., Тристан Н. И., Маслов А. В., Пушкарев Е. В., Лепихина О. П. (2010) Новые данные о составе и возрасте комплексов основания Тагильской палеоостроводужной системы. ДАН. 432 (4), 499–505.
- Петрографический кодекс (2009). СПб.: Изд-во ВСЕГЕИ, 198 c.
- Полтавец Ю. А., Полтавец З. И., Нечкин Г. С. Волковское месторождение титаномагнетитовых и медно-титаномагнетитовых руд с сопутствующей благороднометальной минерализацией (Средний Урал, Россия). Геология рудных месторождений. 53 (2), 143–157.
- Попов В. С., Беляцкий Б. В. (2006) Sm-Nd возраст дунит-клинопироксенит-тылаитовой ассоциации Кытлымского массива, Платиноносный пояс Урала. ДАН. 409 (1), 104–109.
- Попов В. С., Никифорова Н. Ф. (2004) Ультрамафиты, габброиды и титаномагнетитовые руды Качканара (Средний Урал): интегральная петрологическая модель. Геохимия. (1), 15–32.
- Popov V. S., Nikiforova N. F. (2004) Ultramafic rocks, gabbroids, and titanomagnetite ore at Kachkanar, the Central Urals: an integrated petrological model. Geochem. Int. 42 (1), 11–25.
- Пучков В. Н. (2010) Геология Урала и Приуралья (актуальные вопросы стратиграфии, тектоники, геодинамики и металлогении). Уфа: Изд-во ИГ УНЦ РАН, 280 с.
- Пушкарев Е. В., Готтман И. А. (2010) Гранат-ферросилит-пижонитовые гранулиты в обрамлении дунит-клино-пироксенитового массива Светлый Бор (Средний Урал) – фрагмент нижнекорового метаморфического комплекса, выведенного на поверхность. Тр. Института геологии и геохимии им. акад. А. Н. Заварицкого. Екатеринбург: Изд-во УрО РАН. 157, 181–186.
- Смирнов В. Н., Бороздина Г. Н., Десятниченко Л. И., Иванов К. С., Медведева Т. Ю., Фадеичева И. Ф. (2006) О времени раскрытия Уральского палеоокеана (биостратиграфические и геохимические данные). Геология и геофизика. 47 (6), 755–761.
- Смирнов В. Н., Фадеичева И. Ф., Иванов К. С. (2008) Геохимические особенности вулканитов Тагильской зоны Урала как показатель геодинамических условий их образования. ДАН. 422 (6), 807–810.
- Степанов С. Ю., Кутырев А. В., Лепехина Е. Н., Шарпенок Н. С., Антонов А. В., Кутырева М. Э. (2021) Возраст образования дайкового комплекса в дунитовом “ядре” Каменушенского клинопироксенит-дунитового массива (Платиноносный пояс Урала, Средний Урал). Геохимия. 66 (6), 499–517.
- Stepanov S. Y., Kutyrev A. V., Lepekhina E. N., Sharpenok L. N., Antonov A. V., Kutyreva M. E. (2021) Age of the dike complex in the dunite “core” of the Kamenushinsky clinopyroxenite–dunite massif, Ural Platinum Belt, Middle Urals. Geochem. Int. 59 (6), 559–576.
- Туркина О. М. (2000) Модельные геохимические типы тоналит-трондьемитовых расплавов и их природные эквиваленты. Геохимия. (7), 704–717.
- Turkina O. V. (2000) Modeling geochemical types of tonalite-trondhjemite melts and their natural equivalents. Geochem. Int. 38(7), 640–651.
- Ферштатер Г. Б. (1990) Эмпирический плагиоклаз-роговообманковый барометр. Геохимия. (3), 328.
- Ферштатер Г. Б. (2013) Палеозойский интрузивный магматизм Среднего и Южного Урала. Екатеринбург: Изд-во УрО РАН, 368 с.
- Ферштатер Г. Б., Малахова Л. В., Бородина Н. С., Раппопорт М. С., Смирнов В. Н. (1984) Эвгеосинклинальные габбро-гранитоидные серии. М.: Наука, 264 с.
- Фоминых В. Г., Клевцов Е. И. (1984) Волковское месторождение. Формации титаномагнетитовых руд и железистых кварцитов: Железорудные месторождения Урала. Свердловск: УНЦ АН СССР, 72–91.
- Холоднов В. В., Шардакова Г. Ю., Пучков В. Н., Петров Г. А., Шагалов Е. С., Салихов Д. Н., Коровко А. В., Прибавкин С. В., Рахимов И. Р., Бородина Н. С. (2021) Палеозойский гранитоидный магматизм Урала как отражение этапов геодинамической и геохимической эволюции коллизионного орогена. Геодинамика и тектонофизика. 12 (2), 225–245.
- Шмелев В. Р. (2005) Магматические комплексы зоны Главного Уральского разлома (Приполярный сектор) в свете новых геохимических данных. Литосфера. (2), 41–59.
- Штейнберг Д. С., Еремина М. В. (1963) Новые данные по петрологии Волковского месторождения. Магматизм, метаморфизм и металлогения Урала. Свердловск: УФАН СССР, 1. 431–438.
- Штейнберг Д. С., Фоминых В. Г. (1968) О генезисе титаномагнетитов. Эндогенные рудные месторождения. Международный геологический конгресс. 23 сессия. Доклады советских геологов. М.: Наука, 15–26.
- Язева Р. Г., Бочкарев В. В. (2003) Платиноносный пояс Урала и Тагильская палеодуга: соотношения магматизма и геодинамики. Геотектоника. (2), 75–86.
- Beard J. S., Lofgren G. E. (1991) Dehydration melting and water-saturated melting of basaltic and andesitic green-stones and amphibolites at 1, 3, 6.9 Кbar. J. Petrol. 32, 365–401.
- Bosch D., Bruguier O., Efimov A. A., Krasnobayev A. A. (2006) U-Pb Silurian age for a gabbro of the Platinum-bearing Belt of the Middle Urals (Russia): evidens for beginning of closure of the Uralian Ocean. In Memoirs Geol. Soc, London. 32, 443–448.
- Castillo P. R., Janney P., Solidum R. U. (1999) Petrology and geochemistry of Camiguin Island, southern Philippines: insights to the source of adakites and other lavas in a complex arc setting. Contrib. Mineral. Petrol. 134, 33–51.
- Chugaev A. V., Plotinskaya O. Yu., Dubinina E. O., Stepanov S. Yu., Gareev B. I., Batalin G. A., Rassokhina I. V., Chizhova Ju.V. (2022) Mixed crustal-mantle source of porphyry Cu Mo deposits of the Urals: Pyrite trace element geochemistry and Pb – S isotope data. J Geochem Explor. 242. 107075.
- Escrig S., Be´zos A., Goldstein S. L., Langmuir C. H., Michael P. J. (2009) Mantle source variations beneath the Eastern Lau Spreading Center and the nature of subduction components in the Lau basin–Tonga arc system. Geochem. Geophys. Geosyst. 10, Q04014. doi: 10.1029/2008GC002281.
- Frost B. R., Arculus R. J., Barnes C. G., Collins W. J., Ellis D. J., Frost C. D. (2001). A Geochemical Classification of Granitic Rocks. J. Petrol. 42 (11), 2033–2048.
- Henry D. J., Guidotti C. V., Thomson J. A. (2005) The Ti-saturation surface for low-to-medium pressure metapelitic biotites: implications for geothermometry and Ti-substitution mechanisms. Am. Mineral. 90, 316–328.
- Holland, T., Blundy, J. (1994) Non-ideal interactions in calcic amphiboles and their bearing on amphibole-plagioclase thermometry. Contrib. Mineral. Petrol. 116, 433–47.
- Kolb M., Von Quadt A., Peytcheva I., Heinrich C. A., Fowler S. J., Cvetkovic V. (2013) Adakite-like and normal arc magmas: distinct fractionation paths in the East Serbian Segment of the Balkan-Carpathian arc. J. Petrol. 54 (3), 421–451.
- Krogh T. E. (1973) A low-contamination method for hydrothermal dissolution of zircon and extraction of U and Pb for isotopic age determinations. Geochim. Cosmohim. Acta. 37, 485–494.
- Ludwig K. R. (1999) ISOPLOT/Ex – A geochronological toolkit for Microsoft Excel, Version 2.05. Berkeley Geochronology Center Special Publication, (1a).
- Macpherson C. G., Dreher S. T., Thirlwall M. F. (2006) Adakites without slab melting: High pressure differentiation of island arc magma, Mindanao, the Philippines. Earth Planet. Sci. Lett. 243, 581–593.
- McDonough W.F., Sun S.-s. (1995) The composition of the Earth. Chem. Geol. 120, 223–253.
- Moyen J.-F. (2009) High Sr/Y and La/Yb ratio: The meaning of the “adakitic signature”. Lithos. 112, 556–574.
- O’Connor J.T. (1965) A classification for quartz-rich igneous rocks based on fieldspar rations. U. S. Geol. Surv., Prof. Paper. 525B, 79–84.
- Pecerillo A., Taylor S. R. (1976) Geochemistry of Eocene calc-alkaline volcanic rock from the Kastamoon area, Northen Turkey. Contrib. Mineral. Petrol. 58, 63–81.
- Petford N., Atherton M. P., Halliday A. N. (1996) Na-rich partial melts from newly anderplated basaltic crust: the Cordillera Blanca Batholith, Peru. J. Petrol. 37, 1491–1521.
- Rapp R. P., Watson E. B. (1995) Dehydration melting of metabasalt at 8–32 Kbar: Implications for continental growth and crust-mantle recycling. J. Petrol. 36, 891–931.
- Richards J. R., Kerrich R. (2007) Special paper: Adakite-like rocks: their diverse origins and questionable role in metallogenesis. Econ. Geol. 102 (4), 537–576.
- Romiek J. D., Kay M. S., Kay R. W. (1992) The influence of amphibole fractionation on the evolution of calc-alkaline andesite and dacite tephra from the central Aleutians, Alaska. Contrib. Mineral. Petrol. 112, 101–118.
- Sajona F. G., Maury R. C., Pubellier M., Leterrier J., Bellon H., Cotton J. (2000) Magmatic source enrichment by slab-derived melt in young post-collision setting, central Mindanao (Philippines). Lithos. 54, 173–206.
- Sen C., Dunn T. (1994) Dehydration melting of a basaltic composition amphibolites at 1.5 and 2.0 GPa: implications for the origin of adakites. Contrib. Mineral. Petrol. 117, 394–409.
- Stacey J. S., Kramers J. D. (1975) Approximation of terrestrial lead isotope evolution by a two-stage model. Earth Planet. Sci. Lett. 26 (2), 207–221.
- Winther T. K., Newton R. C. (1991) Experimental melting of anhydrous low-K tholeiite: vidence on the origin of Archaean cratons. Bull. Geol. Soc. Den. 39.
- Workman R. K., Hart S. R. (2005) Major and trace element composition of the depleted MORB mantle (DMM). Earth Planet. Sci. Lett. 231, 53–72.
- Zaccarini F., Anikina E. V., Pushkarev E. V., Rusin I. A., Garuti G. (2004) Palladium and gold minerals from the Baronskoe-Kluevsky ore deposit (Volkovsky complex, Central Urals, Russia). Mineral. Petrol. 82, 137–156.
- Zarasvandi A., Rezaei M., Sadeghi M., Lentz D., Adelpour M., Pourkaseb H. (2016) Rare Earth Element Signatures of Economic and Sub-Economic Porphyry Copper Systems in Urumieh–Dokhtar Magmatic Arc (UDMA), Iran. Ore Geol. Rev. 70, 407–423.
Дополнительные файлы











