A study of the magnetoelastic effect in metallic textured NiWx (x = 5.5, 6.0, 7.4, AND 7.7 at %) ribbons
- Authors: Nikonov А.А.1
-
Affiliations:
- National Research Center “Kurchatov Institute”
- Issue: Vol 125, No 5 (2024)
- Pages: 507-512
- Section: ЭЛЕКТРИЧЕСКИЕ И МАГНИТНЫЕ СВОЙСТВА
- URL: https://ogarev-online.ru/0015-3230/article/view/272564
- DOI: https://doi.org/10.31857/S0015323024050033
- EDN: https://elibrary.ru/XXUYMU
- ID: 272564
Cite item
Full Text
Abstract
the dependence of the differential magnetic susceptibility cac(T) of metallic biaxially textured NiWx ribbons with a tungsten content x = 5.5, 6.0, 7.4, 7.7 at% on plane mechanical tension and compressive stresses has been studied in the temperature range 50–350 K. To create the tensile and compressive stresses, the thermal cycling procedure is applied to the ribbons glued to the substrates made of Si and aluminum alloy D16T, respectively. It is shown that the main peculiarities of the magnetic susceptibility behavior can be explained by magnetic orientation transitions and the occurrence of internal stresses s(T) that exceed the elastic limit of NiWx.
Full Text
Введение
Магнитоупругий эффект, т.е. эффект влияния упругих напряжений на намагниченность, был открыт в конце 19 века. К середине 20 века это явление было хорошо изучено и в основном нашло свое объяснение [1–4]. Понимание особенностей его проявления в различных условиях (магнитных полях, температурах, механических нагрузках) широко используется при создании и исследовании новых материалов, при разработке новых производственных технологий. Одним из примеров такого материала является новое поколение высокотемпературных сверхпроводников ВТСП-2G. Они представляют собой многослойный пакет тонких, меньше одного микрона толщиной, керамических сверхпроводящих и буферных слоев, нанесенных на металлическую подложку толщиной 50–100 мкм. Часто подложкой для сверхпроводящего слоя являются биаксиально текстурированные ленты из ферромагнитных сплавов никеля NiWх или Ni(CrW)х. В настоящее время установлено, что важнейший эксплуатационный параметр ВТСП-2G – критический ток, очень чувствителен к воздействию механических напряжений и деформаций [5, 6]. Уже в ходе самого процесса нанесения буферных и сверхпроводящих слоев разными методами возникают значительные внутренние напряжения. Эти напряжения возникают как из-за разницы параметров решетки, так и из-за различия коэффициентов теплового расширения соседних слоев [7–10]. Кроме того, значительные напряжения могут возникать в ВТСП ленте в процессе изготовления и эксплуатации готовых устройств [11, 12]. Одним из методов, используемых для решения этой проблемы, является улучшение прочностных характеристик лент путем увеличения концентрации вольфрама и хрома. Это приводит к повышению предела упругости s0.2 и прочности, уменьшению температуры Кюри (TC) и намагниченности насыщения [15–22]. Влияние напряжений на сверхпроводящие свойства таких ВТСП лент изучается очень интенсивно, однако данных о влиянии напряжений на магнитные свойства очень мало. Ранее автором были представлены результаты исследования влияния плоских механических напряжений на магнитную восприимчивость NiWх ленты фирмы EVICO (Германия) c x = 5.0 ат.% [13]. Показано, что основные особенности поведения магнитной восприимчивости можно объяснить магнито-ориентационными переходами и возникновением внутренних напряжений s(T), приводящих к образованию остаточной деформации. В данной работе представлены результаты исследования плоских механических напряжений на магнитную восприимчивость NiWх лент c x = 5.5, 6.0, 7.4, 7.7 ат.%.
Образцы и методы исследования
Исследовано влияние плоских механических напряжений на магнитную восприимчивость NiWх лент, произведенных в ВНИИНМ им. Бочвара (Россия), c x = 5.5, 6.0, 7.4, 7.7 ат.% (соответственно 15.7, 16.6, 20.0, 20.7 вес.%), изготовленных по технологии холодной прокатки и отжига. Технология производства, результаты исследований структурных и механических свойств этих лент представлены в работах [24, 25]. С помощью термомеханической обработки в этих лентах удалось получить ~99% текстуры прокатки (001)[100] с размером зерна ~10 мкм и углом разориентации по направлениям [100], [010], [001] от 4 до 8 градусов. “Монокристалл”, оси [100] и [010] лежат в плоскости ленты. Ось [100] параллельна направлению прокатки. Однородность распределения указанных параметров по ширине, толщине и длине ленты после отжига (1000°С, 15 мин) достаточно высока. Ширина лент 10 мм, толщина 70 мкм, поверхность ленты зеркальная. Образцы в форме круга с диаметром 8 мм вырезали из ленты с помощью специального ножа.
Дифференциальная магнитная восприимчивость измерена методом взаимоиндукции. Две одинаковые цилиндрические приемные катушки диаметром D12=12 мм, длиной L12=8 мм и числом витков N12=200 включены навстречу друг другу. Приемные катушки располагаются внутри первичной катушки, создающей слабое переменное магнитное поле h=h0·sin(wt) с амплитудой h0=1 Э и частотой 30 Гц. Длина первичной катушки L=80 мм, диаметр D=14 мм. Все катушки коаксиальны. Полезный сигнал регистрировали с помощью фазочувствительного детектора. Внутри системы катушек помещали медную прямоугольную пластину длиной 50 мм, шириной 9 мм и толщиной 1 мм. Эту пластину центрировали внутри приемных катушек с помощью тефлоновых колец так, что ее большая ось симметрии совпадала с осью симметрии системы катушек. К этой пластине с помощью бронзовой пружины прижимали образец и угольный термометр сопротивления. Центр образца совпадал с центром одной из приемных катушек, а его плоскость – с осью катушек. Ошибка в определении температуры образца составляла ~1% во всем исследуемом интервале температур 50–350 К. Регулирование температуры осуществляли с помощью проволочного нагревателя, намотанного бифилярно на медный стакан, закрывающий весь измерительный блок. Скорость изменения температуры не превышала одного градуса в минуту. Для достижения температуры ~50 К использовали откачку паров азота.
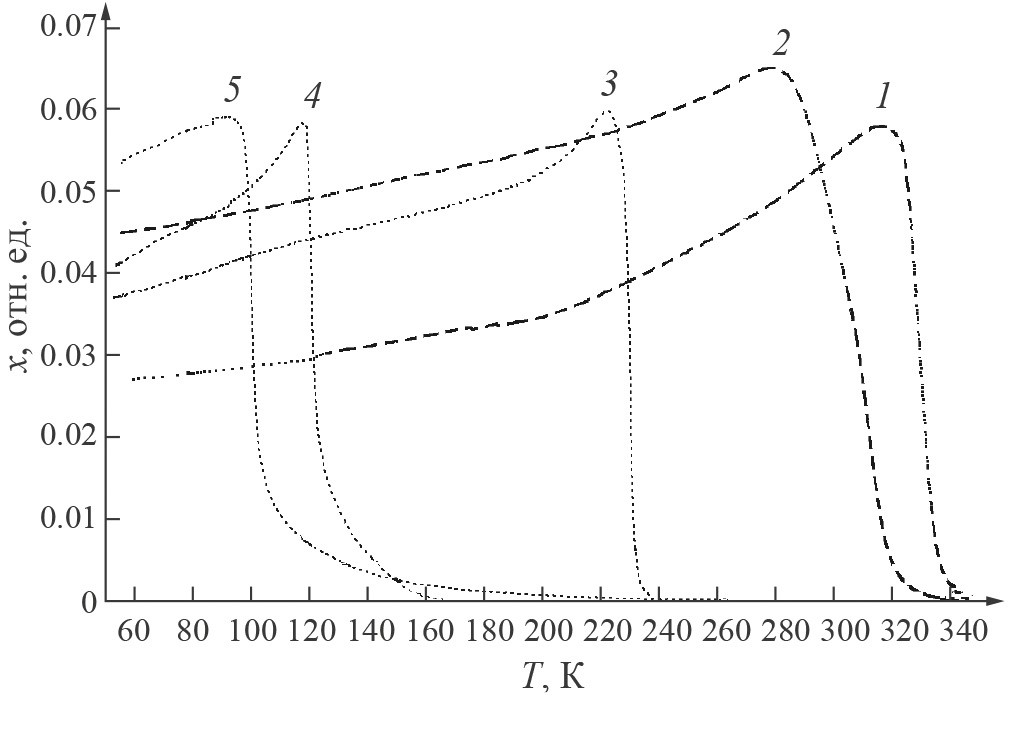
На рис. 1 представлены данные измерений зависимости cac(T) неприклеенных образцов лент NiWx. Полученная концентрационная зависимость ТС(х) соответствует литературным данным [17, 21].
Рис. 1. Магнитная восприимчивость лент NiWx, где 1 – х=5.0% (EVICO), 2 – х=5.5%, 3 – х=6.0%, 4 – х=7.4%, 5 – х=7.7%.
Для создания плоского напряжения образцы NiWx приклеивали между двумя одинаковыми пластинками из Si или D16T (алюминиевый сплав) с помощью клея БФ2. Пластинки имели форму круга диаметром 8 мм и толщиной 0.5 мм. Клей наносили на всю поверхность NiWx образца. Сушку клеевого соединения проводили при температуре Тсуш=360 К. В зависимости от знака DКТР (DКТР = КТРNiW – КТРSi > 0, DКТР = = КТРNiW – КТРD16T < 0) при понижении температуры в образце возникает и растет плоское однородное напряжение растяжения или сжатия соответственно. Максимально достижимое значение напряжения ограничивается пределом упругости s0.2 материала ленты NiWх и используемых пластин. Предел упругости материалов пластин намного превышает предел упругости s0.2 сплавов NiWх [7, 14-23], представленный пунктирными линиями на вставке рис. 2г . Температурные зависимости внутренних механических напряжений s(T), рассчитанные на основании экспериментальных значений КТР, модуля Юнга и s0.2 для склеек Si–NiWх также представлены на вставке рис. 2г. Для пары Si–NiWx при охлаждении в NiWx возникает напряжение растяжения. При уменьшении температуры ниже Т(s = s0.2) в материале начинается пластическое течение и возникает остаточная деформация. В начале нагревания образцов от 50 К уменьшение напряжения происходит благодаря упругой деформации. По мере роста температуры напряжение может изменить знак. Следствием возникновения остаточной деформации является возникновение гистерезиса на зависимостях s(Т) и c(T, s).
Рис. 2 Температурные зависимости cac(T) склеек Si/NiWx/Si, высушенных при Т=360 К; а) х=5.5 ат.%; б) х=6.0 ат.%; в) х=7.4 ат.%; г) х=7.7 ат.%, пунктир – свободные ленты. На зависимостях cac(T, s) склеек с х=7.4 и 7.7 ат.% наблюдается очень слабый гистерезис.
Магнитная восприимчивость приклеенных образцов
К сожалению, данные о температурных и концентрационных зависимостях констант магнитной анизотропии К1- и К2-сплавов NiWx отсутствуют. Однако с большой долей вероятности можно предположить, что оно аналогично поведению К1 и К2 никеля и его сплавов с Co, Cr, V [2, 4]. Для этих сплавов характерно наличие смены знака К1, а также уменьшение |K1| и |К2| до нуля при увеличении х. Поэтому при обсуждении своих результатов мы будем использовать аналогию с процессами намагничивания никеля и его сплавов.
Зависимости cac(T) склеек Si/NiWx/Si, высушенных при Т=350 К, представлены на рис. 2. Такое поведение восприимчивости хорошо согласуется результатами и представлениями о магнитоориентационных переходах в никелевых сплавах, рассмотренными в работе [13]. Предполагается, что, как и в чистом никеле, в NiWx при охлаждении ниже ТС в некоторой близости от ферромагнитного перехода константа К1~0 и проходит через ноль. Поэтому здесь направление оси легкого намагничивания (ОЛН) определяется направлением и величиной действующего в плоскости образца растягивающего напряжения s(T), так как магнитоупругая энергия Еупр~sl превосходит энергию магнитной кристаллографической анизотропии Еан ~ K1, K2. В никеле и его сплавах константа магнитострикции l<0. Действие растяжения s(T) в плоскости (001) должно приводить к тому, что в данном интервале температур осью легкого намагничивания становится направление [001], нормальное к плоскости лент, а кристаллографические оси [100] и [110], лежащие в плоскости (001), становятся осями трудного намагничивания (ОТН). Для намагничивания образца в направлении [100] требуется значительное магнитное поле, такое, что Еупр < Емаг = М·Н. В данном случае зависимость намагниченности М-образца от поля h||[100] ослабляется и cac(T)~1/s. Рост cac(T) у образцов с х = 5.5 ат.% и х = 6.0 ат.% при уменьшении T ниже ~160 K можно объяснить быстрым ростом |К1| и выполнением условия Еупр < Еан. При выполнении условия Еупр << Еан восприимчивость приближается к значениям свободного образца. При нагреве склейки c х=5.5 ат.% наблюдается пересечение зависимостей cac(T, s) и cac(T) свободного образца при T ~ 220 K, что отмечает, как мы полагаем, смену знака s (см. вставка на рис. 2г). При нагреве выше 220 K восприимчивость этого приклеенного образца поднимается заметно выше значений восприимчивости свободного состояния, что свидетельствует о появлении и росте сжимающих напряжений s<0, так как напряжение сжатия s(T) в плоскости ленты благоприятствует намагничиванию в направлениях [100] и [110]. Похожее поведение cac(T, s) наблюдается и для склейки с х=6.0 ат.%. Имеющееся отличие можно объяснить тем, что при нагреве до T~220 K значение s не успевает изменить свой знак.
На рис. 3 представлены результаты измерений температурной зависимости cac(T,s) склеек с алюминиевым сплавом (D16T/NiW5.5/D16T). В этих склейках DКТР < 0 и при охлаждении возникают сжимающие напряжения. Из-за отрицательного значения l сжимающие напряжения облегчают процесс намагничивания вдоль направлений, лежащих в плоскости (001). Поэтому при охлаждении в интервале температур, где ОЛН||[100] или ОЛН||[110], значения cac(T,s) > cac(T,s~0). Ниже ~160 K, где Еупр<<Еан, восприимчивость cac(T) становится мало отличимой от восприимчивости свободного образца. При нагреве от 50 К до 160 K cac(T) также повторяет поведение свободного образца. В интервале 160–240 K из-за сжимающих напряжений значения восприимчивости несколько выше при нагреве, чем при охлаждении. Из наших данных cac(T) следует, что T(s=0) ~ 220 K. Выше 220 K наблюдается быстрое уменьшение значений cac(T). Мы считаем, что это уменьшение обусловлено сменой знака s, развитием растягивающих напряжений и зависимостью cac(T) ~ 1/s. У образцов с х=6.0, 7.4, 7.7 ат.% наблюдается очень слабый гистерезис вблизи ТС.
Рис. 3. Температурная зависимость магнитной восприимчивости склеек D16T/NiW5.5/D16T. Пунктир – свободная лента. Стрелки указывают направление изменения температуры.
Заключение
Исследовано влияние плоских механических нагрузок разного знака на магнитную восприимчивость металлических биаксиально текстурированных лент NiWx с х = 5.5, 6.0, 7.4, 7.7 ат.%. Показано, что результаты хорошо описываются в рамках имеющихся представлений о магнито-ориентационных переходах и магнито-упругом эффекте в чистом никеле и его сплавах.
Увеличение концентрации вольфрама приводит к сдвигу в область низких температур как температуры ферромагнитного перехода, так и всех особенностей, связанных с магнито-ориентационными превращениями. Такое поведение, по-видимому, обусловлено концентрационной зависимостью констант магнитной анизотропии К1, К2 и магнитострикции l. Последнее предположение, однако требует отдельного исследования.
Автор выражает свою благодарность В.С. Егорову за помощь в разработке метода создания плоской механической нагрузки, а также Д.Н. Ракову за предоставленные образцы лент и информацию по технологии их производства.
Автор заявляет, что у него нет конфликта интересов.
About the authors
А. А. Nikonov
National Research Center “Kurchatov Institute”
Author for correspondence.
Email: niklom@rambler.ru
Russian Federation, 123182, Moscow
References
- Белов К.П. Упругие, тепловые и электрические явления в ферромагнитных металлах. М.: Гос.изд. ТТЛ, 1951. 258 с.
- Бозорт Р. Ферромагнетизм. М.: Изд. ИЛ, 1956. 786 с.
- Вонсовский С.В. Магнетизм. М.: Наука, 1971. 1032 с.
- Тикадзуми С. Физика ферромагнетизма. М.: МИР, 1987. 419 с.
- Cheggour N., Ekin J.W., Clickner C.C., Verebelyi D.T., Thieme C.L. H., Feenstra R., Goyal A., and Paranthaman M. Transverse Compressive Stress Еffect in Y-Ba-Cu-O Coatings on Biaxially Textured Ni and Ni-W Substrates // IEEE Tran. Appl. Supercond. 2003. V. 13. № 2. P. 3530–3533.
- Cheggour N., Ekin J.W., Clickner C.C., Verebelyi D.T., Thieme C.L.H., Feenstra R. and Goyal A. Reversible axial-strain effect and extended strain limits in Y-Ba-Cu-O coatings on deformation-textured substrates // J. Appl. Phys.Lett. 2003. V. 83. № 20. P. 4223–4226.
- Goyal A., Paranthaman M.P., Schoop U. The RABiTS Approach: Using Rolling-Assisted Biaxially Textured Substrates for High-Performance YBCO Superconductors // MRS Bulletin. 2004. August. P. 552–561.
- Hsueh C.H., Paranthaman Ж.M. Analytical modeling of residual stresses in multilayered superconductor systems // J. Mater. Sci. 2008. V. 43. P. 6223–6232.
- Cheon J.H., Shankar P.S., Singh J.P. Influence of processing methods on residual stress evolution in coated conductors // Supercond. Sci. Technol. 2005. V. 18. P. 142–146.
- Nikiforov V.N., Sredin V.G., Kochetkov Yu.V., Vasil’eva O.N. Misfit stresses in YBa2Cu3O7-x films // Rus. Phys. Jour. 2000. V. 43. № 4. P. 334–337.
- Verebelyi D., Harley E., Scudiere J., Otto A., Schoop U., Thieme C., Rupich M., Malozemoff A. Practical neutral-axis conductor geometries for coated conductor composite wire // Supercond. Sci. Technol. 2003. V. 16. P. 158–1161.
- Arp V. Stresses in superconducting solenoids // J. Appl. Phys. 1977. V. 48. № 5. P. 2026–2036.
- Никонов А.А. Исследование эффекта магнито-упругости металлических текстурированных лент Ni-5ат.%W // ФММ. 2018. Т. 119. № 1. С. 9–18.
- Suo H., Ma L., Gao M., Meng Y., Wang Yi, Liu M., Zhao Y., Grivel J-C. Development of cube textured Ni-W alloy substrates used for coated conductors // J. Physics: Conf. Ser. 2014. V. 507. 022039. P. 1–4.
- Clickner C.C., Ekin J.W., Cheggour N., Thieme C.L.H., Qiao Y., Xie Y.-Y., Goyal A. Mechanical properties of pure Ni and Ni-alloy substrate materials for Y–Ba–Cu–O coated superconductors // Cryogenics. 2006. V. 46. P. 432–438.
- Zhao Y., Suo H.L., Zhu Y.H., Liu M., He D., Ye S., Ma L., Fan R.F., Ji Y., Zhou M.L. Highly reinforced, low magnetic and biaxially textured Ni-7 at.%W/Ni-12 at.%W multi-layer substrates developed for coated conductors // Supercond. Sci. Technol. 2008. V. 21. 075003. P. 1–5.
- Maeda T., Mimura M., Ohashi Y., Nagasu Y., Watanabe T. Strengthened textured metal substrates for coated conductor application // Physica C. 2004. V. 412–414. P. 838–843.
- Zhao Y., Suo H., Liu M., He D., Zhang Y.X., Zhou M.L. Mechanically reinforced and biaxially textured Ni alloys composite substrates for coated conductors // Physica C. 2007. V. 460–462. P. 1427–1429.
- Suo H.L., Zhao Y., Liu M., Ye S., Zhu Y.H., He D., Ma L.J., Ji Y., Zhou M.L. A novel approach using powder metallurgy for strengthened RABiTS composite substrates for coated superconductors // Supercond. Sci. Tech. 2008. V. 21. 025006. P. 1–6.
- Kim K.T., Lim J.H., Kim J.H., Jang S.H., Joo J., Kim C-J., Song K.J., Shin H.S. Effect of W addition on the microstructure and properties of Ni–W substrates for coated conductors // IEEE Trans. Appl.Supercond. 2005. V. 15. № 2. P. 2683–2686.
- Ijaduola A.O., Thompson J.R., Goyal A., Thieme C.L.H., Marken K. Magnetism and ferromagnetic loss in Ni–W textured substrates for coated conductors // Physica C. 2004. V. 403. P. 163–171.
- Simak S.I., Ruban A.V., Vekilov Yu.H. Thermodynamic, mechanical and thermal properties of Ni-alloys from Harris functional LMTO-CPA calculations // Sol. St. Com. 1993. V. 87. № 5. P. 393–396.
- Kirkham D. The Variation of the Initial Suscepti-bility with Temperature, and the Variation of the Magnetostriction and Reversible Susceptibility with Temperature and Magnetization in Nickel // Phys. Rev. 1937. V. 52. P. 1162.
- Раков Д.Н., Самусевич В.В, Николаев А.В., Борисов А.В., Абдюханов И.М. Исследование влияния степени деформации на текстуру лент из сплавов системы Ni–W c различным содержанием вольфрама // Металловедение и термическая обработка металлов. 2014. № 7. С. 57–59.
- Воробьева А.Е., Панцырный В.И., Абдюханов И.М., Раков Д.Н., Белотелова Ю.Н., Самусевич В.В., Николаев А.В., Коновалов П.В., Котова Е.В., Борисов А.В., Потапенко М.М., Дробышев В.А., Кравцова М.В., Медков В.В., Шиков А.К. Разработка материалов подложек для ВТСП-2 // Вопросы атомной науки и техники. Серия: Материаловедение и новые материалы. 2012. № 2 (73). С. 100–107.
- Зубавичус Я.В., Мухамеджанов Э.Х., Сенин Р.А. Экспериментальные станции КИСИ // Природа. 2013. № 12. С. 37–44.
Supplementary files




