ULTRASONIC METHOD FOR SURFACE TREATMENT OF ANISOTROPIC ELECTRICAL STEEL TO REDUCE ITS TOTAL MAGNETIC LOSSES FOR MAGNETIZATION REVERSAL
- Autores: Tiunov V.F.1
-
Afiliações:
- Mikheev Institute of Metal Physics, Ural Branch, Russian Academy of Sciences
- Edição: Volume 124, Nº 8 (2023)
- Páginas: 687-691
- Seção: ЭЛЕКТРИЧЕСКИЕ И МАГНИТНЫЕ СВОЙСТВА
- URL: https://ogarev-online.ru/0015-3230/article/view/139478
- DOI: https://doi.org/10.31857/S0015323022601878
- EDN: https://elibrary.ru/PXCKYY
- ID: 139478
Citar
Texto integral
Resumo
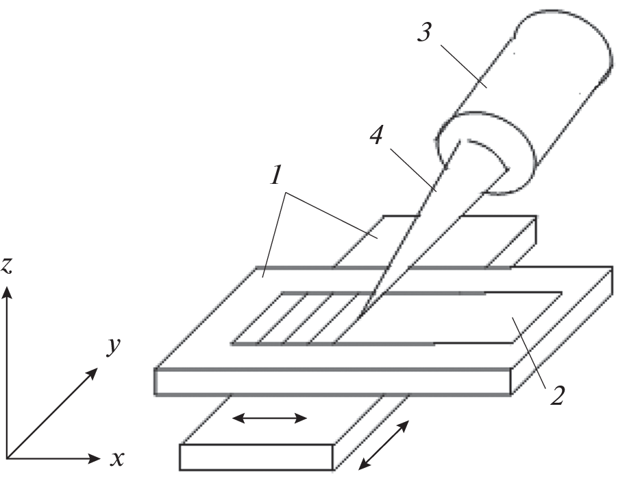
The paper describes an ultrasonic method for the formation of locally deformed zones (LDZ) in the form of mechanical scratches applied to the surface of anisotropic electrical steel of nuclear power plants to crush its domain structure in order to reduce the total magnetic losses Р. It is shown that, as a result of such processing, using the example of a 3407 type steel, the value of P decreases by an average of 10-15%. It has been established that exposure to ultrasound leads to a significant increase in the rate of scratching.
Palavras-chave
Sobre autores
V. Tiunov
Mikheev Institute of Metal Physics, Ural Branch, Russian Academy of Sciences
Autor responsável pela correspondência
Email: tiunov@imp.uran.ru
Ekaterinburg, 620108 Russia
Bibliografia
- Дружинин В.В. Магнитные свойства электротехнической стали. М.: Энергия, 1974. 240 с.
- Pгy R.H., Bean C.P. Calculation of the energy loss in magnetic sheet materials using a domain model // J. Appl. Phys. 1958. V. 29. P. 532–533.
- Лобанов М.Л., Юровских А.С., Кардонина Н.И., Русаков Г.М. Методы исследования текстур в материалах: учеб.-метод. пособие. Екатеринбург: Изд‑во Урал. ун-та, 2014. 115 с.
- Puchý V., Falat L., Kovác F., Petryshynets I., Džunda R., Šebek M. The Influence of Fiber Laser Pulse Processing on Coercivity and Nanohardness of Fe–3.2Si Grain-Oriented Electrical Steel in relation with its Surface Changes and Magnetic Domains Modifications // Acta Phys. Polonica. 2017. V. 131. № 6. P. 1445–1449.
- Rauschera P., Hauptmann J., Beyer E. Laser scribing of grain oriented electrical steel under the aspect of industrial utilization using high power laser beam sources // Phys. Procedia. 2013. V. 41. P. 312–318.
- Пудов В.И., Драгошанский Ю.Н. Улучшение функциональных свойств магнитопроводов локальными деформационными воздействиями / Сб. Перспективные материалы и технологии. НАН Беларуси. Брест. 2019. С. 27–31.
- Тиунов В.Ф. О влиянии неоднородности перемагничивания анизотропной электротехнической стали Fe–3% Si на магнитные потери во вращающихся магнитных полях // ФММ. 2018. Т. 119. № 9. С. 876–881.
- Тиунов В.Ф., Корзунин Г.С. Контроль неоднородности магнитной проницаемости листовой анизотропной электротехнической стали // Дефектоскопия. 2019. № 3. С. 46–49.
- Попилов Л.Я. Справочник по электрическим и ультразвуковым методам обработки материалов. М., Л.: Машгиз, 1963. 400 с.
- Тиунов В.Ф. Влияние особенностей искусственного дробления доменной структуры анизотропной электротехнической стали Fe–3% Si на эффективность снижения величины ее магнитных потерь // ФММ. 2022. Т. 123. № 3. С. 326–332.
- Зайкова В.А., Старцева И.Е., Филиппов Б.Н. Доменная структура и магнитные свойства электротехнических сталей. М.: Наука, 1992. 270 с.
- Тиунов В.Ф., Стародубцев Ю.Н., Катаев В.А. Динамическое поведение доменной структуры и магнитные потери бикристаллов кремнистого железа // ФММ. 1990. № 6. С. 63–68.
- Тиунов В.Ф., Драгошанский Ю.Н. Влияние динамического поведения замыкающей доменной структуры на магнитные потери в кристаллах Fe–3% Si // ФММ. 1989. Т. 68. Вып. 6. С. 1117–1124.
- Тиунов В.Ф., Зайкова В.А. Динамика доменной структуры и электромагнитные потери в кристаллах Fe–3% Si, перемагничиваемых непараллельно оси легчайшего намагничивания // ФММ. 1985. Т. 59. Вып. 6. С. 1129–1136.
Arquivos suplementares




