Синтез композиционного материала из смеси Ti+2B и композитных частиц 3Ni+Al в режиме горения
- Authors: Пономарев М.А.1, Лорян В.Э.1, Кочетов Н.А.1
-
Affiliations:
- Институт структурной макрокинетики и проблем материаловедения им. А.Г. Мержанова Российской академии наук
- Issue: Vol 60, No 1 (2024)
- Pages: 99-110
- Section: Articles
- URL: https://ogarev-online.ru/0002-337X/article/view/274451
- DOI: https://doi.org/10.31857/S0002337X24010129
- EDN: https://elibrary.ru/MGYQXF
- ID: 274451
Cite item
Full Text
Abstract
Пористый композит интерметаллид/керамика с взаимопроникающими фазами получен самораспространяющимся высокотемпературным синтезом (СВС) в образцах модельной системы Ni–Al–Ti–B. Исходная шихта готовилась из композитных гранул (состав 3Ni+Al), полученных механическим активированием, и порошковой смеси титана и бора (состав Ti+2B). СВС реализован в режиме горения. В волне горения протекали две основные химические реакции: между алюминием и никелем в гранулах и между титаном и бором в смеси вокруг гранул. При горении вокруг гранул формировался пористый каркас из TiB2, в который происходила инфильтрация расплава алюминидов никеля из гранул. Твердая фаза СВС-продукта содержит взаимопроникающие мелкозернистые каркасы диборида и интерметаллида. Композит имеет развитую разномасштабную пористость.
Full Text
ВВЕДЕНИЕ
Металлокерамические композиты обладают востребованным в различных практических приложениях сочетанием механических и тепловых свойств: химической стабильностью, устойчивостью к окислению, прочностью, твердостью и стойкостью к истиранию при повышенных температурах [1–6], что в полной мере может быть отнесено и к композитам с взаимопроникающими фазами (IPCs) металл/керамика и интерметаллид/керамика [1]. Получение IPC, как правило, состоит из двух стадий: создания пористого каркаса из керамики и заполнения его пор металлическим расплавом, которые разнесены во времени, относительно продолжительны и требуют много энергии [1]. Снизить энергозатратность процесса позволяет применение самораспространяющегося высокотемпературного синтеза (СВС), который протекает в режиме горения или теплового взрыва и обладает такими достоинствами, как быстрота и низкая потребность в дополнительной энергии [7, 8]. СВС позволяет получать высокотемпературную керамику, интерметаллиды и композитные материалы с регулируемыми размерами, пористостью и структурой [7–10]. Сфера применений пористых СВС-материалов – фильтры, мембраны, носители катализаторов, биоматериалы, пористые преформы для получения беспористых IPCs [8, 11–15].
В работах [16–19] методом СВС нами были получены пористые композиты со структурой по типу IPCs металл/керамика и интерметаллид/керамика – во фронте волны горения одновременно происходил синтез пористой керамики и интерметаллида, который проникал в поры керамики.
Цель настоящей работы –получение пористого композита при СВС в системе Ni–Al–Ti–B, состоящей из порошков Ti, B и частиц 3Ni–Al, полученных механической активацией [19–21], и реализация характерного для IPC распределения керамической и интерметаллидной фаз за счет стадийности физико-химических процессов в волне горения [1, 17–19, 22].
ЭКСПЕРИМЕНТАЛЬНАЯ ЧАСТЬ
В экспериментах в качестве модельных систем были выбраны комбинированные составы из смеси порошков титана и бора Ti + 2В и композитных частиц-гранул (3Ni + Al)m. В смесях a(3Ni + Al)m + (1–a)(Ti + 2В) варьировался размер частиц (3Ni + Al)m, их массовая доля была постоянной: a = 0.4.
Для приготовления исходной смеси Ti + 2В использовали порошки титана марки ПТС (дендритное строение частиц, средний размер частиц ~120 мкм) и черного аморфного бора (99.8% бора, размер частиц 0.2–6 мкм).
Композитные частицы (3Ni + Al)m получали механическим активированием смеси порошков исходных металлов: 87 мас. % никеля (марка ПНК–УТ3, размер основной доли частиц 1–20 мкм) и 13 мас. % алюминия (марка АСД–4, размер частиц 1–20 мкм). Интенсивная механическая активация смеси 3Ni + Al происходила в планетарной мельнице АГО–2 в атмосфере воздуха в течение времени tm = 5 мин при ускорении шаров 90g (соотношение массы шаров к массе смеси 20 : 1) [19, 21]. Продолжительность механической активации выбиралась меньше критического значения [21], что позволяло исключить интенсивный механохимический синтез интерметаллидов [23] и нестабильных твердых растворов [24] непосредственно в барабане мельницы. При активации образовывались композитные частицы-гранулы (3Ni + Al)m пластинчатой формы, слоистого строения с чередующимися слоями Ni и Al [19, 23].
Активированный порошок (3Ni + Al)m был разделен на три фракции: d1 < 63 мкм, d2 = 63–125 мкм, d3 = 125–250 мкм. В смесителе типа “пьяная бочка” были сформированы и перемешаны три модельные комбинированные смеси:
1 – 0.4(3Ni + Al)m1 + 0.6(Ti + 2В), d1;
2 – 0.4(3Ni + Al)m2 + 0.6(Ti + 2В), d2;
3 – 0.4(3Ni + Al)m3 + 0.6(Ti + 2В), d3
с долями элементов Ni, Al, Ti и B 57.30, 8.78, 23.37 и 10.55 мас. % в каждом составе.
Модельные смеси запрессовывали в цилиндрические оболочки из прозрачного кварцевого стекла (внешний диаметр De = 7.8 мм, внутренний Di = 4.4 мм, длина L0 = 43 мм, длина прессовки L = 28 мм). Формирование прессовок происходило послойно при одностороннем уплотнении последовательно поступающих в оболочку порций смеси [16–19]. В многослойных образцах высота H отдельных слоев составляла 1000– 1500 мкм; плотность прессовок была однородна по длине. Гранулы (3Ni + Al)m в составе смеси не разрушались при запрессовке [16–19]. Увеличение размера гранул приводило к незначительному снижению плотности прессовок. Относительная плотность прессовок составляла 0.61–0.65.
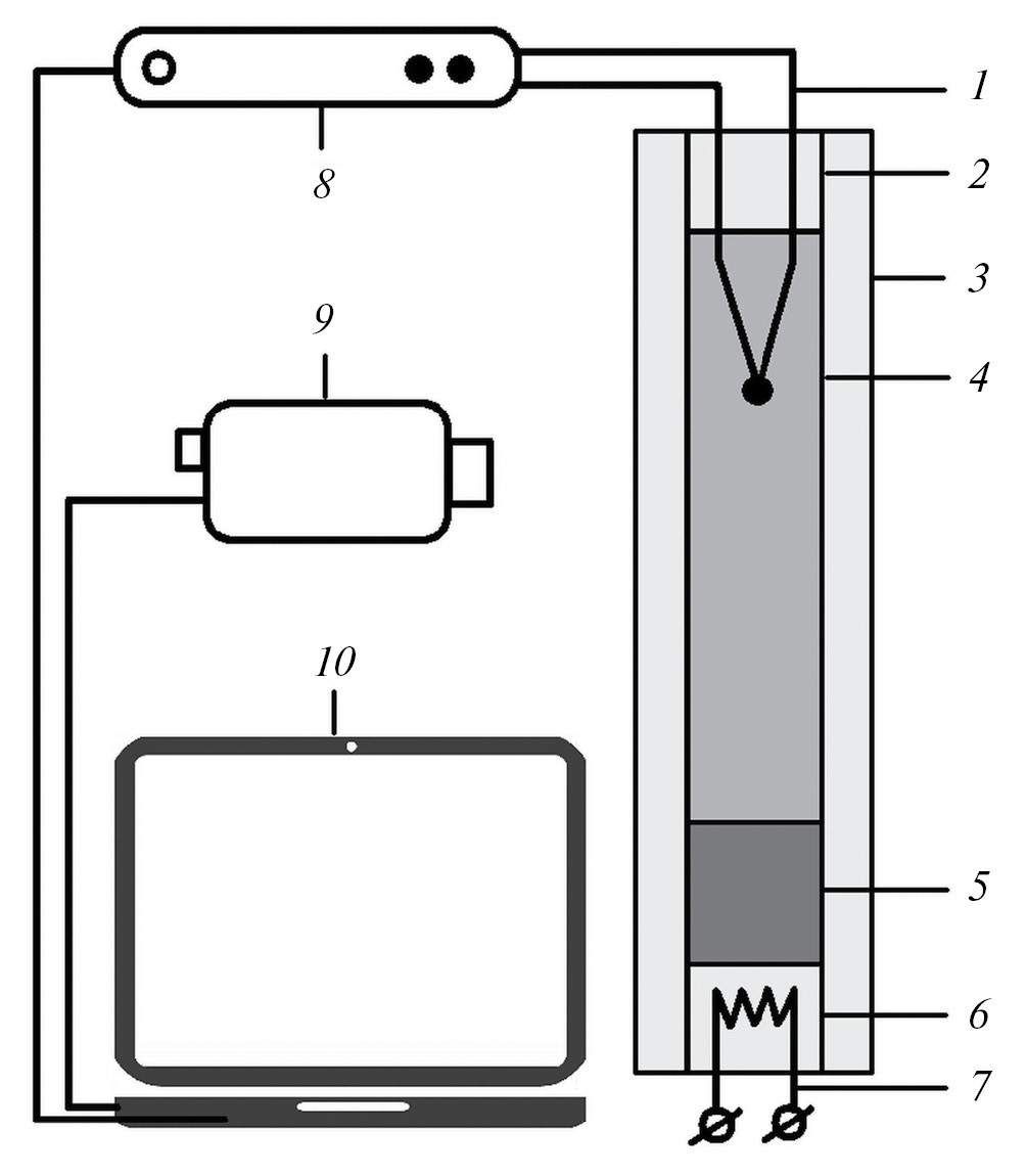
Процесс СВС из элементов проводился в экспериментальной установке, схематично представленной на рис. 1, в атмосфере аргона при давлении 1 атм., при начальной температуре t0 = 20 °С. СВС инициировали поджигающей прессовкой из смеси Ti + 2B. Расширению образца при горении препятствовали стенки кварцевой оболочки и газопроницаемые ограничители на ее торцах. Примесные газы удалялись через «горячий» торец образца. Вольфрам-рениевые термопары (тип А, диаметр 0.1, 0.2 мм с защитным алюмосиликатный слоем 0.05 мм на спае) использовались для регистрации температуры в составе измерительного комплекса – многоканального регистратора QMBox-4050-8-1 и компьютера ASUS-A52J. Кривые нагревания процесса, максимальные температуры горения и градиенты температур в волне горения фиксировали по термопарным измерениям. Видеозапись процесса осуществлялась на камеру Sony HDR-CX130E (50 кадров в секунду). По видеозаписи процесса определялась скорость горения.
Рис. 1. Установка: 1 – термопара, 2 – изолятор, 3 – оболочка (внешний диаметр – De, внутренний – Di, длина – L0), 4 – прессовка (диаметр D = Di, длина – L), 5–7 – поджигающие прессовка, смесь и спираль, 8 – регистратор, 9 – видеокамера, 10 – компьютер
Электронно-микроскопическое исследование продукта синтеза выполнялось на электронном микроскопе LEO 1450 VP Carl Zeiss; рентгенофазовый анализ — на дифрактометре ДРОН-3М. Изучалось влияние размера композитных частиц (3Ni + Al)m на параметры горения и характеристики конечного продукта: макро- и микроструктуру, фазовый состав, распределение фаз.
РЕЗУЛЬТАТЫ И ОБСУЖДЕНИЕ
Синтез в модельных смесях протекал в режиме горения без дополнительного подогрева при начальной температуре t0 = 20 °C. Пористый продукт горения имел форму цилиндрического стержня (диаметр 4.4 мм, длина 28 мм). Стержень извлекался из оболочки посредством незначительного выталкивающего усилия, приложенного к его торцу, без разрушения и деформации для каждой из исходных смесей 1–3.
Скорости горения (ub) и максимальные температуры (tb) в волне горения в зависимости от среднего размера d гранул (3Ni + Al)m в смесях 1–3 представлены на рис. 2. Увеличение размера гранул в ~4 раза приводило лишь к незначительному уменьшению средней скорости горения (на ~ 5%). Уровень скоростей горения испытуемых смесей достаточно высок и близок к скорости горения смеси Ti + 2В в их составе (ub ~ 5 см/с). При прохождении волны горения вдоль образца ее скорость снижалась в среднем на 15% в каждой смеси, что можно объяснить ростом давления примесных газов в волне горения в бронированных образцах, которое влияет на движение жидких компонентов и продуктов синтеза, тепломассоперенос, порообразование, нарушение сплошности в горящем образце. При увеличении d в ~ 4 раза температура горения повышалась на ~ 150 °C. На рис. 3 представлены термограммы t = f(t) и dt/dt = f(t) волны горения для смесей 1–3.
Рис. 2. Скорость и максимальная температура горения смесей в зависимости от среднего размера d гранул (3Ni + Al)m
Рис. 3. Температуры в волне горения для смесей 1–3 (а) и производная температуры для смеси 3 (б)
Температуры горения смесей 1–3 (tb = 1850–2000 °C) ниже tb, регистрируемой при горении смеси Ti + 2В (~2300 °C) в кварцевой оболочке. В образцах, приготовленных только из частиц (3Ni + Al)m, инициировать волну горения при t0 = 20 °C не удавалось, что, по-видимому, связано со значительными кондуктивными теплопотерями в оболочку при малом диаметре образцов (Di = 4.4 мм), а также с появлением продуктов механического сплавления в композитных частицах в местах контакта реагентов при выбранной продолжительности (5 мин) активации [23–26]. В [27–30] показано, что после активации смесей Ni + 13 мас. % Al в планетарной мельнице АГО–2 более 3–4 мин характеристики СВС существенно снижаются: температура инициирования до 2–3 раз, температура теплового взрыва в ~1.2 раза, максимальная температура горения в ~1.5 раза. Для композитных порошков Ni + 13 мас. % Al в работах [23, 25] СВС реализовывался при скоростях горения в разы меньших (ub ≈ 0.2–1см/с, tb ≈ 600–700°C), чем приведенные для смесей 1–3 на рис. 2, что указывает на определяющее влияние высокотемпературной реакции Ti + 2В на параметры горения рассматриваемых составов. В комбинированных смесях поверхность контакта между средами (гранулами (3Ni + Al)m и порошками Ti + 2В) ниже, чем между реагентами внутри каждой из сред. В композитных частицах за счет измельчения реагентов при активации контакт между их прослойками улучшается [28]. Смесь Ti + 2В состоит из мелких частиц бора и мелких фрагментов частиц-дендритов титана [19], что способствует хорошему контакту между этими реагентами. Таким образом, появляются предпосылки для относительно автономного протекания химических превращений в составляющих смесь средах и для существования в волне горения двух зон химических реакций: низкотемпературной (реакция в гранулах (3Ni + Al)m) и высокотемпературной (реакция в смеси Ti + 2В). На отсутствие запаздывания химического превращения в гранулах (3Ni + Al)m в смесях 1–3 указывают наблюдаемое на поверхности образца плавное, без выраженного “мерцания”, движение волны горения на видеозаписях процесса горения, а также наличие одного максимума температуры на термограммах t = f(τ) (рис. 3), что отличает их от термограмм горения ранее изучавшихся систем [17, 18]. Структурные превращения в смеси при прохождении волны горения схематично представлены на рис. 4.
Рис. 4. Структурные превращения (схематично) (ж) в элементарной ячейке смеси 0.4(3Ni + Al)m + 0.6(Ti + 2В) в волне горения: а – исходная структура в зоне прогрева, t ~ 20–200 °C (1); б – структура в зоне реакций в гранулах (3Ni + Al)m: при t ~ 200–700 °C (2) и 700–1230 °C (3); в – в зоне твердофазных реакций в смеси Ti + В при t ~ 1230–1680 °C (4); г – в зоне жидкофазной реакции Ti + 2В при t > 1680 °C (5); д – в зонах реакции при 1680< t < 2000 °C (5) и «догорания» при 1385 °C < t < 2000°C (6); е – в зонах «догорания» и остывания: при t < 2000 °C (6) и t < 1385 °C (7)
Экзотермические превращения в активированных смесях Ni + 13 мас. % Al [23] происходили при 200–500 °C, по аналогии при СВС в изучаемых нами смесях a(3Ni + Al)m + (1–a)(Ti + 2В) химическое взаимодействие внутри частиц (3Ni + Al)m может начаться в таком же интервале температур. При 100–500 °C (рис. 3) наблюдается высокий темп повышения температуры ~3000–10000 °C/с, поэтому в волне горения в зоне прогрева (до 200°C) не успеет произойти отжиг неравновесных дефектов в композитных частицах (3Ni + Al)m и химическое взаимодействие Ni и Al начнется в твердой фазе [25, 29, 30]. Скорости горения смесей 1–3 (рис. 2) значительно, в ~4–25 раз, превышают скорости горения активированных составов Ni + 13 мас. % Al [23, 25], поэтому нагрев гранул (3Ni + Al)m будет происходить преимущественно за счет интенсивного теплового потока из горячей зоны образца. Жидкая фаза в гранулах, по всей видимости, возникнет до того, как в твердой фазе завершатся реакции. С появлением жидкой фазы – сначала легкоплавкой эвтектики Al + NiAl3 (при ~640 °C) [10, 27, 31–33], затем расплава алюминия (при ~660 °C) – химическое взаимодействие в гранулах будет продолжаться в местах контакта расплава Al и слоев Ni с образованием фазы Ni2Al3 [10, 23]. Тепловое расширение компонентов и повышение удельного объема Al при плавлении могут способствовать выдавливанию части расплава (5–10%) из гранул (3Ni + Al)m и увеличению площади контакта гранул с частицами смеси Ti + 2В, улучшая теплопередачу. Скорость подъема температуры, достигнув максимума при ≈670 °C, в дальнейшем уменьшается (рис. 3), что, вероятно, обусловлено снижением тепловыделения в гранулах (3Ni + Al)m, увеличением теплоотдачи из гранул в смесь Ti + 2В, ростом теплоемкости компонентов комбинированной смеси и снижением эффективной теплопроводности смеси a(3Ni + Al)m + (1–a)(Ti + 2В) [19, 34–36] (Снижение теплопроводности комбинированной смеси, содержащей аналогичные гранулы (Ni + Al)m, рассмотрено в [19].)
Подвод тепла к поперечному слою образца в низкотемпературной зоне химических реакций в волне горения происходит из высокотемпературной зоны при контакте с гранулами и смесью Ti + 2В. В силу большей относительной плотности композитных частиц (3Ni + Al)m и большей теплопроводности их компонентов [19, 34–36] гранулы будут нагреваться быстрее, а часть поступающего к ним тепла будет передаваться в смесь Ti + 2В. Тепло, выделяющееся в самих частицах (3Ni + Al)m (при экзотермических реакциях между Ni и Al в твердой и жидкой фазе), частично идет и на подогрев окружающей смеси Ti + 2В. Таким образом, в низкотемпературной зоне химических реакций в волне горения (при ~200–700 °C) реагирующие гранулы (3Ni + Al)m отчасти выступают в роли “химической печки”, подогревая смесь Ti + 2В. В целом же, тепло от реакции Ti + 2В (962 кал/г [19]) в высокотемпературной зоне значительно превышает тепло от реакции 3Ni + Al (185 кал/г [37]) – в 7.8 раза (с учетом массовых долей компонентов при a = 0.4), поэтому очевидно, что тепло, передаваемое в смесь Ti + 2В через гранулы, превышает тепло, поступающее в смесь от реакции в гранулах.
При ~700 °C в гранулах (3Ni + Al)m может содержаться основная фаза – Ni3Аl, а также небольшие количества NiAl, Ni и, иногда, Ni2Аl3 [25]. Дальнейшее поступление тепла из горячей зоны стимулирует дореагирование в гранулах и, возможно, химическое взаимодействие расплава Al на поверхности гранул с Ti и B в окружающем слое смеси. Однако скорость такого взаимодействия ниже, чем у основных реакций: так, например, ub~0.6 см/с для смеси Ti + Al при t0 = 550 °C [19] что ниже в ~8 раз, чем у смеси Ti + 2В [19, 38] и у исследуемых в настоящей работе смесей 0.4(3Ni + Al)m + 0.6(Ti + 2В) (рис. 2). Слой Ti + 2B вокруг гранул, при характерных размерах ~100–200 мкм, сгорает за τ ~0.005–0.02 с. За такое короткое время контакта расплава Al и бора не возникнет заметного количества боридов алюминия, так как в расплаве Al при 700–1000 °C растворяется не более 2 мас. % бора даже при длительном контакте [39–41].
Согласно диаграмме состояния [42], в зоне реакции в гранулах (3Ni + Al)m при t > 700 °C будут плавиться возникшие ранее эвтектики и соединения: при t < 1230 °C Ni2Аl3 (1133 °C); при t > 1230 °C Ni3Аl (1385 °C) и NiAl (1638 °C). Гранулы окажутся преимущественно в жидком состоянии после плавления доминирующей фазы Ni3Al. Повышение t свыше 1385 °C приведет к разложению Ni3Al по схеме [37]: Ni3Al → ж + δ(NiAl). Станет возможно проникновение расплава системы 3Ni–Al в смесь из Ti, B и продуктов их твердофазного взаимодействия, возникших при 1230 < t < 1385 °C [19, 43]. При повышенной температуре (t >1000 °C) проникновению способствуют разрушение и возгонка пленок оксида алюминия и реакция самоочищения Al [44, 45], дающие расплаву Al возможность продвигаться к смеси Ti + 2В между фрагментами оксидных пленок; хорошая смачиваемость бора, титана, моноборида и диборида титана жидкими алюминием и сплавами алюминия и никеля (t > 1000 °C) [46–56]). Кроме того, проникновению расплава системы 3Ni–Al в продукт взаимодействия Ti и B способствуют также термокапиллярное растекание [55–58] и явление термоосмоса, когда под действием градиента температуры термоосмотический поток направлен внутрь прореагировавшего горячего слоя керамики через систему капилляров и пор [8]. Однако для достижения достаточно низких значений углов смачивания может потребоваться время от нескольких секунд до минут [46–56]. Температура узкого поперечного фрагмента образца находится в диапазоне 1230 < t < 1680°C в волне горения лишь в течение короткого интервала времени ∆τ < 0.02с (рис. 3). Для проникновения расплава системы 3Ni–Al на значительную глубину в исходную смесь Ti + 2B и для образования в заметном количестве соединений Al или Ni с Ti или B такого времени, по всей видимости, недостаточно, что подтверждается фазовым составом продуктов горения. По данным РФА (рис. 5) в продукте синтеза содержатся: Ni3Al, TiB2 и в небольшом количестве фазы NiAl и TiB (содержания алюминидов титана, боридов алюминия и боридов никеля недостаточно для уверенной идентификации). При уменьшении размера гранул (3Ni + Al)m в исходных смесях в продукте синтеза увеличивается содержание Ni3Al и уменьшается NiAl. В остальном фазовые диаграммы продуктов горения смесей 1–3 идентичны.
Рис. 5. Фазовый состав продукта СВС (смесь 3)
При 1230 °C начнется твердофазное взаимодействие титана и бора [19]. В поперечном слое реагирующая смесь Ti + 2В подобно “химической печке” будет передавать тепло в контактирующие с ней гранулы (3Ni + Al)m (продольное поступление тепла от горячей зоны волны горения продолжится). Поскольку дендритная форма частиц Ti препятствует плотному контакту по всей их поверхности с порошком бора (особенно при невысокой плотности прессовок), то слой продукта твердофазного взаимодействия на частицах Ti не будет сплошным и при достижении температуры плавления Ti (1668 °C) произойдет растекание расплава титана по капиллярам в порошке бора [7, 58–60]. При t > 1668 °C Ti и B будут не только продолжать взаимодействовать посредством диффузии через твердый слой продукта реакции, но и, при контакте расплава титана с бором, химически реагировать с более высокой скоростью, формируя пористый каркас из TiB2 [19] Расплав системы 3Ni–Al находится первоначально в виде “включений” в смеси Ti + 2В на месте гранул (при τ < 1668 °C, рис. 4г). При образовании TiB2 (при dt/dτ > 0, 1680 < t < 2000 °C) и при «догорании» (при dt/dτ < 0, 1385 < t < 2000 °C, рис. 4д, 4е) по мере просачивания расплава по порам диборидной матрицы образуется структура с “взаимопроникающими средами” из керамического каркаса и жидких интерметаллидов [19, 35, 38, 54–57]. Одновременно формируется пористое пространство продукта горения и возникают крупные поры на месте композитных гранул. Дальнейшее остывание (t < 1385 °C) ведет к окончательному формированию в продукте горения структуры из твердых каркасов диборид титана–алюминиды никеля и пор (рис. 4е).
Структура синтезированного продукта СВС характеризуется развитой пористостью – наблюдается до четырех масштабов в размерах пор – при ~1–5% закрытых пор и общей пористости ~50% (рис. 6–рис. 8). На месте расположения композитных гранул (3Ni + Al)m в прессовках в продукте синтеза находятся крупные открытые поры. Округлая форма крупных пор повторяет очертание гранул, а размеры (~100–200 мкм в поперечнике) близки к размерам исходных гранул (рис. 6). Отдельные соседствующие крупные поры могут сливаться в макропоры, имеющие больший размер (до ~300–400 мкм) и неправильную форму. Увеличение размера гранул в целом ведет к увеличению размера крупных пор, что видно из рис. 6б, 6в для смесей 2 и 3. При горении смеси 1 с мелкими частицами (3Ni + Al)m размер крупных пор уменьшается, однако при этом в большей степени проявляется склонность к слиянию нескольких соседних пор в более крупные макропоры (рис. 6а). Причина этого – уменьшение толщины прослоек смеси Ti + 2B между мелкими гранулами (3Ni + Al)m в смеси 1. Тонкий слой смеси Ti + 2B при горении может быстрее пропитаться расплавом интерметаллида, возможно, до завершения формирования керамического каркаса. Тонкие прослойки, состоящие из жидкой фазы (Al, Ni, Ti) и небольшого количества твердых фаз (B, TiB, TiB2), способны легче разрушиться под действием сил поверхностного натяжения и выделяющегося примесного газа (преимущественно водорода, содержащегося в титане и боре [61]), что может привести к объединению некоторых пор в более крупные макропоры на месте композитных гранул и крупных частиц титана (рис. 6а). Слияние пор наблюдается преимущественно вблизи оси образцов – в области наиболее высоких температур, достигаемых при их горении.
Рис. 6. Макроструктура TiB2–Ni3Al (шлиф): смеси 1 (а), 2 (б), 3 (в)
Рис. 7. Микроструктура TiB2–Ni3Al (шлиф) и элементный состав (ат. %) в точках: смеси 1 (а, г), 2 (б, д), 3 (в, е)
Рис. 8. Микроструктура TiB2–Ni3Al на изломе и на поверхности пор (а–в) и элементный состав (ат. %) в точках, смесь 1
В синтезированном продукте большая часть мелких (0.1–5 мкм) и часть средних (до 10–20 мкм) пор в каркасе из диборида титана оказываются заполненными алюминидами никеля. Материал имеет структуру пористого композита, в котором керамическая фаза (TiB2) пропитана фазой интерметаллида (Ni3Al) по типу двух взаимопроникающих каркасов. Наблюдается укрупнение кристаллических зерен в диборидной матрице с увеличением размера гранул (3Ni + Al)m в исходных смесях (рис. 7), которое коррелирует с соответствующим ростом tb в волне горения (рис. 2).Размеры кристаллических зерен в диборидной матрице (на фото – темно-серые конгломераты) находятся в субмикронном и микронном диапазонах: ~0.2–1 мкм для смеси 1; ~0.4–2 мкм для смеси 2; ~05–3 мкм для смеси 3. На границах с крупными порами, заполненными алюминидами, кристаллические зерна TiB2 имеют, как правило, в 2–3 раза больший размер, чем на удалении (рис. 7, 8). Такие кристаллиты, по-видимому, зарождались на ранних стадиях синтеза в волне горения – при твердофазной реакции Ti + 2B. После плавления титана эти кристаллиты могли укрупняться в первую очередь. Наиболее равномерное распределение кристаллитов в диборидной матрице наблюдается в продукте синтеза из смеси 1, а наиболее плотно боридные фазы расположены в продукте из смеси 3 (рис. 7). Основной размер прослоек фазы Ni3Al (светло-серого цвета) между кристаллитами диборидного каркаса: ~0.2–0.5 мкм для смеси 1; ~0.3–1 мкм для смеси 2; ~0.2–0.5 мкм для смеси 3. Алюминиды заполняют часть пор среднего размера в продукте синтеза вплоть до ~10 мкм для смеси 1; до 15–20 мкм для смеси 2; до 25–30 мкм для смеси 3. Распределение элементов в продукте синтеза соответствует рассмотренной стадийности физико-химических превращений в волне горения (рис. 7 и 8).
ЗАКЛЮЧЕНИЕ
Целенаправленное формирование высокореакционных смесей на основе системы Ni–Al–Ti–B за счет выбора состава, физического и физико-химического состояния компонентов, их пространственного расположения позволяет влиять на последовательность химических и физических превращений в модельной системе и получить композиционный материал методом СВС. СВС проведен в режиме горения в порошковой смеси бор + титан с добавкой механически активированных композитных гранул (3Ni + Al)m, предварительно спрессованной и структурированной при послойном уплотнении. Синтез в режиме горения характеризуется стадийностью: протекают две основные химические реакции: между Al и Ni в композитных гранулах с образованием алюминидов никеля и между Ti и B с формированием диборидной матрицы; между реагирующими подсистемами на микроуровне происходит взаимный теплообмен по типу “химической печки”.
В высокотемпературных зонах распространяющейся волны горения вокруг каждой из композитных гранул возникает пористый слой диборида титана, в который происходит инфильтрация интерметаллидного расплава. В результате пористая керамическая фаза TiB2 пропитывается интерметаллидом Ni3Al по типу взаимопроникающих фаз.
Синтезированный материал содержит каркасы интерметаллида и керамики с микронным и субмикронным поперечными размерами отдельных фрагментов и обладает развитой разномасштабной пористостью. По своей структуре он является пористым композитам с взаимопроникающими фазами интерметаллид/керамика и металл/керамика (IPCs) и может быть получен в режиме горения в одну технологическую стадию. Подбор дисперсности компонентов позволяет управлять пористой структурой и микроструктурой продукта.
КОНФЛИКТ ИНТЕРЕСОВ
Авторы заявляют, что у них нет конфликта интересов.
About the authors
М. А. Пономарев
Институт структурной макрокинетики и проблем материаловедения им. А.Г. Мержанова Российской академии наук
Author for correspondence.
Email: map@ism.ac.ru
Russian Federation, Черноголовка
В. Э. Лорян
Институт структурной макрокинетики и проблем материаловедения им. А.Г. Мержанова Российской академии наук
Email: map@ism.ac.ru
Russian Federation, Черноголовка
Н. А. Кочетов
Институт структурной макрокинетики и проблем материаловедения им. А.Г. Мержанова Российской академии наук
Email: map@ism.ac.ru
Russian Federation, Черноголовка
References
- Kota N., Charan M.S., Laha T., Roy S. Review on Development of Metal/Ceramic Interpenetrating Phase Composites and Critical Analysis of Their Properties // Ceram. Int. 2022. V. 48. № 2. P. 1451–1483. https://doi.org/10.1016/j.ceramint.2021.09.232
- Hyjek P., Sulima I., Jaworska L. Characteristics of the NiAl/Ni3Al Matrix Composite with TiB2 Particles Fabricated by High Pressure – High Temperature Sintering // Arch. Metall. Mater. 2017. V. 62. № 3. P. 1511–1520. https://doi.org/10.1515/amm-2017-0234
- Shokati A.A., Parvin N., Shokati M. Combustion Synthesis of NiAl Matrix Composite Powder Reinforced by TiB2 and TiN Particulates from Ni–Al–Ti–BN Reaction System // J. Alloys Compd. 2014. V. 585. P. 637–643. https://doi.org/10.1016/j.jallcom.2013.09.020
- Fraś E., Janas A., Kurtyka P., Wierzbiński S. Structure and Properties of Cast Ni3Al/TiC and Ni3Al/TiB2 Composites. Part II. Investigation of Mechanical and Tribological Properties and of Corrosion Resistance of Composites Based on Intermetallic Phase Ni3Al Reinforced with Particles of TiC and TiB2 // Arch. Metall. Mater. 2004. V. 49. № 1. P. 113–141.
- Hayat M.D., Singh H., He Z., Cao P. Titanium Metal Matrix Composites: An Overview // Composites. Part A. 2019. V. 121. P. 418–438. https://doi.org/10.1016/j.compositesa.2019.04.005
- Kumar V.M., Venkatesh C.V. A Comprehensive Review on Material Selection, Processing, Characterization and Applications of Aluminium Metal Matrix Composites // Mater. Res. Express. 2019. V. 6. № 7. Р. 072001. https://doi.org/10.1088/2053-1591/ab0ee3
- Мержанов А.Г., Мукасьян А.С. Твердопламенное горение. М.: Торус Пресс, 2007. 336 с.
- Амосов А.П., Латухин Е.И., Умеров Э.Р. Применение процессов инфильтрации и самораспространяющегося высокотемпературного синтеза для получения керметов. Обзор // Изв. вузов. Цв. металлургия. 2021. Т. 27. № 6. С. 52–75. https://doi.org/10.17073/0021-3438-2021-6-52-75
- Боровинская И.П. К вопросу о регулировании состава, структуры и свойств СВС-продуктов // Концепция развития СВС как области научно-технического прогресса /Под ред. Мержанова А.Г. Черноголовка: Территория, 2003. 368 с. https://www.ism.ac.ru/handbook/shs_concept.pdf
- Левашов Е.А., Рогачев А.С., Курбаткина В.В., Максимов Ю.М., Юхвид В.И. Перспективные материалы и технологии самораспространяющегося высокотемпературного синтеза. М.: МИСиС, 2011. 377 с.
- Алымов М. И., Уваров В. И., Капустин Р. Д., Кириллов А. О., Лорян В. Э. Синтез нанопористых керамических материалов для фильтрации жидкостей и газов методом технологического горения // Изв. вузов. Порошк. металлургия и функц. покрытия. 2020. № 2. C. 55–63. https://doi.org/10.17073/1997-308X-2020-2-55-63
- Ma L., Cui H. Z., Cao L. L., Teng F. L., Cui N., Liu L. The Synthesis of Porous TiC–TiB2–NiAl Composites by SHS // Adv. Mater. Res. 2013. V. 634–638. P. 2110–2118. https://doi.org/10.4028/www.scientific.net/amr. 634-638.2110
- Гуляев П.Ю., Долматов А.В., Милюкова И.В., Ширяев С.А., Трифонов А.Л., Серегин А.Е. Разработка СВС-каталитических материалов на основе наноструктурированных интерметаллидов и цеолитов для решения экологических проблем транспорта // Вестн. Югорского гос. ун-та. 2009. №2 (13). С. 23–28.
- Ayers R., Burkes D., Gottoli G., Yi H.C., Moore J.J. The Application of Self-Propagating High-Temperature Synthesis of Engineered Porous Composite Biomedical Materials // Mater. Manufact. Proc. 2007. V. 22. № 4. P. 481–488. https://doi.org/10.1080/10426910701235967
- Liu P. S., Chen G. F. Fabricating Porous Ceramics // Porous Materials. N.Y.: Elsevier, 2014. P. 221–302. https://doi.org/10.1016/b978-0-12-407788-1.00005-8
- Пономарев М.А., Лорян В.Э. Синтез пористых композиционных материалов при горении смеси порошков титана, сплава ВТ6 и аморфного бора // Неорган. материалы. 2018. Т. 54. № 8. С. 816–822. https://doi.org/10.1134/S0002337X18080158
- Пономарев М.А., Лорян В.Э. Синтез композиционного материала в системе Al–Ti–B при горении порошков титана, бора и плакированных алюминием гранул сплава ВТ6 // Перспект. материалы. 2019. № 3. С. 62–73. https://doi.org/10.30791/1028-978X-2019-3-62-73
- Пономарев М.А., Лорян В.Э. Синтез пористого композиционного материала при горении порошков титана, бора и гранул плакированного никелем алюминия // Изв. вузов. Порошк. металлургия и функц. покрытия. 2020. № 2. С. 44–54. https://doi.org/10.17073/1997-308X-2020-2-44-54
- Пономарев М.А., Лорян В.Э., Кочетов Н.А., Щукин А.С. Синтез композиционного материала при горении порошков титана, бора и механически активированной смеси алюминия и никеля // Неорган. материалы. 2022. Т. 58. № 2. С. 141–149. https://doi.org/10.31857/S0002337X22020117
- Рогачев А.С. Механическая активация гетерогенных экзотермических реакций в порошковых смесях // Успехи химии. 2019. Т. 88. № 9. С. 875–900. https://doi.org/10.1070/RCR4884
- Кочетов Н.А., Ковалев И.Д. Рентгенографическое исследование структурных изменений при механической активации смеси Ni + Al с использованием порошков никеля, полученных разными способами // Неорган. материалы. 2019. Т. 55. № 2. С. 215–218. https://doi.org/10.1134/S0002337X19020052
- Мержанов А.Г. Термически сопряженные процессы самораспространяющегося высокотемпературного синтеза // Докл. Академии наук. 2010. Т. 434. № 4. С. 489–492.
- Корчагин М.А., Григорьева Т.Ф., Бохонов Б.Б., Шарафутдинов М.Р., Баринова А.П., Ляхов Н.3. Твердофазный режим горения в механически активированных СВС-системах I. Влияние продолжительности механической активации на характеристики процесса и состав продуктов горения // Физика. горения и взрыва. 2003. Т. 39. № 1. С. 51–59.
- Кочетов Н.А., Сеплярский Б.С. Зависимости скоростей горения и максимальных температур синтеза от начальной температуры образцов из исходной и активированных смесей Ti + Ni // Хим. физика. 2020. Т. 39. № 9. С. 39–44. https://doi.org/10.31857/S0207401X20090058
- Корчагин М.А., Григорьева Т.Ф., Бохонов Б.Б., Шарафутдинов М.Р., Баринова А.П., Ляхов Н.3. Твердофазный режим горения в механически активированных СВС-системах II. Влияние режимов механической активации на характеристики процесса и состав продуктов горения // Физика. горения и взрыва. 2003. Т. 39. № 1. С. 60–68.
- Осипов Д.А., Смирнов И.В., Гриняев К.В., Дитенберг И.А., Корчагин М.А. Влияние продолжительности механической активации на структуру и механические свойства порошковой смеси 3Ni-Al и образцов Ni3Al, полученных искровым плазменным спеканием // Междунар. конф. “Физическая мезомеханика. Материалы с многоуровневой иерархически организованной структурой и интеллектуальные производственные технологии” (5–9 октября 2020 г.) Томск: Изд-во ТГУ, 2020. С. 296. https://doi.org/10.17223/9785946219242/189.
- Filimonov V. Yu., Korchagin M. A., Smirnov E. V., Sytnikov A. A., Yakovlev V. I., Lyakhov N. Z. Kinetics of Mechanically Activated High Temperature Synthesis of Ni3Al in the Thermal Explosion Mode // Intermetallics. 2011. V. 19. № 7. P. 833–840. https://doi.org/10.1016/j.intermet.2010.11.028
- Корчагин М.А., Григорьева Т.Ф., Баринова А.П., Ляхов Н.З. Твердофазный режим самораспространяющегося высокотемпературного синтеза // Докл. Академии наук. 2000. Т. 372. № 1. С. 40–42.
- Корчагин М.А., Ляхов Н.3. Самораспространяющийся высокотемпературный синтез в механически активированных составах // Хим. физика. 2008. Т. 27. № 1. С. 73–78.
- Корчагин М.А., Филимонов В.Ю., Смирнов Е.В., Ляхов Н.3. Тепловой взрыв механически активированной смеси 3Ni + Al // Физика горения и взрыва. 2010. Т. 46. № 1 С. 48–53.
- White J.D.E., Reeves R.V., Son S.F., Mukasyan A.S. Thermal Explosion in Al−Ni System: Influence of Mechanical Activation // J. Phys. Chem. A. 2009. V.113. № 48. P. 13541–13547. https://doi.org/10.1021/jp905175c
- Lapshin O.V., Boyangin E.N. Macrokinetics of Thermal Explosion in a 3Ni-Al System Mechanically Activated in a Low-Energy Mill // J. Alloys Compd. 2023. V. 948. Р. 169790. https://doi.org/10.1016/j.jallcom.2023.169790
- Biswas A., Roy S.K. Comparison between the Microstructural Evolutions of Two Modes of SHS of NiAl: Key to a Common Reaction Mechanism // Acta Mater. 2004. V. 52. № 2. P. 257–270. https://doi.org/10.1016/j.actamat.2003.08.018
- Pietrak K., Wiśniewski T.S. A Review of Models for Effective Thermal Conductivity of Composite Materials // J. Power Technol. 2015. V. 95. № 1. P. 14–24. https://papers.itc.pw.edu.pl/index.php/JPT/article/view/463. Accessed November 8, 2023.
- Михеев В.А., Сулаберидзе В.Ш., Мушенко В.Д. Моделирование теплопроводности трехкомпонентных композиций // Изв. вузов. Приборостроение. 2016. Т. 59. № 7. С. 584–591. https://doi.org/10.17586/0021-3454-2016-59-7-584-591
- Karkhin V.A. Thermophysical Properties of Metals // Thermal Processes in Welding. Engineering Materials. Singapore: Springer, 2019. P. 41–54 https://doi.org/10.1007/978-981-13-5965-1_2
- Ковалев О.Б., Неронов В.А. Металлохимический анализ реакционного взаимодействия в смеси порошков никеля и алюминия // Физика горения и взрыва. 2004. Т. 40. № 2. С. 52–60.
- Munir Z.A., Anselmi-Tamburini U. Self-Propagating High-Temperature Synthesis of Hard Materials. Handbook of Ceramic Hard Materials/ Ed. Riedel R. N.Y.: Wiley, 2000. P. 322–373. https://doi.org/10.1002/9783527618217.ch11
- Попов Д.А., Огородов Д.В., Трапезников А.В. Альтернативные источники борсодержащего сырья для производства лигатуры Al–B (обзор) // Тр. ВИАМ. 2015. № 10. С. 41–47. https://doi.org/10.18577/2307-6046-2015-0-10-7-7
- Розенбанд В., Гани А. Синтез порошка диборида магния в режиме теплового взрыва // Физика горения и взрыва. 2014. Т. 50. № 6. С. 34–39.
- Ларина Т.В., Перминов В.П., Соснов А.Н., Неронов В.А. Методы получения боридов алюминия и магния // Сб. статей по материалам международного научного конгресса “Интерэкспо Гео-Сибирь” (25 апреля 2007 г.). Новосибирск: Интерэкспо Гео-Сибирь, 2007. Т. 4. № 1. С. 109–112.
- Диаграммы состояния двойных металлических систем. Справочник в 3т./ Под общ. ред. Лякишева Н.П. М.: Машиностроение, 2001.
- Wang K., Fu Z.Y., Wang W.M., Wang Y.C., Wang H., Zhang J.Y., Zhang Q.J. Study on the Thermodynamics and Kinetics in the Combustion Reaction between Titanium and Boron Powders // Key Eng. Mater. 2007. V. 351. P. 189–194. https://doi.org/10.4028/www.scientific.net/kem.351.189
- Gurevich L., Pronichev D., Trunov M. Structure Formation Mechanisms during Solid Ti with Molten Al Interaction // IOP Conf. Ser.: Mater. Sci. Eng. 2016. V. 116. Р. 012011. https://doi.org/10.1088/1757-899X/116/1/012011
- An Q., Cong X., Shen P., Jiang Q. Roles of Alloying Elements in Wetting of SiC by Al // J. Alloys Compd. 2019. V. 784. P. 1212–1220. https://doi.org/10.1016/j.jallcom.2019.01.138
- Zhunkovskii G.L., Grigoriev O.N., Vedel D.V. Interaction of Titanium Diboride with Nickel and Ni–20% Cr Alloy (Nichrome) // Powder Metall. Met. Ceram. 2022. V. 60. № 9–10. P. 586 –596. https://doi.org/10.1007/s11106-022-00271-3
- Ploetz S., Nowak R., Lohmueller A., Sobczak N., Singer R.F. Wettability of Low Weight Borides by Commercial Aluminum Alloys − A Basis for Metal Matrix Composite Fabrication // Adv. Eng. Mater. 2016. V. 18. № 11. P. 1884. https://doi.org/10.1002/adem.201600297
- Xi L., Kaban I., Nowak R., Korpała B., Bruzda G., Sobczak N., Mattern N., Eckert J. High-Temperature Wetting and Interfacial Interaction between Liquid Al and TiB2 Ceramic // J. Mater. Sci. 2015. V. 50. P. 2682–2690. https://doi.org/10.1007/s10853-015-8814-6
- Passerone A., Valenza F., Muolo M.L. A Review of Transition Metals Diborides: from Wettability Studies to Joining // J. Mater. Sci. 2012. V. 47. P. 8275–8289. https://doi.org/10.1007/s10853-012-6621-x
- Дохов М.П., Шериева Э.Х. Смачиваемость тугоплавких боридов непереходными и несколькими переходными металлами группы железа и расчет их межфазных характеристик // Изв. Кабардино-Балкарского гос. ун-та. 2021. Т. 11. № 3. С. 9–15.
- Xi L., Kaban I., Nowak R., Bruzda G., Sobczak N., Eckert J. Wetting, Reactivity, and Phase Formation at Interfaces between Ni–Al Melts and TiB2 Ultrahigh-Temperature Ceramic // J. Am. Ceram. Soc. 2018. V. 101. P. 911–918. https://doi.org/10.1111/jace.15188
- Jin P., Liu Y., Sun Q., Lin Q., Li J., Chen K., Feng J. Wetting of Liquid Aluminum Alloys on Pure Titanium at 873–973 K // J. Mater. Res. Technol. 2019. V. 8. P. 5813–5822. https://doi.org/10.1016/j.jmrt.2019.09.050
- Yang D., Qiu F., Zhao W., Shen P., Wang H., Jiang Q. Effects of Ti-coating Layer on the Distribution of SiCP in the SiCP/2014Al Composites // Mater. Des. 2015. V. 87. P. 1100–1106. https://doi.org/10.1016/j.matdes.2015.09.089
- Mutale C.T., Krafick W.J., Weirauch D.A. Direct Observation of Wetting and Spreading of Molten Aluminum on TiB2 in the Presence of a Molten Flux from the Aluminum Melting Point up to 1033 K (760 °C) // Metall. Mater. Trans. B. 2010. V. 41. P. 1368–1374. https://doi.org/10.1007/s11663-010-9435-8
- Weirauch D.A., Krafick W.J., Ackart G., Ownby P.D. The Wettability of Titanium Diboride by Molten Aluminum Drops // J. Mater. Sci. 2005. V. 40. P. 2301–2306. https://doi.org/10.1007/s10853-005-1949-0
- Padamata S.K., Singh K., Haarberg G.M., Gudrun S. Wettable TiB2 Cathode for Aluminum Electrolysis. A Review // J. Sustain. Metall. 2022. V. 8. P. 613–624. https://doi.org/10.1007/s40831-022-00526-8
- Gabbasov R.M., Shulpekov A.M., Kitler V.D. Capillary Spreading of Copper Melt over SHS-Produced NiAl // Int. J. Self-Propag. High-Temp. Synth. 2020. V. 29. P. 52–54. https://doi.org/10.3103/S1061386220010033
Supplementary files









