Исследование процесса электрохимического синтеза гексаборидов РЗМ в хлоридно-оксидных расплавах
- Authors: 1, 1, 1, 1
-
Affiliations:
- Институт высокотемпературной электрохимии УрО Российской академии наук
- Issue: Vol 59, No 12 (2023)
- Pages: 1402-1408
- Section: Articles
- URL: https://ogarev-online.ru/0002-337X/article/view/252421
- DOI: https://doi.org/10.31857/S0002337X23120035
- EDN: https://elibrary.ru/BENATA
- ID: 252421
Cite item
Full Text
Abstract
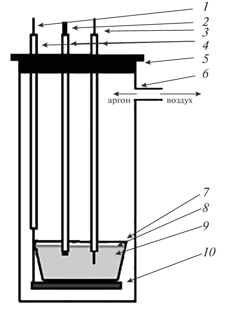
Методами КРС и ИК-спектроскопии исследованы хлоридно-оксидные расплавы, которые использовали для электросинтеза различных боридов кальция и РЗМ. На основании проведенных исследований и анализа литературных данных предложен механизм последовательного перехода твердых оксидов лантаноидов в расплаве хлорида кальция в ионную форму. С помощью хронопотенциометрического метода и циклической вольтамперометрии показано, что образование борида протекает в два этапа. Предложена суммарная реакция, описывающая процесс электрохимического синтеза боридов. Представленный механизм не противоречит законам химической термодинамики и позволяет описать предложенные обменные и электродные реакции.
Keywords
About the authors
Институт высокотемпературной электрохимии УрО Российской
академии наук
Author for correspondence.
Email: malogorka@yandex.ru
Россия, 620990, Екатеринбург, Академическая ул., 20
Институт высокотемпературной электрохимии УрО Российской
академии наук
Email: malogorka@yandex.ru
Россия, 620990, Екатеринбург, Академическая ул., 20
Институт высокотемпературной электрохимии УрО Российской
академии наук
Email: malogorka@yandex.ru
Россия, 620990, Екатеринбург, Академическая ул., 20
Институт высокотемпературной электрохимии УрО Российской
академии наук
Email: malogorka@yandex.ru
Россия, 620990, Екатеринбург, Академическая ул., 20
References
- Matkovich V.I. Boron and Refractory Borides. Heidelberg: Springer, 1977. P. 656. https://doi.org/10.1007/978-3-642-66620-9
- Mengdong M., Xinyu Ya., Hong M., Zhisheng Zh., Julong H., Yanhui Ch. Nanocrystalline High-entropy Hexaboride Ceramics Enable Remarkable Performance as Thermionic Emission Cathodes // Fundam. Res. 2022. № 3. P. 1–9. https://doi.org/10.1016/j.fmre.2022.04.010
- Zhang W., Zhao B., Xiang H., Dai F.-Z., Wu S., Zhou Y. One-Step Synthesis and Electromagnetic Absorption Properties of High Entropy Rare Earth Hexaborides (HE REB6) and High Entropy Rare Earth Hexaborides/Borates (HE REB6/HE REBO3) Composite Powders // J. Adv. Ceram. 2021. V. 10. № 1. P. 62–77. https://doi.org/10.1007/s40145-020-0417-2
- James T., Olivia A. Hexaborides: A Review of Structure, Synthesis and Processing // J. Mater. Res. Technol. 2019. V. 8. № 6. P. 6321–6335. https://doi.org/10.1016/j.jmrt.2019.09.041
- Liu W., Zhang X., Liu H., Li J., Zhou N., Liu Y., Lu Q. Field Emission and Electron Beam Transmission Characteristics of Microtips Array on the (100) Plane of Single-crystal Gadolinium Hexaboride Ceramic // Ceram. Int. 2022 V. 48. № 6. P. 8395–8402. https://doi.org/10.1016/j.ceramint.2021. 12.046
- Chao L., Bao L., Wei W., Tegus O. A Review of Recent Advances in Synthesis, Characterization and NIR Shielding Property of Nanocrystalline Rare – Earth Hexaborides and Tungsten Bronzes // Sol. Energy. 2019. V. 190. P. 10–27. https://doi.org/10.1016/j.solener.2019.07.087
- Schmidt K.M., Jaime O., Cahill J.T., Edwards D., Misture S.T., Graeve O.A., Vasquez V.R. Surface Termination Analysis of Stoichiometric Metal Hexaborides: Insights from First-principles and XPS Measurements // Acta Mater. 2018. V. 144. P. 187–201. https://doi.org/10.1016/j.actamat.2017.10.045
- Bao L., Qi X., Bao T., Tegus O. Structural, Magnetic, and Thermionic Emission Properties of Multi-Functional La1–xCaxB6 Hexaboride // J. Alloys Compd. 2018. V. 731. P. 332–338. https://doi.org/10.1016/j.jallcom.2017.10.065
- Menaka Jh., Rajkumar P., Santanu Gh., Ashok K.G. Vertically Aligned Nanorods of Lanthanum Hexaboride with Efficient Field Emission Properties // Solid State Commun. 2013. V. 153. № 1. P. 35–39. https://doi.org/10.1016/j.ssc.2012.10.007
- Demishev S.V., Gilmanov M.I., Samarin A.N., Semeno A.V., Sluchanko N.E., Samarin N.A., Bogach A.V., Shitsevalova N.Yu., Filipov V.B., Karasev M.S., Glushkov V.V. Magnetic Resonance Probing of Ground State in the Mixed Valence Correlated Topological Insulator SmB6 // Sci. Rep. 2018. V. 8. P. 7125. P. 1–8. https://doi.org/10.1038/s41598-018-25464-y
- Bukatova G., Kuznetsov S. Electrosynthesis of Gadolinium Hexaboride Nanotubes // Electrochem. Commun. 2005. V. 7. № 6. P. 637–641. https://doi.org/10.1016/j.elecom.2005.04.003
- Букатова Г.А., Кузнецов С.А., Гон-Эскар М. Электрохимический Синтез боридов редкоземельных металлов (Eu, Nd) в расплавах солей // Электрохимия. 2007. Т. 43. № 8. С. 978–984.
- Kushkhov H., Mukozheva R., Vindizheva M., Abazova A., Tlenkopachev M. Electrochemical Synthesis of Ceb6 Nanotubes // J. Mater. Sci. Chem. Eng. 2014. № 2. P. 57–62. https://doi.org/10.4236/msce.2014.21010
- Wei W., Mingyong W., Xuzhong G., Zhi W., Dong W., Zhancheng G. Electrochemical Conversions of Soluble Borates to CaB6 with Superior Optical Property in NaCl–CaCl2 // Melt. J. Electrochem. Soc. 2018. V. 165. № 10. P. 477–483.
- Чухванцев Д.О., Филатов Е.С., Шуров Н.И., Роженцев Д.А. Синтез гексаборида лантана в хлоридно-оксидном расплаве // Неорган. материалы. 2021. Т. 57. № 1. С. 16–21. https://doi.org/10.31857/S0002337X21010036
- Чухванцев Д.О., Шуров Н.И., Никитина Е.В., Филатов Е.С. Синтез борида гадолиния в хлоридно-оксидном расплаве // Расплавы. 2022. № 6. С. 651–660. https://doi.org/10.31857/S0235010622060032
- Chukhvantsev D., Filatov E., Shurov N. Electrochemical Synthesis and Characteristics of Calcium Hexaboride Doped with Ln (Ln = Sm, Eu) // Mater. Sci. Eng., B. 2022. V. 284. P. 1–6. https://doi.org/10.1016/j.mseb.2022.115917
- Чернов Я.Б., Филатов Е.С., Закирьянова И.Д., Каримов К.Р., Антонов Б.Д. Взаимодействие в системе CaCl2–B2O3–CаO в расплавленном состоянии // Расплавы. 2015. № 7. С. 58–66.
- Chernov Y., Filatov E., Shurov N., Smolenski V., Tkachev N. Synthesis of Calcium Hexaboride by Electrolysis of Molten Salt // Metall. Mater. Trans. B. 2019. № 4. P. 1745–1751. https://doi.org/10.1007/s11663-019-01626-9
- Ren M., Lin J.H., Dong Y., Yang L.Q., Su M.Z., You L.P. Structure and Phase Transition of GdBO3 // Chem. Mater. 1999. V. 11. № 6. P. 1576–1580. https://doi.org/10.1021/cm990022o
- Szczeszak A., Grzyb T., Lis S., Wiglusz R.J. Revision of Structural Properties of GdBO3 Nanopowders Doped with Eu3+ Ions Through Spectroscopic Studies // Dalton Trans. 2012. V. 41. № 19. P. 5824–5831. https://doi.org/10.1039/c2dt12154a
- Uchida K. Cathodic Behavior in the Electrodeposition of LaB6 // Surf. Technol. 1978. № 7. P. 137–143.
- Барабошкин А.Н. Электрокристаллизация металлов из расплавленных солей. М.: Наука, 1976. С. 380.
Supplementary files









