Molecular and Elemental Compositions of Impurities in Extrapure Selenium
- Authors: Sozin A.Y.1, Skripachev I.V.2, Snopatin G.E.2, Evdokimov I.I.1, Churbanov M.F.1
-
Affiliations:
- Devyatykh Institute of Chemistry of High-Purity Substances, Russian Academy of Sciences
- G.G. Devyatykh Institute of Chemistry of High-Purity Substances, Russian Academy of Sciences
- Issue: Vol 59, No 5 (2023)
- Pages: 534-539
- Section: Articles
- URL: https://ogarev-online.ru/0002-337X/article/view/140165
- DOI: https://doi.org/10.31857/S0002337X23050172
- EDN: https://elibrary.ru/KCDWXA
- ID: 140165
Cite item
Full Text
Abstract
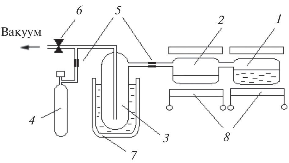
This paper presents additional data on carbon, hydrogen, and oxygen impurities in molecular form in extrapure selenium. Using gas chromatography/mass spectrometry analysis, selenium has been shown for the first time to contain hydrocarbons, halogenated hydrocarbons, and sulfur- and selenium-containing substances. Forty-six elemental impurities were detected in selenium by inductively coupled plasma atomic emission spectroscopy. Data on carbon-, oxygen-, and hydrogen-containing molecular impurities in commercially available extrapure selenium will be helpful in choosing and optimizing methods for its further ultrapurification.
About the authors
A. Yu. Sozin
Devyatykh Institute of Chemistry of High-Purity Substances, Russian Academy of Sciences
Email: Sozin@ihps-nnov.ru
603950, Nizhny Novgorod, Russia
I. V. Skripachev
G.G. Devyatykh Institute of Chemistry of High-Purity Substances, Russian Academy of Sciences
Email: skripachev@ihps-nnov.ru
Russian, 603951, Nizhny Novgorod
G. E. Snopatin
G.G. Devyatykh Institute of Chemistry of High-Purity Substances, Russian Academy of Sciences
Email: skripachev@ihps-nnov.ru
Russian, 603951, Nizhny
I. I. Evdokimov
Devyatykh Institute of Chemistry of High-Purity Substances, Russian Academy of Sciences
Email: iliya@citydom.ru
603951, Nizhny Novgorod, Russia
M. F. Churbanov
Devyatykh Institute of Chemistry of High-Purity Substances, Russian Academy of Sciences
Author for correspondence.
Email: lazukina@ihps-nnov.ru
603137, Nizhny Novgorod, Russia
References
- Чурбанов М.Ф., Скрипачев И.В. Получение высокочистого селена // Высокочистые вещества. 1988. № 5. С. 20–31.
- Калинкин И.П., Алесковский В.Б., Симашкевич А.В. Эпитаксиальные пленки соединений А2В6. Л.: Изд-во ЛГУ, 1978. 311 с.
- Savage J.A. Optical Properties of Chalcogenide Glasses // J. Non-Cryst. Solids. 1982. V. 47. № 1. P. 101–115. https://doi.org/10.1016/0022-3093(82)90349-0
- Гаврищук Е.М. Поликристаллический селенид цинка для инфракрасной оптики // Неорган. материалы. 2003. Т. 9. № 9. С. 1031–1049.
- Карась В.Р. Перспективные материалы для окон СО2-лазеров. Обзорная информация. Серия: Монокристаллы. М.: НИИТЭХИМ и ВНИИ Монокристаллов, 1978. 53 с.
- Кеткова Л.А., Курилин А.В., Чурбанов М.Ф. Определение гетерофазных включений в стеклах, не прозрачных в видимом диапазоне // Неорган. материалы. 2008. Т. 44. № 7. С. 878–882.
- Churbanov M.F., Skripachev I.V., Snopatin G.E., Ketkova L.A., Plotnichenko V.G. The Problems of Optical Loss Reduction in Arsenic Sulfide Glass IR Fibers // Opt. Mater. 2020. V. 102. P. 109812. https://doi.org/10.1016/j.optmat.2020.109812
- Дианов Е.М., Петров М.Ю., Плотниченко В.Г., Сысоев В.Г. Оценка минимальных оптических потерь в халькогенидных стеклах // Квантовая электроника. 1982. Т. 9. №. 4. С. 798–800.
- Селен элементарный марки осч 22-4, осч 17-4б осч 17-3. Технические условия ТУ 6-09-2521-77. Срок введения с 01.01.78.
- Созин А.Ю., Чурбанов М.Ф., Чернова О.Ю., Сорочкина Т.Г., Снопатин Н.Е., Скрипачев И.В., Лесина Ю.А. Идентификация примесей в селене особой чистоты с использованием метода хромато-масс-спектрометрии // Аналитика и контроль. 2019. Т. 23. № 1. С. 96–102.https://doi.org/10.15826/analitika.2019.23.1.007
- Wood D.L., Tauc J. Weak Absorption Tails in Amorphous Semiconductors // Phys. Rev. B. 1972. V. 5. № 3. P. 3144–3155. https://doi.org/10.1103/PhysRevB.5.3144
- Ketkova L.A., Churbanov M.F. Heterophase Inclusions as a Source of Non-Selective Optical Losses in Highpurity Chalcogenide and Tellurite Glasses for Fiber Optics // J. Non-Cryst. Solids. 2018. V. 480. P. 18–22. https://doi.org/10.1016/j.jnoncrysol.2017.09.018
- Березкин В.Г., Королев А.А., Хотимский В.С. Политриметилсилилпропин как адсорбент в капиллярной газовой хроматографии // Докл. АН. 2000. Т. 370. № 2. С. 200–204.
- Крылов В.А., Созин А.Ю., Зорин В.А., Березкин В.Г., Крылов А.В. Хроматомасс-спектрометрическое определение примесей в изотопно-обогащенном силане высокой чистоты // Масс-спектрометрия. 2008. Т. 5. № 4. С. 225–233.
- Fitch W.L., Sauter A.D. Calculation of Relative Electron Impact Total Ionization Cross Sections for Organic Molecules // Anal. Chem. 1983. V. 55. P. 832–835. https://doi.org/10.1021/ac00257a006
- Евдокимов И.И., Пименов В.Г., Фадеева Д.А. АЭС-ИСП анализ высокочистого мышьяка // Аналитика и контроль. 2015. Т. 19. № 1. С. 13–20. https://doi.org/10.15826/analitika.2015.19.1.006
- Вечканов Н.Н., Гурьянов А.Н., Девятых Г.Г., Дианов Е.М., Плотниченко В.Г., Скрипачев И.В., Сысоев В.К., Чурбанов М.Ф. Инфракрасные волоконные световоды из халькогенидных стекол // Квантовая электроника. 1982. Т. 9. №. 2. С. 438–440.
- Shiryaev V.S., Churbanov M.F., Snopatin G.E., Chenard F. Preparation of Low-Loss Core–Clad As–Se Glass Fibers // Opt. Mater. 2015. V. 48 P. 222–225. https://doi.org/10.1016/j.optmat.2015.08.004
Supplementary files




