Substantiation of the Parameters of the Production Technology for Yoghurt with the Addition of Ziziphus Fruits
- Autores: Gerber Y.B.1, Gavrilov A.V.1
-
Afiliações:
- Agrotechnological Academy of the V. I. Vernadsky Crimean Federal University
- Edição: Volume 32, Nº 1 (2022)
- Páginas: 41-53
- Seção: Processes and Machines of Agroengineering Systems
- ##submission.dateSubmitted##: 03.06.2025
- ##submission.dateAccepted##: 03.06.2025
- ##submission.datePublished##: 06.06.2025
- URL: https://ogarev-online.ru/2658-4123/article/view/294873
- DOI: https://doi.org/10.15507/2658-4123.032.202201.041-053
- ID: 294873
Citar
Texto integral
Resumo
Introduction. At present, the issue of production of health-improving dairy products is topical. The aim of the research is to develop the technology of producing dairy with a disired consistency, balanced in vitamins, enriched with microelements and antioxidants and to optimize the parameters of pasteurizing and crushing pips to prevent the shell particles into the product.
Materials and Methods. The object of the study is the technology of producing therapeutic milk-based product, the processes of pasteurization of milk and crushing of the ziziphus component without damaging the stones. For this purpose, it is important to choose the optimal design-mode parameters of the crusher. The methodology of the experiment on the rotary crusher consisted of controlling the rotor speed and the gap between the movable and not movable ribs of the crusher. We proposed a design scheme allowing crushing fruits without damaging the stone.
Results. The obtained data allowed us to formulate recommendations for optimizing the temperature of pasteurization of raw milk materials in terms of forming the specified rheological properties. It is suggested to use pectin-containing ziziphus fruits to form necessary consistency of yogurt (kefir). The kinematic parameters of the device for crushing ziziphus fruits without damage to the stones have been determined.
Discussion and Conclusion. The analysis of the product viscosity dependence on pasteurization temperature shows that the maximum product viscosity is obtained at pasteurization temperature 81–85 °C. To prevent the destruction of the shells of the stones when separating the pulp, the speed of the crusher ribs should not exceed the characteristic speed of the stones, that is in the range from 4.5 to 10.5 m/s.
Palavras-chave
Texto integral
Введение
Кисломолочные продукты (кефир, простокваша) относят к вязким (псевдопластичным) жидкостям. До скоростей сдвига 300 с−1 они имеют ярко выраженную аномалию вязкости, а при более высоких скоростях сдвига ведут себя, как ньютоновские жидкости1. Консистенция молочного продукта (сметана, йогурт, кефир) – очень важный критерий, влияющий на спрос потребителя. Кроме того, все более актуален вопрос о лечебно-профилактическом, оздоровительном действии молочных продуктов.
Цель исследования – разработать технологию производства молочного продукта с заданной консистенцией, сбалансированным витаминным составом, необходимыми микроэлементами, антиоксидантами и оптимизировать параметры процессов пастеризации и дробления косточек без попадания частиц скорлупы в продукт.
Обзор литературы
Предшествующие исследователи определили, что на реологические свойства молочных продуктов (вязкость, пластичность) большое влияние оказывает тепловая обработка. Определена оптимальная температура пастеризации: не более 90 °С. Эксперименты показали, что при повышении температуры показатели реологических параметров снижаются. На текучесть и вязкость молочных продуктов существенное влияние оказывает продолжительность и механическое воздействие в период технологического цикла производства продукта. Было выявлено, что наибольшие разрушения структуры молочных продуктов происходят на начальном этапе деформирования структуры2.
В качестве универсального контролируемого реологического параметра молочных продуктов принята величина эффективной вязкости. Для молочных продуктов, имеющих вязкопластичный характер течения, важно контролировать предельное напряжение сдвига и пластическую вязкость3.
Многолетними исследованиями подтверждено, что консистенция является важным элементом в общей органолептической оценке качества молочных продуктов. Регулировать консистенцию молочных продуктов можно структурообразователями, а также с помощью параметров основных технологических процессов переработки: пастеризация, гомогенизация, нагрев и перемешивание при внесении закваски в линиях производства молочных продуктов, в частности кефира и йогурта [1; 2]. При производстве кисломолочных продуктов получается жидкий неоднородный продукт с отстоем сыворотки [1].
На консистенцию кисломолочных продуктов также оказывают влияние механические воздействия на сырье и полуфабрикат и наличие структурообразователей. Пониженная плотность сырья, а также недостаточное содержание белка не позволяют получить вязкий продукт без отделения сыворотки. Огромное воздействие на консистенцию кисломолочных продуктов оказывают режимы работы технологического оборудования. Вязкость кисломолочных напитков зависит от напряжения и скорости сдвига, температуры, содержания жира и кислотности молочного напитка [1; 2].
Консистенция кисломолочных продуктов также зависит от технологических параметров гомогенизации молока. При увеличении дисперсности шариков жира и мицелл казеина получается готовый продукт с однородной консистенцией и устойчивой структурой. Для того чтобы готовый кисломолочный напиток имел заданную консистенцию и структуру, необходимо правильно подбирать технологические параметры производства, такие как тепловые и механические [2].
Для достижения заданной консистенции и структуры готового продукта перспективным решением является добавление в кисломолочный продукт в качестве компонента измельченных плодов зизифуса, содержащих значительное количество пектина.
Основной проблемой производственной реализации такого способа является сложность отделения мякоти плодов от косточки. Поэтому использовать серийную установку для отделения косточек, например зизифуса, сливы, абрикоса, не представляется возможным. Поэтому необходимо проведение исследований для обоснования конструкции и параметров устройства для отделения косточки зизифуса от мякоти.
Попытка применить типовую технологию к переработке косточковых плодов сталкивается с проблемой выбора дробилки. Использование существующих дробилок, которые были разработаны для измельчения овощей и семечковых культур (валковой, ножевой, барабанной), приводит к повреждению косточек. В связи с этим нежелательные компоненты ядер косточек попадают в полуфабрикат и отрицательно влияют на качество пищевого продукта. Фрагменты косточек закупоривают отверстия перфорации протирочной машины и уменьшают ее производительность. Разрушение косточек не позволяет использовать их как вторичное сырье [3].
Если подвергать тепловой обработке целые фрукты, то приходится увеличивать продолжительность тепловой обработки. Опыты показывают, что при этом теряется до 70 % витамина С и других полезных веществ, а пищевая ценность конечного продукта снижается.
Эффективным направлением решения этой проблемы является усовершенствование и использование в технологической линии переработки косточковых плодов роторной дробилки [3]. Для этого необходимо научно обосновать конструкцию, режимы работы и методы расчета такой дробилки.
Материалы и методы
Выявлено, что с изменением кислотности (рН) среды изменяется структурно-механическая характеристика (СМХ) кисломолочного продукта. При изменении рН от 3,8 до 5,5 вязкость Н (Па∙с), измеренная с помощью вискозиметра Гепплера, уменьшается по экспоненциальному закону:
H = 2 000exp(−2,5 pH). (1)
При рН более 5,3 вязкость составляет 3,6 ∙ 10–3 Па∙с. Для получения кисломолочного напитка с нужным вкусом и консистенцией его необходимо перемешивать при рН 4,3–4,6. Тогда готовый продукт будет иметь прочную структуру и сохранит положительные свойства при дальнейшем технологическом процессе, а именно при воздействии механического оборудования. В результате у продукта будет увеличен срок хранения. Вязкость кефира (йогурта) заданного качества составляет 2,8–3,3 Па∙с при касательном напряжении 970 Па или 1,7–1,8 Па∙с при касательном напряжении 1 980 Па. Таким образом, чтобы получить высококачественный кисломолочный продукт (например йогурт, кефир), необходимо в технологическом процессе контролировать показатель рН и вязкость4.
Также на структуру и консистенцию кисломолочных продуктов, наряду с режимами тепловой обработки, влияет закваска5. Во время пастеризации при пониженных температурах сгусток вялый, а при повышении температуры и увеличении времени нагрева сгусток становится плотным и прочным6 [1; 4; 5]. Это связано с повышением степени гидратации и дезагрегации мицелл казеина и увеличением содержания денатурированных сывороточных белков, что в конечном итоге приводит к тому, что жесткость продукта и способность влагоудержания увеличивается [2; 6–8]. При тепловой обработке выше t = 90 °С не получается приготовить кисломолочный напиток с требуемой консистенцией. Он получается жидким7.
Этап, при котором закваска внесена в сырье, и влияние технологических параметров этого процесса на качество продукта изучены. В научной литературе существуют необходимые рекомендации8. Этап, при котором закваска не внесена в сырье, на данный момент не исследован9.
Чтобы подтвердить гипотезу о влиянии тепловой обработки (температуры пастеризации) исходного сырья на консистенцию готового продукта, был поставлен эксперимент. Его результаты позволяют предложить производству оптимальные параметры работы пастеризационно-охладительной установки для производства кисломолочных напитков (йогурт, кефир) [2; 9–11].
При выборе конструктивно-режимных параметров дробилки для измельчения мякоти зизифуса без повреждения косточек в качестве компонента йогурта необходимо выполнить условие, при котором мякоть измельчается, а косточки остаются неповрежденными [3; 12–15].
Ставится задача изучить процесс измельчения плодов зизифуса и проанализировать влияние процессов на качество измельченной мякоти плода и целостность косточки [16–19].
Исследования проводились в условиях лаборатории переработки молока КФУ имени В. И. Вернадского. Для экспериментов использовали исходное сырье при производстве йогурта. Молоко подавалось на подогрев в пластинчатый пастеризатор (рис. 1).
Fig. 1. Alfa Laval pasteurizer-cooler with measuring unit temperature IT-8TP
Была поставлена задача найти оптимальную температуру процесса пастеризации. Диапазон значений температуры пастеризации, согласно техническим условиям, составляет от 74 до 90 °С. Технические данные установки «Альфа Лаваль» позволили соблюсти указанный интервал. Температурный режим контролировался с помощью изменения количества включенных теплоэлектронагревательных элементов в пастеризационной установке. Температуру выставляли на щите управления, входящем в комплект пастеризационно-охладительной установки «Альфа Лаваль» (рис. 2). Точное значение температуры пастеризации фиксировали с помощью измерительного восьмиканального блока «Тэра».
Fig. 2. Measuring unit of temperature IT-8TP
Результаты исследования
Датчики температуры были установлены на различных секциях пастеризатора, в том числе в зоне секции нагрева, где фиксировалась рабочая температура пастеризации (табл.).
Таблица Данные качественных показателей исследуемого продукта при различных значениях температуры пастеризации по показателю условной вязкости, с
Table Data of qualitative indicators of the investigated product at different values of pasteurization temperature in terms of conditional viscosity, s
Температура сквашивания йогурта, °C / Yogurt mixing temperature, °C | Вариант / Option | ||||
1 | 2 | 3 | 4 | 5 | |
Температура пастеризации йогурта, °С / Yogurt pasteurization temperature, °C | |||||
74,0 | 78,0 | 82,0 | 86,0 | 90,0 | |
30,0 | 77,5 | 97,0 | 147,0 | 100,0 | 68,5 |
35,0 | 75,0 | 90,0 | 130,0 | 85,0 | 64,5 |
40,0 | 67,0 | 78,0 | 100,0 | 70,0 | 60,0 |
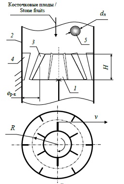
Для проведения экспериментов по режимам дробления косточковых плодов использовалась лабораторно-экспериментальная установка (рис. 3).
4 – неподвижное ребро; 5 – плод
Fig. 3. Diagram of a rotary crusher: 1 – rotor; 2 – case; 3 – movable rib;
Таким образом, учитывая полученные данные, диапазон нагрева 82–85 °С является оптимальным при пастеризации для обеспечения требуемой структуры и оптимизированных энергетических затрат.
Ингредиентом для производства кисломолочного продукта выбран плод зизифус. Плоды зизифуса богаты витаминами C, А, В1, В2, В5, К, Р-активными соединениями, каротиноидами, калием, кальцием, фосфором, магнием, железом, содержат жирное масло. Благодаря витаминам и флавоноидам он обладает антиоксидантными свойствами.
Также зизифус содержит сапонины, являющиеся натуральными противовоспалителями, пектиновые вещества (около 0,5–0,6 % по массе), аскорбиновую кислоту (65–70 мг на 1 000 г). Согласно Т. Ю. Брановицкой, степень этерификации пектина (СЭ) 44 % [9].
Для измельчения плодов зизифуса предлагается применить дробилку с подвижными и неподвижными ребрами. Дробилка состоит из ротора 1, корпуса 2 с зазором между ребрами шириной ер-к и высотой Н (рис. 3). На роторе крепятся вращающиеся ребра 3, а на корпусе – неподвижные ребра 4. Ротор вращается с окружной скоростью v. Плоды 5 поступают в корпус 2 и попадают в зазор между ротором и корпусом, подвергаются ударным воздействиям. Также происходит их защемление между подвижными и неподвижимыми ребрами, вследствие чего происходит их измельчение. Под действием силы тяжести плоды и частицы измельчения проходят через рабочую зону машины и выгружаются.
После проведенного анализа механических свойств плодов и косточек зизифуса было определено, что из воздействующих сил в качестве единицы выбрана наименьшая из них, то есть сила тяжести косточки зизифуса, которая составляет 0,02 Н. На рисунке 4 в логарифмическом масштабе представлено, во сколько раз другие силы превосходят выбранную минимальную силу.
дробилки при переработке плодов: 1 – зизифус; 2 – слива; 3 – абрикос
Fig. 4. Diagram of the relative forces acting on fruits and seeds in the working area of the crusher
during fruit processing: 1 – ziziphus fruits; 2 – plum; 3 – apricot
Установлено, что исследуемые величины сил отличаются друг от друга в 100 000 раз. Определен рабочий диапазон сил, который реализуется в дробилке. Он должен быть больше предела упругости плодов, чтобы измельчить мякоть, и меньше предела упругих деформаций косточек, чтобы сохранить косточки целыми. Из рисунка 4 видно, что при анализе процесса измельчения мякоти плодов зизифуса силами тяжести плодов и косточек можно пренебречь.
Определены силы, которые приводят к измельчению мякоти и повреждению косточек – это силы упругости плодов и косточек.
При столкновении плода (косточки) с подвижными и неподвижными ребрами дробилки примем, что плоды зизифуса и его косточки имеют свойства упругого тела, а ребро машины – абсолютно твердое тело, и его масса превосходит массу плода (косточки).
Рассмотрим следующие показатели:
– скорость плодов vЕп, при которой кинетическая энергия плода mп равняется предельному значению его упругой деформации Еупр.п.:
(2)
– скорость косточки vЕк, при которой кинетическая энергия косточки mк равна предельному значению упругой деформации косточки Еупр.к.
(3)
В итоге конструкцию дробилки можно выразить скоростью vg, которую приобретает частица в результате свободного падения на высоту ротора Н:
(4)
В результате проведенного эксперимента определено, что если нормальная составляющая скорости плода меньше характерной скорости плода относительно ребер, то плод отскакивает от твердой поверхности, если наоборот, то кожица плода повреждается, отделяется частица мякоти, а если скорость больше, то мякоть измельчается, а косточка отделяется. Если относительная скорость косточки меньше характерной скорости косточки, то косточка отскакивает от ребра без повреждений скорлупы. В противном случае возможно разрушение косточки.
На рисунке 5 представлены уровни скоростей дробилки, высота ротора Н = 0,16 м.
1 – зизифус; 2 – слива; 3 – абрикос
Fig. 5. Analysis of the speed regime of crushing stone fruits:
Для того чтобы измельчить мякоть плодов зизифуса и при этом сохранить косточку неповрежденной, скорость ротора дробилки должна составлять от 4,5 до 10,5 м/с (рис. 5).
Обсуждение и заключение
В результате проведенных экспериментов можно сделать заключение, что основными показателями готового кисломолочного напитка являются вязкость и консистенция. Вязкость готового продукта напрямую зависит от температурного режима пастеризации. Установлено, что максимальная вязкость готового продукта достигается при температуре пастеризации 82–85 °С. Если значения температуры превышают указанный диапазон, продукт будет жидкий и иметь структуру в виде крупинок.
Ингредиентом для кисломолочного продукта выбраны плоды зизифуса, которые содержат 8–10 % дубильных веществ, кумарины, флавоноиды, смолы, органические кислоты, среди которых преимущественно яблочная, винная и янтарная кислоты, фолиевая кислота, до 30 % сахаров.
Подготовка зизифуса к внесению в йогурт включает следующие основные операции: приемка, мойка, дробление без повреждения косточек, дозирование, перемешивание. Отделить мякоть плодов от косточек предлагается с помощью роторной дробилки оригинальной конструкции.
В предлагаемой дробилке для измельчения плодов зизифуса происходит разрушение мякоти вследствие ударного действия и сжатие между ребрами корпуса и ребрами вращающегося ротора дробилки. Для того чтобы измельчить мякоть плодов зизифуса и при этом сохранить косточку неповрежденной, скорость ротора дробилки должна составлять от 4,5 до 10,5 м/с.
1 Меркулов М. Ю. Совершенствование и использование методов инженерной реологии для прогнозирования и контроля физико-химических характеристик молочных продуктов в процессе их разработки и производства : дис. ... канд. техн. наук. М., 2003. 226 c. URL: https://www.dissercat.com/content/sovershenstvovanie-i-ispolzovanie-metodov-inzhenernoi-reologii-dlya-prognozirovaniya-i-kontr (дата обращения: 20.12.2021).
2 Там же.
3 Табакаева О. В., Мелькунов В. В. Обоснование использования биологически активного сырья в технологии производства йогурта // Материалы XXI Междунар. науч.-практ. конф. «21 век: фундаментальная наука и технологии». 2019. С. 124–128. URL: https://www.elibrary.ru/item.asp?id=41340218 (дата обращения: 20.12.2021).
4 Там же ; Меркулов М. Ю. Совершенствование и использование методов инженерной…
5 Серазетдинова Ю. Р., Дышлюк Л. С. Разработка технологии производства йогурта, обогащенного экстрактом мяты перечной // Сборник тезисов IX Междунар. науч. конф. студентов, аспирантов и молодых ученых «Пищевые инновации и биотехнологии» в рамках III Международного симпозиума «Инновации в пищевой биотехнологии». Кемерово, 2021. С. 243–245. URL: https://elibrary.ru/item.asp?id=46598094&pff=1 (дата обращения: 20.12.2021).
6 Ермолаев В. А., Гриценко Д., Юрченко В. В. Анализ влияния способа подвода теплоты на процесс вакуумного обезвоживания молочных продуктов // Сборник трудов Международного симпозиума «Инновации в пищевой биотехнологии» ; под общ. ред. А. Ю. Просекова. Кемерово, 2018. С. 290–296. URL: https://elibrary.ru/item.asp?id=35042068 (дата обращения: 20.12.2021).
7 Gabor D., Colombo U., King A. S. Beyond the Age of Waste: A Report to the Club of Rome. 2nd ed. Pergamon, 1981. 258 p. URL: https://www.elsevier.com/books/beyond-the-age-of-waste/gabor/978-0-08-027303-7 (дата обращения: 20.12.2021).
8 Кригер О. В., Сюй В. Разработка поликомпонентного пробиотика на основе лактобактерий, выделенных из национальных кисломолочных продуктов // Сборник трудов Международного симпозиума «Инновации в пищевой биотехнологии» ; под общ. ред. А. Ю. Просекова. Кемерово, 2018. С. 44–47. URL: https://elibrary.ru/item.asp?id=35041989 (дата обращения: 20.12.2021).
9 Козлова О. В., Тултабаева Т. Ч. Совершенствование технологии получения молочно-белковых концентратов, оценка состава и технологических свойств // Сборник трудов Международного симпозиума «Инновации в пищевой биотехнологии» ; под общ. ред. А. Ю. Просекова. Кемерово, 2018. С. 33–44.
Sobre autores
Yuriy Gerber
Agrotechnological Academy of the V. I. Vernadsky Crimean Federal University
Autor responsável pela correspondência
Email: gerber_1961@mail.ru
ORCID ID: 0000-0003-3224-6833
Researcher ID: B-6690-2019
Deputy Director, Head of the Chair of Technology and Equipment for Producing and Processing Livestock Products
Rússia, Agrarnoye, Simferopol 295492Aleksandr Gavrilov
Agrotechnological Academy of the V. I. Vernadsky Crimean Federal University
Email: tehfac@mail.ru
ORCID ID: 0000-0003-3382-0307
Researcher ID: AAH-5137-2019
Acting Dean of the Faculty of Mechanization of Production and Processing Technology of Agricultural Products, Cand.Sci (Engr.)
Rússia, Agrarnoye, Simferopol 295492Bibliografia
- Gerber Yu.В., Gavrilov A.V., Kiyan N.S. Modeling the Process of Heat Treatment of Liquid Products in a Plate Heat Exchanger Using an Integrated Energy-Substituting Installation. Inzhenernyye tekhnologii i sistemy = Engineering Technologies and Systems. 2020; 30(2):200-218. (In Russ., abstract in Eng.) doi: https://doi.org/10.15507/2658-4123.030.202002.200-218
- Gerber Yu.В., Gavrilov A.V. Machine Processing of Milk in Dairy Production. Tekhnika i tekhnologiya pishchevykh proizvodstv = Food Processing: Techniques and Technology. 2019; 3:375-382.(In Russ., abstract in Eng.) doi: https://doi.org/10.21603/2074-9414-2019-3-375-382
- Gavrilov A.V. [Crushing Processes of Stone Fruit Pulp and Stone Damage in a Rotary Crusher].Kholodilnaya tekhnika i tekhnologiya = Refrigeration Engineering and Technology. 2006; (4):112-114.(In Russ.)
- Dorovskih V.I., Dorovskih D.V., al-Lami S.F.H. Justification Criteria for Assessing the Effectiveness of Use Equipment for Primary Processing of Milk. Nauka v tsentralnoy Rossii = Science in the Central Russia. 2016; (5):62-69. Available at: https://elibrary.ru/item.asp?id=27202673 (accessed 20.12.2021).(In Russ., abstract in Eng.)
- Bannikova A.V. New Solutions for Creation of Yogurts Containing Dietary Fibers. Tekhnika i tekhnologiya pishchevykh proizvodstv = Food Processing: Techniques and Technology. 2014;(3):5-10. Available at: https://www.fptt.ru/upload/journals/fptt/34.pdf (accessed 20.12.2021).(In Russ., abstract in Eng.)
- Dolmatova O.I., Krasnozhenova A.V. Study of the Rheological Properties of a Kefir Product. Vestnik Voronezhskogo gosudarstvennogo universiteta inzhenernykh tekhnologiy = Proceedings of the Voronezh State University of Engineering Technologies. 2021; 83(3):73-77. Available at: https://www.vestnik-vsuet.ru/vguit/article/view/2812/4216 (accessed 20.12.2021). (In Russ., abstract in Eng.)
- Krieger O.V., Noskova S.Yu. Properties of Lactic Acid Microorganisms: Long-Term Preservation Methods. Tekhnika i tekhnologiya pishchevykh proizvodstv = Food Processing: Techniques and Technology.2018; (4):30-38. (In Russ., abstract in Eng.) doi: https://doi.org/10.21603/2074-9414-2018-4-30-38
- Brovtsin V.N., Erk A.F. Optimization of Parameters of a Solar Water Heating Installation through Computational Experiment. Tekhnologii i tekhnicheskie sredstva mekhanizirovannogo proizvodstva produktsii rastenievodstva i zhivotnovodstva = Technologies and Technical Means of Mechanized Production of Crop and Livestock Products. 2013; 84:112-125. Available at: https://www.elibrary.ru/item.asp?id=22677098 (accessed 20.12.2021). (In Russ., abstract in Eng.)
- Branovitskаia T.Y., Kozharskiy G.N. Study of the Possibility of Using Ziziphus Fruits in the Production of Jelly Structure Confectionery Products. Uchenye zapiski Krymskogo federalnogo universiteta imeni V. I. Vernadskogo. Biologiya. Khimiya = Scientific Notes of V. I. Vernadsky Crimean Federal University. Biology. Chemistry. 2021; 7(1):243-248. Available at: http://sn-biolchem.cfuv.ru/wp-content/uploads/2021/05/22_Branovitskaya.pdf (accessed 20.12.2021). (In Russ., abstract in Eng.)
- Clapp J., Newell P., Brent Z.W. The Global Political Economy of Climate Change, Agriculture and Food Systems. The Journal of Peasant Studies. 2018; 45(1):80-88. (In Eng.) doi: https://doi.org/10.1080/03066150.2017.1381602
- Govindan K. Sustainable Consumption and Production in the Food Supply Chain: A Conceptual Framework. International Journal of Production Economics. 2018; 195:419-431. (In Eng.) doi: https://doi.org/10.1016/j.ijpe.2017.03.003
- Cai X., Wallington K., Shafiee-Jood M., Marston L. Understanding and Managing the Food-Energy-Water Nexus – Opportunities for Water Resources Research. Advancesin Water Resources. 2018;111:259-273. (In Eng.) doi: https://doi.org/10.1016/j.advwatres.2017.11.014
- Prosekov A.Y., Ivanova S.A. Food Security: the Challenge of the Present. Geoforum. 2018;91:73-77. (In Eng.) doi: https://doi.org/10.1016/j.geoforum.2018.02.030
- Gladyshev P.P., Filin S.V., Puzynin A.I., et al. Thin Film Solar Cells Based on CdTe and Cu(In,Ga)Se2 (CIGS) Compounds. Journal of Physics: Conference Series. 2006; 291. (In Eng.) doi: https://doi.org/10.1088/1742-6596/291/1/012049
- Tepe K., Agbenotowossi K., Djeteli G., et al. Determination of Basic Parameters of Solar Panels.Alternative Energy and Ecology. 2010; (2):22-27. Available at: https://elibrary.ru/item.asp?id=14671143 (accessed 20.12.2021). (In Eng.)
- Burdo O., Bandura V., Zykov A., et al. Development of Wave Technologies to Intensify Heat and Mass Transfer Processes. Technology and Equipment of Food Production. 2017; 4(11):34-42. (In Eng.)doi: https://doi.org/10.15587/1729-4061.2017.108843
- Burdo O.G., Bandura V.N., Levtrinskaya Yu.O. Electrotechnologies of Targeted Energy Delivery in the Processing of Food Raw Materials. Surface Engineering and Applied Electrochemistry. 2018;54(2):210-218. (In Eng.) doi: https://doi.org/10.3103/S1068375518020047
- Sabarez H.T. Thermal Drying of Foods. In: Rosenthal A., Deliza R., Welti-Chanes J., Barbosa-Cánovas G. (eds.). Fruit Preservation. Food Engineering Series. New York: Springer; 2018. (In Eng.) doi:https://doi.org/10.1007/978-1-4939-3311-2_7
- Kumar C., Karim M.A. Microwave-Convective Drying of Food Materials: A Critical Review.Critical Reviews in Food Science and Nutrition. 2019; 59(3):379-394. (In Eng.) doi: https://doi.org/10.1080/10408398.2017.1373269
Arquivos suplementares






